Unpacking and Installing the Chassis

This chapter describes how to unpack and install the chassis into a rack.

Pre-Installation Considerations and Requirements

Before you perform any procedures in this chapter, review the following sections:

Observe the guidelines for preventing electrostatic discharge (ESD) damage described in Preventing Electrostatic Discharge Damage.

See the Regulatory Compliance and Safety Information for the Cisco ASR 9000 Series Router document for additional safety and compliance information,


Caution


This router is not designed to be installed as a shelf-mounted or a free-standing router. The router must be installed in a rack that is secured to the building structure. You must install the router in either a telco-style frame or a 4-post equipment rack.

Installation Overview

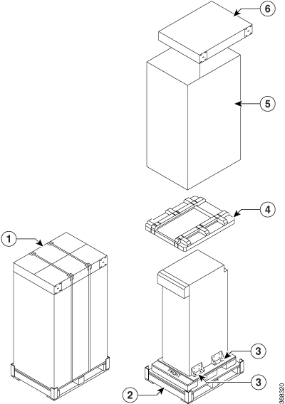
The following figure shows how the Cisco ASR 9010 Router is shipped and strapped to a shipping pallet.

Figure 1. Cisco ASR 9010 Router Packaged on a Shipping Pallet

A fully equipped router with six power modules can weigh as much as 375 lbs (170.5 kg); an empty chassis weighs 150 lbs (67.8 kg). The chassis is designed to be lifted by two persons after you remove some of the components, such as line cards, power supplies, and the fan tray, to reduce the weight before lifting the chassis. See Removing Components Before Installing the Chassis for procedures to remove these components.

Required Tools and Equipment

Before you begin the rack-mount installation, you must read and understand the information in the Rack-Mounting and Air Flow Clearance Guidelines, page 1-24 , and have the following tools and equipment:

  • ESD-preventive wrist strap

  • Number 1 and number 2 Phillips screwdrivers

  • 1/4-inch (6.35-mm) and 3/16-inch (4.5-mm) flat-blade screwdrivers

  • Tape measure

  • Level (optional)

  • Minimum of 10 slotted binderhead screws (usually provided with the rack) to secure the chassis to the mounting flanges (also called rails ) in the rack. Five screws should be installed on each side of the chassis.

  • 11/16-inch (17.46-mm) wrench (for chassis hold-down bolts and pallet hold-down bracket bolts)

  • 3/4-inch (19-mm) socket and ratchet wrench

Unpacking the Router

The following instructions describe how to unpack the Cisco ASR 9000 Series Router from its shipping container.

Unpacking the Cisco ASR 9006 Router

Follow these steps to unpack the Cisco ASR 9006 Router from its shipping container (see the figure below).

Procedure


Step 1

Cut the straps that secure the cardboard shipping container to the pallet.

Step 2

Remove the cardboard shipping container.

Step 3

Remove the packaging material (see the figure below).

  1. Remove the foam packaging material from the top of the router.

  2. Remove all screws that secure the four hold-down brackets to the router chassis. The forward hold-down brackets are secured to the router mounting brackets by two screws. The rear hold-down brackets are secured to the chassis by four screws.

  3. Remove two bolts per hold-down bracket that secure the brackets to the pallet.

    Figure 2. Unpacking the Cisco ASR 9006 Router from the Shipping Container and Pallet

    1

    Top cardboard packaging cap

    4

    Cardboard packaging container

    7

    Chassis accessories

    2

    Three packaged power modules

    5

    Cardboard accessory tray

    8

    Foam packaging material- top cap

    3

    Cardboard packaging dividers

    6

    Accessories and power cables

    9

    Hold-down brackets (four places)

Step 4

Remove components, such as line cards, power supplies, and the fan tray, to reduce the weight before lifting or moving the chassis. See Removing Components Before Installing the Chassis for more information.

Step 5

Save the packaging materials in case the router needs repackaging or shipping.


Unpacking the Cisco ASR 9010 Router

Follow these steps to unpack the Cisco ASR 9010 Router from its shipping container.

Procedure


Step 1

Cut the straps that secure the cardboard shipping container to the pallet.

Step 2

Remove the cardboard shipping container.

Step 3

Remove the packaging material.

  1. Remove the foam packaging material from the top of the router.

  2. Remove all screws that secure the four hold-down brackets to the router chassis. The forward hold-down brackets are secured to the router mounting brackets by two screws. The rear hold-down brackets are secured to the chassis by four screws. Save these four screws used to hold the rear bracket to the chassis to use later to attach the ground strap.

Step 4

Remove two bolts per hold-down bracket that secure the brackets to the pallet.

Figure 3. Unpacking the Cisco ASR 9010 Router from the Shipping Container and Pallet

1

Foam packaging material- top cap

2

Front hold-down bracket secured by two screws to the chassis mounting brackets, and by two bolts to the pallet (two places)

3

Rear hold-down bracket secured by four screws to the chassis, and by two bolts to the pallet (two places)

Step 5

Remove components, such as line cards and the fan tray, to reduce the weight before lifting or moving the chassis. See the Removing Components Before Installing the Chassis for more information.

Step 6

Save the packaging materials in case the router needs repackaging or shipping.


Unpacking the Cisco ASR 9904 Router

Follow these steps to unpack the Cisco ASR 9904 Router from its wooden shipping container.

Procedure


Step 1

Cut the straps that secure the cardboard shipping container to the pallet.

Step 2

Remove the corrugated top shipping container.

Step 3

Remove the accessories and corrugated packing accessory tray.

Step 4

Remove the packing material (see the figure below).

  1. Remove the foam packaging material from the top of the router.

  2. Remove the plastic covering from the router and remove it from the bottom foam.

    Figure 4. Unpacking the Cisco ASR 9904 Router from the Shipping Container and Pallet

    1

    Shipping pallet

    4

    Foam packaging material(top cap)

    7

    Cardboard shipping container

    2

    Top corrugated packaging cap

    5

    Foam packaging material (bottom cap)

    3

    Corrugated packaging accessory tray

    6

    Corrugated packaging (lower tray)

Step 5

Remove components, such as line cards, power supplies, and the fan tray, to reduce the weight before lifting or moving the chassis. See Removing Components Before Installing the Chassis for more information.

Step 6

Save the packaging materials in case the router needs repackaging or shipping.


Unpacking the Cisco ASR 9906 Router

Follow these steps to unpack the Cisco ASR 9906 Router from its shipping container (see the figure below).

Procedure


Step 1

Cut the straps that secure the cardboard shipping container to the pallet.

Step 2

Remove the three connecting clips.

Step 3

Remove the cardboard shipping container.

Step 4

Remove the accessory tray and chassis accessories.

Step 5

Remove the packaging material (see the figure below).

  1. Remove the foam packaging material from the top of the router.

  2. Remove all screws that secure the two hold-down brackets to the router chassis.

  3. Remove four bolts per hold-down bracket that secure the brackets to the pallet.

    Figure 5. Unpacking the Cisco ASR 9906 Router from the Shipping Container and Pallet

    1

    Straps

    5

    Shipping pallet

    2

    Connecting clips

    6

    Hold-down bracket and screws

    3

    Top cardboard packaging cap

    7

    Cardboard accessory tray and chassis accessories

    4

    Foam packaging material

    8

    Cardboard packaging container

Step 6

Remove components, such as line cards, power supplies, and the fan tray, to reduce the weight before lifting or moving the chassis. See Removing Components Before Installing the Chassis for more information.

Step 7

Save the packaging materials in case the router needs repackaging or shipping.


Unpacking the Cisco ASR 9910 Router

Follow these steps to unpack the Cisco ASR 9910 Router from its shipping container.

Procedure


Step 1

Cut the straps that secure the cardboard shipping container to the pallet.

Step 2

Remove the cardboard shipping container.

Step 3

Remove the packaging material (see the figure below).

  1. Remove the foam packaging material from the top of the router.

  2. Remove all screws that secure the two brackets to the router chassis. Save these screws used to hold the bracket to the chassis to use later to attach the ground strap.

Step 4

Remove two bolts per hold-down bracket that secure the brackets to the pallet.

Figure 6. Unpacking the Cisco ASR 9910 Router from the Shipping Container and Pallet

Step 5

Remove components, such as line cards and the fan tray, to reduce the weight before lifting or moving the chassis. See Removing Components Before Installing the Chassis for more information.

Step 6

Save the packaging materials in case the router needs repackaging or shipping.


Unpacking the Cisco ASR 9912 Router

Follow these steps to unpack the Cisco ASR 9912 Router from its wooden shipping container.

Procedure


Step 1

Cut the straps that secure the cardboard shipping container to the pallet.

Step 2

Remove the cardboard shipping container.

Step 3

Remove the packaging material (see the figure below).

  1. Remove the foam packaging material from the top of the router.

  2. Remove all screws that secure the four brackets to the router chassis. Save these screws used to hold the bracket to the chassis to use later to attach the ground strap.

  3. Remove two bolts per hold-down bracket that secure the brackets to the pallet.

Figure 7. Unpacking the Cisco ASR 9912 Router from the Shipping Container and Pallet

1

Straps

4

Foam packaging material

2

Shipping pallet

5

Cardboard packaging container

3

Hold-down brackets and screws

6

Top cardboard packaging cap

Step 4

Remove components, such as line cards and the fan tray, to reduce the weight before lifting or moving the chassis. See Removing Components Before Installing the Chassis for more information.

Step 5

Save the packaging materials in case the router needs repackaging or shipping.


Unpacking the Cisco ASR 9922 Router

Follow these steps to unpack the Cisco ASR 9922 Router from its wooden shipping container.

Procedure


Step 1

Remove any strapping on the outside of the crate.

Step 2

Remove the crate cap door. Disengage the twist locks located along the bottom first. Then, disengage the twist locks located along the sides, working your way up from the bottom to the top. Refer to the right and middle figures in Unpacking the Cisco ASR 9922 Router from the Shipping Container.

Step 3

Remove the crate cap. Disengage the twist locks located around the bottom of the crate cap (Unpacking the Cisco ASR 9922 Router from the Shipping Container).

Note

 
Two people are required to evenly slide the crate cap back off of the plastic pallet base.

Step 4

Remove the foam packaging material from the top of the router.

Figure 8. Unpacking the Cisco ASR 9922 Router from the Shipping Container

Step 5

Using a 5/16” wrench or ratchet, remove the four attachment bolts and cross-brace from the shipping rack (see the figure below).

Figure 9. Cross-brace and Attachment Bolts on the Shipping Rack

Step 6

Use a Phillips screwdriver to unscrew the rear mounting flange from the system and rack.

Step 7

Use a Phillips screwdriver to unscrew the front mounting flange from the rack.

Step 8

Remove two bolts per hold-down bracket that secure the brackets to the pallet (see the figure below).

Figure 10. Hold-Down Brackets on the Cisco ASR 9922 Router Shipping Pallet

Note

 
Do not unbolt the shipping rack from the pallet.

Step 9

Save the rear brackets and screws from the shipping packaging for reuse in rack mounting of the chassis (see the figure below).

Note

 
The two guide rails at the bottom of the rack come in the ASR-9922-ACC-KIT accessory kit.
Figure 11. Rack Mount Installation Kit for the Cisco ASR 9922 Router

Step 10

Remove components, such as line cards and fan trays, to reduce the weight before lifting or moving the chassis. See Removing Components Before Installing the Chassis for procedures showing how to remove these components.

Step 11

Save the packaging materials in case the router needs to be repackaged for shipping.


Positioning the Router

Positioning the Cisco ASR 9006 Router, Cisco ASR 9010 Router, Cisco 9904 Router, Cisco ASR 9906 Router, Cisco ASR 9910 Router, and Cisco ASR 9912 Router

Use a safety hand truck to move the Cisco ASR 9006 Router, Cisco ASR 9010 Router, Cisco ASR 9904 Router, Cisco ASR 9906 Router, Cisco ASR 9910 Router, or Cisco ASR 9912 Router to its final location for rack installation.

Positioning the Cisco ASR 9922 Router

The Cisco ASR 9922 Router ships in a carton similar to the CRS-1 16-Slot shipping carton. Each chassis is installed in a shipping rack used only for shipping purposes. Remove the chassis from the shipping rack before installing it into the rack.

To prepare the 19-inch 45-RU rack:

Procedure

Step 1

Install the two guide rails onto the bottom of the rack.

The guide rails are included with the ASR-9922-ACC-KIT accessory kits. Each accessory kit ships with the chassis and includes the guide rails, grounding lug, associated hardware, and a warranty card.

Step 2

Use screws to fasten these two guide rails onto the front and rear rails of the rack.

The two guide rails at the bottom of the rack (Unpacking the Cisco ASR 9922 Router) have six holes (three per rail) that accommodate 12-24 or M6 screws. If you are using smaller 10-32 screws, you must use bushings to fit the larger holes (see the figure below).

Figure 12. One 10-32 Screw with Bushings in Guide Rail Holes

Note

 
Delrin bushings with part number 17234-D-1 can be obtained from ASM at www.accuratescrew.com.

Step 3

Remove the shipping carton, plastic covering, rear brackets, attachment screws and bolts, shipping rack bar, and any cosmetic accessories included with the chassis.

Step 4

Use a scissors jack to remove the chassis from the shipping rack. Place a pallet jack next to the chassis inside the shipping rack and push/pull the chassis onto the pallet jack for transport to the rack.

Caution

 

Tilt the chassis only when absolutely necessary. The chassis is large and heavy. If it were to fall, it could cause harm to itself and its surroundings. Before attempting to tilt the chassis, reduce the weight of the system by removing all of the components in the chassis. The chassis should then be tilted in a direction so that the rear of the chassis is facing downward. The distance the chassis travels without its packaging should be as short as possible.

Step 5

On the rear of the chassis is an integrated handle which is used to pull the chassis from the pallet jack into the rack where the chassis is to be installed. Position the chassis so that the rear handle is facing the front of the rack.

Step 6

From the rear of the rack, pull the chassis by the handle into the rack, making sure that the chassis sits on top of the guide rails in the rack.

Step 7

Once the chassis is pulled into the rack and sits on top of the guide rails, use screws to fasten the chassis to the rack.


Removing Components Before Installing the Chassis

The Cisco ASR 9000 Series Routers are designed to be lifted for mounting into a rack. To reduce the weight of the system, you must remove some of the components before attempting to mount it into the rack.

Removing Fan Trays


Note


If an accessory grill or fan tray cover is installed on the front of the router, you must remove it first.

Removing a Fan Tray from the Cisco ASR 9010 Router, Cisco 9910 Router, Cisco ASR 9922 Router, and Cisco ASR 9912 Router

Follow these steps to remove a fan tray from the Cisco ASR 9010 Router (Removing or Installing the Fan Tray on the Cisco ASR 9010 Router Chassis), Cisco ASR 9910 Router (Removing or Installing the Fan Tray on the Cisco ASR 9910 Router Chassis), Cisco ASR 9922 Router (Removing or Installing the Fan Tray on the Cisco ASR 9922 Router Chassis), or Cisco ASR 9912 Router (Removing or Installing the Fan Tray on the Cisco ASR 9912 Router Chassis).


Note


If an accessory grill is installed on the front of the Cisco ASR 9010 Router, remove the grill by pulling it towards you until it comes loose. See Installing Base Chassis Accessories on the Cisco ASR 9010 Router and Installing Base Chassis Accessories on the Cisco ASR 9010 Router for information.

Note


If a fan tray cover is installed on the front of the Cisco ASR 9922 Router, remove the fan tray cover by pulling on the cover until it comes loose. See Removing a Fan Tray from the Cisco ASR 9010 Router, Cisco 9910 Router, Cisco ASR 9922 Router, and Cisco ASR 9912 Router for more information.

Note


On the Cisco ASR 9922 Router, the third and fourth fan trays (under the middle cage) are installed upside down compared to the first and second fan trays (above the middle cage).
Procedure

Step 1

Loosen the captive screw on each side of the fan tray.

Step 2

Using the handle on the front panel, pull the fan tray halfway out of the chassis.

Note

 
Wait a few seconds for all the fans to stop rotating before lifting the fan tray from the chassis.

Step 3

Slide out the fan tray completely from the chassis while supporting it with your other hand.

Caution

 

Use two hands when handling the fan tray. Each version 1 fan tray weighs about 16 pounds (7.27 kg). Each version 2 fan tray weighs about 18 pounds (8.18 kg).

Figure 13. Removing or Installing the Fan Tray on the Cisco ASR 9010 Router Chassis
Figure 14. Removing or Installing the Fan Tray on the Cisco ASR 9910 Router Chassis
Figure 15. Removing or Installing the Fan Tray on the Cisco ASR 9922 Router Chassis
Figure 16. Removing or Installing the Fan Tray on the Cisco ASR 9912 Router Chassis

Removing a Fan Tray from the Cisco ASR 9006 Router

Follow these steps to remove a fan tray from the Cisco ASR 9006 Router (see the figure below).

Procedure

Step 1

Loosen the captive screw that secures the fan tray door to the chassis and open the door.

Step 2

Loosen the captive installation screw on the front of the fan tray you want to remove.

Step 3

Using the handle on the front panel, pull the fan tray halfway out of the chassis.

Note

 
Wait a few seconds for all the fans to stop rotating before lifting the fan tray from the chassis.

Step 4

Slide out the fan tray completely from the chassis while supporting it with your other hand.

Caution

 

Use two hands when handling the fan tray. The fan tray weighs about 7.6 pounds (3.45 kg).

Figure 17. Removing or Installing the Fan Tray on the Cisco ASR 9006 Router Chassis

Removing a Fan Tray from the Cisco ASR 9904 Router

Follow these steps to remove a fan tray from the Cisco ASR 9904 Router (see the figure below).

Procedure

Step 1

Loosen the three captive installation screws on the front of the fan tray.

Step 2

Using the handle on the front panel, pull the fan tray halfway out of the chassis.

Step 3

Wait a few seconds for all the fans to stop rotating before lifting the fan tray from the chassis.

Step 4

Slide out the fan tray completely from the chassis while supporting it with your other hand.

Caution

 

Use two hands when handling the fan tray. The fan tray weighs about 11.0 pounds (4.99 kg).

Figure 18. Removing or Installing the Fan Tray on the Cisco ASR 9904 Router Chassis

Removing a Fan Tray from the Cisco ASR 9906 Router

Follow these steps to remove a fan tray from the Cisco ASR 9906 Router (see the figure below).

Procedure

Step 1

Loosen the screws that secure the fan tray door to the chassis and open the door.

Step 2

Loosen the captive installation screw on the front of the fan tray.

Step 3

Using the handle on the front panel, pull the fan tray halfway out of the chassis.

Step 4

Wait for all the fans to stop rotating.

Step 5

Slide out the fan tray completely from the chassis while supporting it with your other hand.

Caution

 
Use two hands when handling the fan tray. The fan tray weighs about 8.0 pounds (3.63 kg).
Figure 19. Removing or Installing the Fan Tray on the Cisco ASR 9906 Router Chassis

Removing Cards from the Chassis

To reduce additional weight from the chassis, you can remove all Route Switch Processor (RSP), Route Processor (RP), Switch Fabric Card (FC), shared port adapter (SPA), SPA interface processor (SIP), and line cards (LCs).

This section describes how to remove the RSP cards, RP cards, FCs, and LCs. For information about removing SPA and SIP cards, see:

Cisco ASR 9000 Series Aggregation Services Router SIP and SPA Hardware Installation Guide


Caution


Handle all cards by the metal card carrier edges only; avoid touching the board or any connector pins. After removing a card, carefully place it in an antistatic bag or similar environment to protect it from ESD and dust in the optic ports (fiber-optic line cards).



Caution


Be careful to avoid damaging the electromagnetic interference (EMI) gasket that runs along the full height of the card front panel edge. Damage to the EMI gasket can affect the ability of your system to meet EMI requirements.



Caution


To avoid damaging card mechanical components, never carry a card by the captive installation screws or ejector levers. Doing so can damage these components and cause card insertion problems.


Removing RSP Cards and Line Cards from the Cisco ASR 9006, 9010, 9904, 9906, and 9910 Routers

This section describes how to remove RSP and line cards from the Cisco ASR 9006 Router, Cisco ASR 9010 Router, Cisco ASR 9904 Router, Cisco ASR 9906 Router, and Cisco ASR 9910 Router. The below table and Table 1) and describe the router components and slot numbering for each router.

Table 1. Router Components and Slot Numbering for the Cisco ASR 9006 Router, Cisco ASR 9010 Router, Cisco ASR 9904 Router, Cisco ASR 9906 Router, and Cisco ASR 9910 Router

Router Model Number

Router Components and Slot Numbering

Cisco ASR 9006 Router

Cisco ASR 9010 Router

Cisco ASR 9904 Router

Cisco ASR 9906 Router

Cisco ASR 9910 Router

Figure 20. Cisco ASR 9006 Router Components and Slot Numbering with Version 1 Power System
Figure 21. Cisco ASR 9006 Router Components and Slot Numbering with Version 2 DC Power System
Figure 22. Cisco ASR 9010 Router Components and Slot Numbering with Version 1 Power System or Version 3 AC Power System
Figure 23. Cisco ASR 9010 Router Components and Slot Numbering with Version 2 Power System or Version 3 DC Power System
Figure 24. Cisco ASR 9904 Router Components and Slot Numbering with Version 2 DC Power System
Figure 25. Cisco ASR 9906 Router Components and Slot Numbering with Version 3 AC Power System
Figure 26. Cisco ASR 9906 Router Components and Slot Numbering with Version 3 DC Power System
Figure 27. Cisco ASR 9910 Router Components and Slot Numbering with Version 3 AC Power System
Figure 28. Cisco ASR 9910 Router Components and Slot Numbering with Version 3 DC Power System
Figure 29. Cisco ASR 9906 Router Components and Slot Numbering for Fabric Cards
Figure 30. Cisco ASR 9910 Router Components and Slot Numbering for Fabric Cards

Follow these steps to remove RSP and line cards from the chassis.

Procedure

Step 1

Refer to the above figures to identify each card and write down the card type and slot number on a piece of paper. You will need this information when you reinstall the cards in the chassis to be sure you reinstall each card in its original slot.

Step 2

To remove a card starting at the lowest numbered slot:

  1. Use a screwdriver to loosen the captive screws at the ends of the line card front panel.

  2. Pivot the ejector levers to unseat the card from the backplane connector.

  3. Slide the card out of the slot and place it directly into an antistatic bag or other ESD-preventive container.

    Figure 31. Removing a Line Card from the Cisco ASR 9006 Router Chassis

    a

    Loosen the captive screws.

    b

    Pivot the ejector levers to unseat the card from the backplane connector.

    c

    Slide the card out of the chassis.

    Figure 32. Removing a Line Card from the Cisco ASR 9010 Router Chassis

    a

    Loosen the captive screws.

    b

    Pivot the ejector levers to unseat the card from the backplane connector.

    c

    Slide the card out of the chassis.

    Figure 33. Removing a Line Card from the Cisco ASR 9904 Router Chassis

    a

    Loosen the captive screws.

    b

    Pivot the ejector levers to unseat the card from the backplane connector.

    c

    Slide the card out of the chassis.

    Figure 34. Removing a Line Card from the Cisco ASR 9906 Router Chassis

    a

    Loosen the captive screws.

    b

    Pivot the ejector levers to unseat the card from the backplane connector.

    c

    Slide the card out of the chassis.

    Figure 35. Removing a Line Card from the Cisco ASR 9910 Router Chassis

Step 3

Repeat for each RSP or line card.


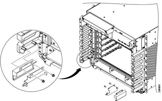
Removing RP Cards, Fabric Cards, and Line Cards from the Cisco ASR 9922 Router and Cisco ASR 9912 Router

This section describes how to remove the Route Processor (RP) cards, Fabric Card (FC), and Line Cards (LCs) from the Cisco ASR 9922 Router and Cisco ASR 9912 Router. The table below describes the components and slot numbering for each router.

Table 2. Router Components and Slot Numbering for the Cisco ASR 9922 Router and Cisco ASR 9912 Router

Router Model Number

Router Components and Slot Numbering

Cisco ASR 9922 Router

Cisco ASR 9912 Router

Figure 36. Cisco ASR 9922 Router Components and Slot Numbering with Version 2 DC Power System
Figure 37. Cisco ASR 9922 Router Components and Slot Numbering with Version 3 DC Power System
Figure 38. Cisco ASR 9922 Router Components and Slot Numbering with Version 2 AC Power System
Figure 39. Cisco ASR 9922 Router Components and Slot Numbering with Version 3 AC Power System
Figure 40. Cisco ASR 9912 Router Components and Slot Numbering with Version 2 DC Power System
Figure 41. Cisco ASR 9912 Router Components and Slot Numbering with Version 3 AC Power System

Follow these steps to remove RP cards, FCs, and LCs from the Cisco ASR 9922 Router and Cisco ASR 9912 Router chassis.

Procedure

Step 1

Use Cisco ASR 9912 Router Components and Slot Numbering with Version 2 DC Power System or Cisco ASR 9912 Router Components and Slot Numbering with Version 3 AC Power System to identify each card and then write down the card type and slot number on a piece of paper. You will need this information when you reinstall the cards in the chassis to be sure you reinstall each card in its original slot.

Step 2

To remove a FC card (see the figure below) or Removing a Switch Fabric Card from the Cisco ASR 9912 Router Chassis), starting at the lowest numbered slot:

  1. Remove the air filter covering the front of the middle cage.

  2. Use a screwdriver to loosen the captive screws at the ends of the FC front panel.

  3. Push in both ejector lever release buttons.

    Note

     
    Once any ejector lever release button is pushed in, the FC must by physically removed and reinserted (OIR) to restart the FC.
  4. Pivot the ejector levers to unseat the FC from the backplane connector.

  5. Slide the FC out of the slot and place it directly into an antistatic bag or other ESD-preventive container.

    Figure 42. Removing a Switch Fabric Card from the Cisco ASR 9922 Router Chassis

    a

    Loosen the captive screws.

    c

    Pivot the ejector levers outward to unseat the card from the backplane connector.

    b

    Push in both ejector lever release buttons.

    d

    Slide the card out of the chassis.

    Figure 43. Removing a Switch Fabric Card from the Cisco ASR 9912 Router Chassis

    a

    Loosen the captive screws.

    c

    Pivot the ejector levers outward to unseat the card from the backplane connector.

    b

    Push in both ejector lever release buttons.

    d

    Slide the card out of the chassis.

Step 3

To remove a RP or line card (see the figure below or Removing a Line Card from the Cisco ASR 9912 Router Top Card Cage ), starting at the lowest numbered slot:

  1. Use a screwdriver to loosen the captive screws at the ends of the line card front panel.

  2. Pivot the ejector levers to unseat the card from the backplane connector.

  3. Slide the card out of the slot and place it directly into an antistatic bag or other ESD-preventive container.

    Figure 44. Removing a Line Card from the Cisco ASR 9922 Router Top Card Cage

    a

    Loosen the captive screws.

    b

    Pivot the ejector levers outward to unseat the card from the backplane connector.

    c

    Slide the card out of the chassis.

    Figure 45. Removing a Line Card from the Cisco ASR 9912 Router Top Card Cage

    1

    Loosen the captive screws.

    2

    Pivot the ejector levers outward to unseat the card from the backplane connector.

    3

    Slide the card out of the chassis.

Step 4

Repeat Step 2 or Step 3 for each FC, LC, and RP card.


Rack-Mounting the Router Chassis

The router chassis is installed in a front-mounted position, as shown in the Telco 2-Post Rack section.

In a front-mounted position, the chassis rack-mounting flanges are secured directly to the rack posts.


Note


The Cisco ASR 9922 Router and Cisco ASR 9912 Router are designed to mount in only 4-post racks.

Verifying Rack Dimensions

Before you install the chassis, measure the space between the vertical mounting flanges (rails) on your equipment rack to verify that the rack conforms to the measurements shown in Verifying Equipment Rack Dimensions.

Procedure


Step 1

Mark and measure the distance between two holes on the left and right mounting rails.

The distance should measure 18.31 inches ± 0.06 inches (46.5 cm ± 0.15 cm).

Note

 
Measure for pairs of holes near the bottom, middle and top of the equipment rack to ensure that the rack posts are parallel.

Step 2

Measure the space between the inner edges of the left front and right front mounting flanges on the equipment rack.

The space must be at least 17.7 inches (45 cm) to accommodate the chassis, which is approximately 17.50 inches (44.45 cm) wide and fits between the mounting posts on the rack.

Figure 46. Verifying Equipment Rack Dimensions

Vertical Rack Rail Locations for ASR 9906 Router

This image shows the vertical rack rail locations for installing the Cisco ASR 9906 router chassis in a 2-post and 4-post rack:

Installing the Chassis in a 2-Post Rack

This section describes how to install the chassis in a 2-post telco-style rack. Two people can lift an empty router chassis using the handles on the sides. To accommodate racks with different hole patterns in their mounting flanges, the chassis rack-mounting flanges have three groups of eight oblong screw holes on each side.


Caution


An empty chassis weighs approximately 150 pounds (68 kg). You need two people to slide the chassis into the equipment rack safely.

This figure shows the orientation of the Cisco ASR 9010 Router chassis to the rack posts (3” or 6” channel width) of an industry-standard 2-post rack and components used in the installation.

Figure 47. Installing the Cisco ASR 9010 Router Chassis in a Standard 2-Post Rack

1

Five screws per side (minimum) to attach the router chassis to the rack


Note


To install the Cisco ASR 9010 Router chassis in a Seismic 2-post rack for optional earthquake protection, two side brackets must be mounted to the chassis for attachment to the posts (5” channel width) of the GR-63 Zone 4 Seismic 2-post rack.

The below figure shows the orientation of the Cisco ASR 9010 Router chassis to the Seismic 2-post rack and components used in the installation.

Figure 48. Installing the Cisco ASR 9010 Router Chassis in a Seismic 2-Post Rack

1

Five screws per side (minimum) to attach the router chassis to the rack

3

Rear mounting bracket

2

Four screws (minimum) to attach the rear mounting bracket to the rack

4

Five screws to attach the rear mounting bracket to the router chassis

The figure below shows the orientation of the Cisco ASR 9006 Router chassis to the rack posts and components used in the installation.

Figure 49. Installing the Cisco ASR 9006 Router Chassis in a Standard 2-Post Rack

1

Four screws per side (minimum) to attach the router chassis to the rack.

The figure below shows the orientation of the Cisco ASR 9904 Router chassis to the rack posts and components used in the installation.

Figure 50. Installing the Cisco ASR 9904 Router Chassis in a Standard 2-Post Rack

1

Six screws per side (minimum) to attach the router chassis to the rack.

The figure below shows the orientation of the Cisco ASR 9906 Router chassis to the rack posts and components used in the installation.

Figure 51. Installing the Cisco ASR 9906 Router Chassis in a Seismic 2-Post Rack

1

Five screws per side (minimum) to attach the router chassis to the rack.

Figure 52. Installing the Cisco ASR 9906 Router Chassis in a Standard 2-Post
Figure 53. Installing the Cisco ASR 9910 Router Chassis in a 2-Post Seismic Rack

1

Use screw and brackets from 2 post rack mount bracket kit.

Follow these steps to install the chassis in the equipment rack.

Procedure


Step 1

Using two people, lift the chassis into the rack using the side handles and grasping underneath the power supply bays (see the figure below).

Figure 54. Correct Lifting Positions

Caution

 
Do not grasp the card cage or the air inlet grill when lifting the router chassis (see the figure below).
Figure 55. Incorrect Lifting Handholds

Step 2

Position the chassis until the rack-mounting flanges are flush against the mounting rails on the rack.

Step 3

Hold the chassis in position against the mounting rails while the second person finger-tightens a screw to the rack rails on each side of the chassis.

Step 4

Finger-tighten the screws to the rack rails on each side of the chassis. Space the screws evenly between the top and bottom of the chassis.

Step 5

(Optional) For optional earthquake protection for the Cisco ASR 9010 Router or Cisco ASR 9006 Router, two side brackets must be mounted to the chassis for attachment to the posts (5” channel width) of a GR-63 Zone 4 Seismic 2-post rack (Installing the Cisco ASR 9010 Router Chassis in a Seismic 2-Post Rack).

  1. Attach the side brackets to the left and right side of the chassis by finger-tightening five screws through each bracket into the chassis.

  2. Attach the side bracket front flanges to the rack posts by finger-tightening four screws through each bracket flange into the mounting rails of the rack.

  3. Fully tighten the five screws on each side bracket to secure the brackets to the chassis.

  4. Fully tighten the four screws on each side bracket flange to secure the brackets to the rack rails.

Step 6

Fully tighten all five screws on the chassis mounting flanges on each side to secure the chassis to the rack rails.


Installing the Chassis in a 4-post Open Rack

To mount the Cisco ASR 9010 Router, Cisco ASR 9906 Router, Cisco ASR 9910 Router, Cisco ASR 9922 Router or Cisco ASR 9912 Router chassis in a 4-post open rack, two side brackets must be attached to the chassis and the rear posts. See Installing the Cisco ASR 9010 Router Chassis in a 4-Post Rack for the Cisco ASR 9010 Router , Installing the Cisco ASR 9906 Router Chassis in a 4-Post Rack - Right viewfor the Cisco ASR 9906 Router, and Rack Mount Installation Kit for the Cisco ASR 9922 Router and Cisco ASR 9912 Router for the Cisco ASR 9922 Router and Cisco ASR 9912 Router.

To mount the Cisco ASR 9006 Router (Installing the Cisco ASR 9006 Router Chassis in a 4-Post Rack) or Cisco ASR 9904 Router (Installing the Cisco ASR 9904 Router Chassis in a 4-Post Rack) in a 4-post open rack, extra brackets are not required.

Preparing the 19 Inch 45-RU Rack

To prepare the 19 Inch 45-RU rack that will contain either the Cisco ASR 9922 Router chassis or Cisco ASR 9912 Router chassis:

Procedure

Step 1

Install the two guide rails into the bottom of the rack (Rack Mount Installation Kit for the Cisco ASR 9922 Router and Cisco ASR 9912 Router).

The two guide rails at the bottom of the rack are included in the ASR-9922-ACC-KIT and ASR-9912-ACC-KIT accessory kits. Use screws to fasten these two guide rails into the front and rear rails of the rack.

The two guide rails have six holes (three per rail) that accommodate 12-24 or M6 screws. If you want to use smaller 10-32 screws, you must use them with bushings to fit the larger holes (One 10-32 Screw with Bushings in Guide Rail Holes ). The bottom rail is keyed to the EIA mounting hole pattern. Install the rails at the first RU location. The rear rack mount brackets are installed by aligning the bracket mounting holes to the holes on the rear cover of the chassis.

Step 2

Use a scissors jack to remove the chassis from the shipping rack. Place a pallet jack next to the chassis inside the shipping rack and push/pull the chassis onto the pallet jack for transport to the rack.

Step 3

On the rear of the Cisco ASR 9922 Router is an integrated handle that is used to pull the chassis from the pallet jack into the rack where the chassis is to be installed.

  1. Position the chassis so that the rear handle is facing the front of the rack.

  2. From the rear of the rack, pull the chassis by the handle into the rack, making sure that the chassis sits on top of the guide rails in the rack.

Step 4

On the Cisco ASR 9912 Router, the handles are on the sides of the chassis. Once the chassis is pulled into the rack and sits on top of the guide rails, use screws to fasten the chassis to the rack.

Figure 56. Installing the Cisco ASR 9010 Router Chassis in a 4-Post Rack

1

Rear mounting bracket

2

Five screws (minimum) to attach the rear mounting bracket to the rear post of the rack

3

Five screws (minimum) to attach the rear mounting bracket to the router chassis

Figure 57. Installing the Cisco ASR 9006 Router Chassis in a 4-Post Rack
Figure 58. Installing the Cisco ASR 9904 Router Chassis in a 4-Post Rack
Figure 59. Installing the Cisco ASR 9906 Router Chassis in a 4-Post Rack - Right view
Figure 60. Installing the Cisco ASR 9906 Router Chassis in a 4-Post Rack - Left view
Figure 61. Installing the Cisco ASR 9910 Router Chassis in a 4-Post Rack

1

Use screws to attach the router chassis to the rack.

2

Use screws and four post rack mount brackets from four post rack mount bracket kit for this installation.

Figure 62. Rack Mount Installation Kit for the Cisco ASR 9922 Router and Cisco ASR 9912 Router
Figure 63. Installing the Cisco ASR 9922 Router Chassis in a 4-Post Rack
Figure 64. Installing the Cisco ASR 9922 Router Chassis in a 4-Post Rack

Supplemental Bonding and Grounding Connections

Before you connect power to the router, or power on the router for the first time, we recommend that you connect the central office ground system or Network Equipment Building System (NEBS) to the threaded supplemental bonding and grounding receptacles on the router. For more information on supplemental bonding and grounding cable requirements, see NEBS Supplemental Unit Bonding and Grounding Guidelines, page 1-60 .

The table below references the grounding receptacle locations for the Cisco ASR 9000 Series Routers.

Table 3. Grounding Receptacle Locations

Model Number

Grounding Receptacle Location

Cisco ASR 9010 Router and Cisco ASR 9910 Router

Bottom rear right side of the chassis (NEBS Bonding and Grounding for the Cisco ASR 9010 Router).

Cisco ASR 9006 Router

Top rear right side of the chassis (NEBS Bonding and Grounding for the Cisco ASR 9006 Router).

Cisco ASR 9904 Router

Bottom rear right side and rear left side of the chassis (NEBS Bonding and Grounding for the Cisco ASR 9904 Router).

Cisco ASR 9906 Router

Bottom rear and left side of the chassis (NEBS Bonding and Grounding for the Cisco ASR 9906 Router).

Cisco ASR 9922 Router

Top rear right side of the chassis (NEBS Bonding and Grounding for the Cisco ASR 9922 Router).

Cisco ASR 9912 Router

Bottom rear right side of the chassis (NEBS Bonding and Grounding for the Cisco ASR 9912 Router).

Follow these steps to attach a grounding cable lug to the router:

Procedure


Step 1

Insert the grounding screws (10-32 round-head) through the locking washers (ideally nickel-plated brass) and into the threaded grounding receptacle (has two M6 bolt holes with 0.625 to 0.75 spacing between them). The wire receptacle is large enough to accept a #6 AWG or larger multi-strand copper wire.

Step 2

Tighten the grounding screws securely to the receptacles.

Step 3

Prepare the other end of the grounding wire and connect it to the appropriate grounding point at your site to ensure an adequate earth ground.

Figure 65. NEBS Bonding and Grounding for the Cisco ASR 9010 Router
Figure 66. NEBS Bonding and Grounding for the Cisco ASR 9006 Router
Figure 67. NEBS Bonding and Grounding for the Cisco ASR 9904 Router
Figure 68. NEBS Bonding and Grounding for the Cisco ASR 9906 Router
Figure 69. NEBS Bonding and Grounding for the Cisco ASR 9922 Router
Figure 70. NEBS Bonding and Grounding for the Cisco ASR 9912 Router

Installing Chassis Accessories

The Cisco ASR 9000 Series Routers ship with a base set of chassis accessories. To install the base accessories and optional accessories, see the appropriate installation procedure below for your router:

Base Accessories


Note


The Cisco ASR 9904 Router and Cisco ASR 9910 Router do not include base chassis accessories.

Optional Accessories

Installing Base Chassis Accessories on the Cisco ASR 9010 Router

The base chassis accessories for the Cisco ASR 9010 Router include:

  • Two ball studs

  • Two plastic side strips

  • One accessory front grill


Note


If you ordered the optional accessories set, see Installing Optional Chassis Accessories on the Cisco ASR 9910 Router to install both the base and optional accessories.

If you did not order the optional accessory set, follow these steps to install the supplied base chassis accessories on the Cisco ASR 9010 Router:

Procedure

Step 1

Install two ball studs (one per side) into the chassis front edge (see the figure below) near the top of the chassis grill. Tighten the ball studs to a torque of 8 in-lb (0.90 N-m).

Figure 71. Installing Ball Studs: Version 1 Power Cisco ASR 9010 Router (Base Accessories Installation)

Step 2

Attach two plastic strips (one per side) along the chassis front edge. The bottom tab of each strip attaches to the hole about 2 inches above the ball stud locations (Installing Base Chassis Accessories on the Cisco ASR 9010 Router).

Step 3

Attach the accessory grill to the chassis in front of the chassis grill. The top of the accessory grill attaches to the ball studs.

Note

 
You must install the lower fan tray before attaching the accessory grill. The lower fan tray slot is located behind the accessory grill. See Installing Cards and Modules in the Chassis.
Figure 72. Installing Base Chassis Accessories on the Cisco ASR 9010 Router

1

Two are ball studs inserted in front chassis edge threaded holes next to chassis grill

2

Two side strips attach to front chassis edge (one per side).

3

Accessory grill attaches to front chassis edge by attaching to ball studs.


Installing Optional Chassis Accessories on the Cisco ASR 9010 Router

The optional chassis accessories for the Cisco ASR 9010 Router include:

  • Six ball studs

  • Two L-shaped brackets

  • Two hinge brackets (left and right side)

  • Eight screws (plus one extra) for attaching the hinge brackets

  • Four screws for attaching the L-shaped brackets

  • Two doors (left and right side)

  • One mid-cover with door lock


Note


Installation of the optional accessory pieces also includes the base accessory ball studs and front grill. The base accessory side strips are not used when installing the optional chassis accessories.

If you ordered the optional accessories set, follow these steps to install both the base and optional accessories (see the figure below):

Procedure


Step 1

Attach the left L-shaped bracket (item 3 in the figure below) to the left hinge bracket (item 2 in the figure below) with two screws. Tighten the screws to a torque of 5 in-lb (0.55 N-m).

Step 2

Repeat Step 1 for the right hinge bracket and right L-shaped bracket.

Step 3

Remove the two screws that secure the bottom edge of the cable management tray to the chassis.

Step 4

Install six ball studs (three per side) into the chassis front edge (item 7 in the figure below and Locations for the Six Ball Studs on the Cisco ASR 9010 Router). Tighten the ball studs to a torque of 8 in-lb (0.90 N-m).

Figure 73. Optional Chassis Accessories for the Cisco ASR 9010 Router

1

Door (one per side)

5

Screws for attaching the L-shaped bracket to the hinge bracket (one screw is removed and re-inserted to attach the L-shaped bracket to the cable management tray and chassis)

2

Hinge bracket (one per side)

6

Mid-cover with door lock

3

L-shaped bracket (one per side)

7

Balls studs (three per side)

4

Four screws for attaching each hinge bracket (eight screws total)

8

Front grill

Figure 74. Locations for the Six Ball Studs on the Cisco ASR 9010 Router

Step 5

Attach the left and right hinge brackets to the chassis using four screws for each bracket. Tighten the screws to a torque of 11 in-lb (1.20 N-m). The L-shaped brackets should align with the holes in the cable management tray from which you removed the screws.

Step 6

Secure the L-shaped brackets to the chassis and cable management tray by re-inserting and tightening the cable management tray screws you removed (see the figure below).

Figure 75. Installing the Hinge Brackets and L-Shaped Brackets on the Cisco ASR 9010 Router

1

Install each hinge bracket, with an L-shaped bracket attached, using four screws.

2

After the hinge brackets are installed, secure each L-shaped bracket to the cable management tray and chassis with the screw that you previously removed from that location.

Step 7

Install the mid-cover with door lock (item 6 in Step 4) by engaging it to the upper four ball studs and lining up the grooves in the top outside edges of the mid-cover with ridges at the bottom of the hinge brackets.

Step 8

Attach two doors to the hinge brackets (one per side). For each door:

  1. Align the door hinge hole with the bracket hinge hole (see the figure below).

  2. Insert the captive pin in the door hinge through the hole in the bracket hinge.

    Note

     
    You must install the lower fan tray before attaching the accessory grill. The lower fan tray slot is located behind the accessory grill. See Installing Fan Trays, page 3-4 .
    Figure 76. Installing Optional Chassis Accessory Doors on the Cisco ASR 9010 Router

Step 9

Install the front grill (item 8 in the Step 4 by aligning and engaging it to the bottom two ball studs and pressing it in.


Installing Base Chassis Accessories on the Cisco ASR 9006 Router

The base chassis accessories for the Cisco ASR 9006 Router include:

  • One plastic fan tray door accessory piece

  • Two metal mounting brackets (left and right)

  • Two chassis side brackets (left and right)

  • Two plastic chassis corner pieces (left and right)

  • Two screws for attaching the plastic fan tray door accessory piece

  • Six screws for attaching the metal mounting brackets

  • Six screws for attaching the side brackets


Note


If you ordered the optional accessories set, see Installing Optional Chassis Accessories on the Cisco ASR 9010 Router to install both the base and optional accessories.

If you did not order the optional accessory set, follow these steps to install the supplied base chassis accessories on the Cisco ASR 9006 Router.

Procedure


Step 1

Attach the plastic accessory piece to the fan tray door using two supplied screws. Insert the screws through the fan tray door from the inside of the door into the accessory piece (see the figure below).

Step 2

Attach the left metal mounting bracket to the front upper left corner of the chassis with three screws.

Figure 77. Installing Plastic Fan Tray Door Accessory and Metal Mounting Brackets on the Cisco ASR 9006 Router

1

Plastic fan tray door accessory

2

Metal mounting bracket on left upper corner of chassis

3

Metal mounting bracket on right upper corner of chassis

Step 3

Attach the right metal mounting bracket to the front upper right corner of the chassis with three screws.

Step 4

Attach the left and right side brackets to the chassis front edge on each side (see the figure below). Attach each bracket to the chassis using three screws per bracket inserted from the inside of the chassis, through the three chassis tabs into the plastic brackets. Tighten the screws to a torque of 7 in-lb (0.80 N-m).

Figure 78. Installing Chassis Side Brackets on the Cisco ASR 9010 Router

1

Left chassis side bracket

2

Six screws for attaching the chassis side brackets (three per side)

3

Right chassis side bracket

Step 5

Attach the left plastic corner piece to the mounting bracket at the front upper left corner of the chassis (see the figure below).

Step 6

Attach the right plastic corner piece to the mounting bracket at the front upper right corner of the chassis.

Figure 79. Installing Plastic Chassis Corners on the Cisco ASR 9006 Router (Base Accessories Installation)

1

Plastic chassis corner piece attaches to metal bracket at upper left corner of chassis

2

Plastic chassis corner piece attaches to metal bracket at upper right corner of chassis

After the chassis has been installed in the rack and all chassis accessories have been attached, you can install the fan trays, power supply modules, and RSP and line cards. See the chapter Installing Cards and Modules in the Chassis in the book Cisco ASR 9000 Series Aggregation Services Router Hardware Installation Guidefor detailed installation instructions.


Installing Optional Chassis Accessories on the Cisco ASR 9006 Router

The optional chassis accessories for the Cisco ASR 9006 Router include:

  • Four ball stud assembly pieces (one set of two pieces per side)

  • One door with attached hinges

  • Four screws for assembling and attaching the ball stud assemblies

  • Four small hex nuts for attaching the door hinges

Procedure

Step 1

Perform Step 1 through Step 2 in the task Installing Base Chassis Accessories on the Cisco ASR 9006 Router.

Step 2

Assemble and attach the two ball stud assemblies (see the figure below) to each chassis side bracket. For each assembly:

  1. Align the two halves of the assembly to each other and to the screw holes in the chassis side bracket.

  2. Insert and tighten two screws to secure the assembly to the side bracket.

    Figure 80. Installing Ball Stud Assemblies on the Cisco ASR 9006 Router (Shown with Version 1 Power System)

Step 3

Attach the door to the upper chassis panel (see the figure below) using two hex nuts per side to secure the door hinges to the panel. Tighten the hex nuts to a torque of 4 in-lb (0.45 N-m).

Caution

 
Do not overtighten the hex nuts. They can be broken through overtightening.

Caution

 
When opening the door, be sure to grasp the center of the door to pull it open. Do not open the door by pulling on a corner or side of the door frame.
Figure 81. Installing the Optional Accessory Door on the Cisco ASR 9006 Router

Step 4

Attach the left plastic corner piece to the mounting bracket at the front upper left corner of the chassis (Installing Plastic Chassis Corners on the Cisco ASR 9006 Router (Optional Accessories Installation)).

Step 5

Attach the right plastic corner piece to the mounting bracket at the front upper right corner of the chassis.

Figure 82. Installing Plastic Chassis Corners on the Cisco ASR 9006 Router (Optional Accessories Installation)

1

Plastic chassis corner piece attaches to metal bracket at upper left corner of chassis

2

Plastic chassis corner piece attaches to metal bracket at upper right corner of chassis

After the chassis has been installed in the rack and all chassis accessories have been attached, you can install the fan trays, power supply modules, and RSP and line cards. See Installing Cards and Modules in the Chassis in the book Cisco ASR 9000 Series Aggregation Services Router Hardware Installation Guide for detailed installation instructions.


Installing Optional Air Baffles on the Cisco ASR 9006 Router

The Cisco ASR 9006 Router has an optional air baffle accessory kit (800-43858-01) for mounting the router chassis in a 2-post or 4-post 19-inch rack. The accessory kit includes:

  • One plenum with two pre-installed front rack-mounting brackets for attaching plenum to front side of rack-post

  • One support bracket

  • One plastic glide strip

  • Two rear rack-mounting brackets for attaching plenum to rear side of rack-post

  • Twelve 12-24 x 0.5 in. pan-head screws (six for attaching support bracket to chassis and six for securing chassis to rack-mounted plenum)

  • Twelve 8-32 x 0.5 in. pan-head screws for attaching rear rack-mounting brackets on plenum

Air baffles allow for front-to-back air flow through the chassis and help isolate exhaust air from the intake air.

If you ordered the optional air baffle accessory kit, follow these steps to install it:

Procedure

Step 1

Attach the support bracket (part number: 800-43857-01) to the left side of the Cisco ASR 9006 Router using six 12-24 x 0.5 in. pan-head screws (part number: 48-0523-01). See the figure below.

Figure 83. Attaching the Support Bracket to the Left Side of the Cisco ASR 9006 Router Chassis

Step 2

Remove the paper liner from the plastic guide strip and install on the right side of the chassis card cage, as shown in the figure below.

Figure 84. Attaching Plastic Glide Strip to Chassis

Step 3

Install the plenum in the rack. Insert and tighten four customer-supplied screws to secure the plenum to the front of the rack-post (two on each side). These screws can vary in size and type depending on the rack that you use. Torque the screws to the weight specified for your particular rack. See Plenum with Pre-Installed Front Mounting Brackets and Installing the Plenum in a Two-Post 19-Inch Rack.

Figure 85. Plenum with Pre-Installed Front Mounting Brackets

1

Front rack-mounting bracket, pre-installed

Step 4

Attach the rear rack-mounting brackets (part number: 700-47414-01) to the left and right sides of the plenum base, using twelve 8-32 x 0.5 in. pan-head screws ((part number: 48-0828-01), six per bracket.

  • If you are installing the chassis in a two-post rack, the rear rack-mounting brackets secure the plenum to the rear of the rack-posts (Installing the Plenum in a Two-Post 19-Inch Rack).

  • If you are installing the chassis in a four-post rack, rotate the rear rack-mounting brackets by 180 degrees and attach to both sides of the plenum. The rear rack-mounting brackets secure the plenum to the rear rack-posts.

Step 5

Insert and tighten four customer-supplied screws to secure the plenum to the rear of the rack-post (two on each side). These screws can vary in size and type depending on the rack that you use. Torque the screws to the weight specified for your particular rack (see the figure below).

Figure 86. Installing the Plenum in a Two-Post 19-Inch Rack

1

Screw attaching rear-rack mounting bracket to plenum (six per bracket)

3

Screws attaching rear-rack mounting bracket to rack (two per bracket)

2

Rear rack-mounting bracket

Step 6

Turn the chassis sideways and slide it into the rack (Securing the ASR 9006 Router in a Two-Post 19-Inch Rack).

Step 7

Insert and tighten four customer-supplied rack-mounting screws to secure the support bracket on the chassis to the front of the rack-post (two on each side). These screws can vary in size and type depending on the rack that you use. Torque the screws to the weight specified for your particular rack (Securing the ASR 9006 Router in a Two-Post 19-Inch Rack).

Step 8

Insert six 12-24 x 0.5 in.pan-head screws (part number: 48-0523-01) screws to secure the chassis to the rack-mounted plenum (Securing the ASR 9006 Router in a Two-Post 19-Inch Rack).

Figure 87. Securing the ASR 9006 Router in a Two-Post 19-Inch Rack

1

Screws attaching chassis to rack

2

Screws attaching chassis to plenum

Step 9

Install the optional chassis accessories, if desired. See Installing Optional Chassis Accessories on the Cisco ASR 9006 Router.

The figure below shows the air baffle accessory kit and Cisco ASR 9006 Router with its optional accessories fully installed in a two-post 19-inch rack.

Figure 88. Cisco ASR 9006 Router Fully Installed with Air Baffle Accessory Kit and Optional Chassis Accessories

Installing Optional Air Baffles on the Cisco ASR 9904 Router

The Cisco ASR 9904 Router has an optional air baffle accessory kit (ASR-9904-BAFFLE=) for mounting the router chassis in a 2-post 23-inch rack. The accessory kit includes:

  • Two adapter plates

  • Two air baffles (left and right)

  • Two air deflectors

  • Twenty-eight 12-24 screws for attaching the air baffles and air deflectors to the adapter plate

  • Eight 8-32 screws for securing the side baffles to the air deflectors

Air baffles allow for front-to-back air flow through the chassis and help isolate exhaust air from the intake air. For air baffle dimensions, see Cisco ASR 9904 Router Air Baffle Dimensions—Top View and Cisco ASR 9904 Router Air Baffle Dimensions—Front View.

If you ordered the air baffle accessory kit, follow these steps to install it:

Procedure


Step 1

Attach the adapter plates (Attaching the Adapter Plates to the Left and Right Rack Rails on the Cisco ASR 9904 Router Chassis ) to the left and right rack rails using customer-supplied rack screws (we recommend a minimum of ten per side). These screws can vary in size and type depending on the rack that you use. Torque the screws to the weight specified for your particular rack.

Figure 89. Attaching the Adapter Plates to the Left and Right Rack Rails on the Cisco ASR 9904 Router Chassis

Step 2

Loosely attach the left and right side air baffles to the adapter plate (Installing the Air Baffles on the Cisco ASR 9904 Router Chassis ) with 12-24 screws (four per side). Do not tighten these screws. To ensure the correct orientation, “Left Front” and “Right Front” are stamped on each side of the baffle.

Figure 90. Installing the Air Baffles on the Cisco ASR 9904 Router Chassis

1

Right side air baffle

3

12-24 screws for attaching the baffles (four per side)

2

Left side air baffle

Step 3

Install the top and bottom air deflectors (Attaching the Air Deflectors on the Cisco ASR 9904 Router Chassis —Top View) with the “bottom side” stamp facing down (note that the top and bottom air deflectors both have the same part number: 800-41357-01).

Step 4

Tighten the screws to a torque of 41 in-lb.

Figure 91. Attaching the Air Deflectors on the Cisco ASR 9904 Router Chassis —Top View

1

Top air deflector

3

12-24 screws for attaching the air deflectors (two screws per side)

2

Bottom air deflector

4

Bottom side stamp

Step 5

Secure the side air baffles to the air deflectors using the supplied 8-32 screws (Securing the Cisco ASR 9904 Router Chassis Side Baffles to the Air Deflectors (Rear View)). Do not tighten the screws.

Figure 92. Securing the Cisco ASR 9904 Router Chassis Side Baffles to the Air Deflectors (Rear View)

Step 6

Use six 12-24 screws to fasten each side of the chassis to the 23-inch rack. Torque each of the six screws to 41 in-lbs. (Mounting the Cisco ASR 9904 Router Chassis in a 23-Inch Rack).

Figure 93. Mounting the Cisco ASR 9904 Router Chassis in a 23-Inch Rack

Step 7

Tighten the remaining loose screws to complete the installation. Torque the 8-32 screws to 18 in-lb and the 12-24 screws to 41 in-lb.

Cisco ASR 9904 Router Chassis with Air Baffle in 2-Post 23-Inch Rack shows the router chassis with the air baffle installed in a 2-post 23-inch rack.

Figure 94. Cisco ASR 9904 Router Chassis with Air Baffle in 2-Post 23-Inch Rack

An electrical conducting path must exist between the product chassis and the metal surface of the enclosure or rack in which it is mounted, or to a grounding conductor. The chassis has two grounding points on each side of the baffle, however only one ground is required. The other will be grounded through the top and bottom air deflectors. Cisco ASR 9904 Router Baffle Ground shows the baffle ground location on the chassis.

You can ground the baffle by either attaching a grounding lug to the chassis (NEBS Supplemental Unit Bonding and Grounding Guidelines, page 1-60 ), or by using thread-forming mounting screws to establish a metal-to-metal contact. If you are using screws, remove any paint or other non-conductive coatings on the surfaces between the mounting hardware and the enclosure or rack. Clean all surfaces and apply an antioxidant applied before the installation.

Figure 95. Cisco ASR 9904 Router Baffle Ground

1

Baffle ground location

Figure 96. Cisco ASR 9904 Router Air Baffle Dimensions—Top View
Figure 97. Cisco ASR 9904 Router Air Baffle Dimensions—Front View

Installing Optional Chassis Accessories on the Cisco ASR 9906 Router

The optional chassis accessories for the Cisco ASR 9906 Router include:
  • Slide rails - A9K-SLIDE-RAIL
  • 2-post rack mounting kit - ASR-9906-2P-KIT
  • 4-post rack mounting kit - ASR-9906-4P-KIT

Installing Optional Chassis Accessories on the Cisco ASR 9910 Router

The optional chassis accessories for the Cisco ASR 9910 Router include:

  • Side guide rails
  • Rear air reflector
  • Installation brackets for 2-post and 4-post rack mounting

Installing Optional Chassis Accessories on the Cisco ASR 9922 Router

The optional chassis accessories for the Cisco ASR 9922 Router include:

  • Fan tray covers
  • Top and bottom card cage front doors
  • Rear exhaust air deflector

If you ordered the optional accessories set, follow these steps to install the accessories:

Procedure


Step 1

Remove the two screws that secure the bottom edge of the cable management tray to the chassis.

Note

 
Four ball studs are preinstalled on the Cisco ASR 9922 Router chassis.
Figure 98. Optional Fan Tray Covers for the Cisco ASR 9922 Router
Figure 99. Optional Card Cage Doors for the Cisco ASR 9922 Router

1

Card cage door

2

Hinge bracket

Step 2

Attach the left and right hinge brackets to the chassis using three screws (M4 thread) for each bracket. Tighten the screws to a torque of 11 in-lb (1.20 N-m). The L-shaped brackets should align with the holes in the cable management tray from which you removed the screws.

Step 3

Secure the L-shaped brackets to the chassis and cable management tray by re-inserting and tightening the cable management tray screws you removed.

Step 4

Align the exhaust air deflector at the rear of the chassis behind the top fan tray outlets (see the below figure), and use a screwdriver to tighten the two screws, one on each side of the deflector. The deflector’s measurements are width 17.48” x height 4.72” x depth 5.21” and deflects the outgoing exhaust air.

Figure 100. Optional Rear Exhaust Air Deflector on the Cisco ASR 9922 Router

After the chassis has been installed in the rack and all chassis accessories have been attached, you can install the fan trays, power supply modules, RP cards, FCs and LCs. See Installing Cards and Modules in the Chassis in the book Cisco ASR 9000 Series Aggregation Services Router Hardware Installation Guide for detailed installation instructions.


Installing Base Chassis Accessories on the Cisco ASR 9912 Router

The base chassis accessories for the Cisco ASR 9912 Router include (see the figure below):

  • One honeycomb cosmetic cover
  • One vented bezel to cover the front of the power system

Procedure


Step 1

Attach the honeycomb cosmetic cover to the front of the chassis above the cable management bracket by aligning the cover above the screw tabs on the chassis.

Step 2

Attach the vented bezel cover by snapping it into place in front of the power system.

Note

 
You will need to remove the vented bezel cover in order to install the power system. After the power system is installed, you can re-install the vented bezel cover.
Figure 101. Installing Base Accessories on the Cisco ASR 9912 Router

After the chassis has been installed in the rack and all chassis accessories have been attached, you can install the fan trays, RP cards, FCs and LCs. See the chapter Installing Cards and Modules in the Chassis in the book Cisco ASR 9000 Series Aggregation Services Router Hardware Installation Guide for detailed installation instructions.


Installing Optional Chassis Accessories on the Cisco ASR 9912 Router

The optional chassis accessories for the Cisco ASR 9912 Router include:

  • Front door for the line card cage

  • Two hinge brackets (left and right side)

  • Six screws for attaching the hinge brackets to the chassis

  • Rear exhaust air deflector

If you ordered the optional accessories set, follow these steps to install the accessories:

Procedure

Step 1

Attach the left (if not pre-installed) and right hinge brackets to the chassis using three screws (M4 thread) for each bracket (see the below figure). Tighten the screws to a torque of 11 in-lb (1.20 N-m).

Figure 102. Optional Card Cage Door on the Front of the Cisco ASR 9912 Router

1

Card cage door

2

Hinge bracket

Step 2

Align the exhaust air deflector at the top rear of the chassis above the fan trays (see the below figure), and use a screwdriver to tighten the two screws, one on each side of the deflector.

Figure 103. Optional Rear Exhaust Air Deflector on the Cisco ASR 9912 Router

After the chassis has been installed in the rack and all chassis accessories have been attached, you can install the fan trays, RP cards, FCs, and LCs. See Installing Cards and Modules in the Chassis in the book Cisco ASR 9000 Series Aggregation Services Router Hardware Installation Guide for detailed installation instructions.