Cisco UCS Fabric Interconnect 6664 and Cisco UCS Fabric Interconnect 6652 Installation
The Cisco UCS 6600 Series Fabric Interconnect product family consists of the following different models.
|
Model |
Cisco PID |
Notes |
|---|---|---|
|
Cisco UCS 6664 Fabric Interconnect |
UCS-FI-6664 |
2 rack-unit (2U) chassis supporting Ethernet, FCoE, and FC ports. MACsec enabled. |
|
Cisco UCS 6652 Fabric Interconnect |
UCS-FI-6652 |
1 rack-unit (1U) chassis supporting Ethernet, FCoE, and FC. MACsec enabled. |
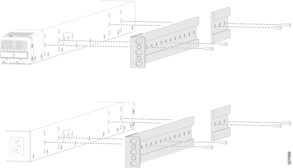
Both models of the Cisco 6600 Series Fabric Interconnect have many similarities as part of the overall installation process. However, there are some differences, primarily due to the different physical form factor of each.
You can assume that installation are the same for each model unless documentation explains otherwise.










Feedback