Table Of Contents
Catalyst 6500 Series 96-Port Splitter Patch Panel Installation Note
Statement 1071—Warning Definition
Preventing Electrostatic Discharge
Removing Individual Splitters from the Splitter Patch Panel
Installing the Splitter Patch Panel
Attaching the Interface Cables
Obtaining Documentation and Submitting a Service Request
Catalyst 6500 Series 96-Port Splitter Patch Panel Installation Note
Product Number: WS-F6K-48X2-SPLTR
This publication describes how to install the Catalyst 6500 series 96-port splitter patch panel.
The splitter patch panel is used with the WS-X6148X2-RJ-45 10/100 Ethernet module to provide you with 96 Ethernet ports. The WS-X6148X2-RJ-45 Ethernet module has 48 physical RJ-45 connectors. By utilizing the two unused Ethernet pairs in each connector, the port density of the module is doubled.
Contents
This publication contains these sections:
•
Installing the Splitter Patch Panel
•
Attaching the Interface Cables
•
Obtaining Documentation and Submitting a Service Request
Safety Overview
This section provides the warnings applicable to the installation of the splitter patch panel.
Statement 1071—Warning Definition
Parts List
These parts are in the WS-F6K-48X2-SPLTR accessory kit:
•
96-port splitter patch panel assembly
•
12-24 X .75 inch Phillips pan head screws — Quantity 8
•
10-32 X .75 inch Phillips pan head screws — Quantity 8
•
M4 X 6mm Phillips pan head screws — Quantity 6
Required Tools
These tools are required to perform the installation of the 96-port splitter patch panel:
•
No. 2 Phillips screwdriver
•
Small flat-blade screwdriver (if you are removing individual splitters from the splitter patch panel)
•
No. 1 Phillips screwdriver (if you are removing individual splitters from the splitter patch panel)
•
Your own ESD-prevention equipment
Preventing Electrostatic Discharge
Electrostatic discharge (ESD) damage, which can occur when electronic cards or components are improperly handled, results in complete or intermittent failures. Port adapters and processor modules consist of printed circuit boards that are fixed in metal carriers. Electromagnetic interference (EMI) shielding and connectors are integral components of the carrier. Although the metal carrier helps to protect the board from ESD, use a preventive antistatic strap during handling. Following are guidelines for preventing ESD damage:
•
Always use an ESD wrist or ankle strap and ensure that it makes good skin contact.
•
Connect the equipment end of the strap to an unfinished chassis surface.
•
When installing a component, use any available ejector levers or captive installation screws to properly seat the bus connectors in the backplane or midplane. These devices prevent accidental removal, provide proper grounding for the system, and help to ensure that bus connectors are properly seated.
•
When removing a component, use any available ejector levers or captive installation screws to release the bus connectors from the backplane or midplane.
•
Handle carriers by available handles or edges only; avoid touching the printed circuit boards or connectors.
•
Place a removed component board-side-up on an antistatic surface or in a static shielding container. If you plan to return the component to the factory, immediately place it in a static shielding container.
•
Avoid contact between the printed circuit boards and clothing. The wrist strap only protects components from ESD voltages on the body; ESD voltages on clothing can still cause damage.
•
Never attempt to remove the printed circuit board from the metal carrier.
![]()
CautionFor safety, periodically check the resistance value of the antistatic strap. The measurement should be between 1 and 10 megohm (Mohm).
Installation Guidelines
In environments where rack space is an issue, it is important to understand the different installation scenarios for the splitter patch panel. Remember that each splitter patch panel can have forty-eight Ethernet cables connected to the back and ninety-six Ethernet cables connected to the front.
Figure 1 shows three different installation scenarios using a Catalyst 6506 switch with two WS-X6148X2-RJ-45 Ethernet modules and two splitter patch panels:
•
The left view shows an installation in which a customer uses only the 48 ports on the module or uses the individual cable splitters removed from the splitter patch panel. In this scenario, the splitter patch panel is not installed.
•
The middle view shows an installation in which the equipment rack has cable access cutouts along the rack sides, allowing the customer to route the Ethernet cables from the front of the Ethernet module, through the cutouts, to the back of the splitter patch panel. In this scenario, the splitter patch panel can be mounted directly above the switch chassis.
•
The right view shows an installation in which the equipment rack does not have cable access cutouts. The customer must install the splitter patch panel at least 1 RU (1.75 inches) above the switch chassis to create space for the Ethernet cables to pass between the chassis and the splitter patch panel. If additional WS-X6148X2-RJ-45 Ethernet modules are installed in the switch, the splitter patch panels must be stacked above each other, with a minimum of 1 RU (1.75 inches) spacing between them.
Figure 1 Installation Scenarios for the Splitter Patch Panel
![]()
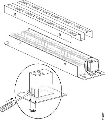
Removing Individual Splitters from the Splitter Patch Panel
If you are planning to install the WS-X6148X2-RJ-45 and use individual splitters at the desktop to save rack space, you can use the splitter patch panel as a source for the individual cable splitters.
![]()
Note
Cisco supports only the use of the splitter patch panel or the individual cable splitters mounted in the splitter patch panel.
To remove individual cable splitters from the splitter patch panel, perform these steps:
Step 1
Loosen and remove the four countersink screws, two on the top of the splitter patch panel and two on the bottom of the splitter patch panel. (See Figure 2.)
Step 2
Loosen and remove the three pan-head screws located in the trough on the back of the splitter patch panel. (See Figure 2.)
Figure 2 Opening the Splitter Patch Panel
![]()
Step 3
Separate the two halves of the splitter patch panel.
Step 4
Using a small flat-blade screwdriver, press in on the two tabs, shown in Figure 3, to release the individual cable splitter, and carefully remove the individual cable splitter from the panel.
Figure 3 Removing the Splitter from the Splitter Patch Panel
![]()
Step 5
Repeat step 4 for as many individual cable splitters as you need.
Step 6
Position the splitter patch panel halves together, aligning the screw holes.
Step 7
Secure the halves together with seven screws.
Step 8
Retain the splitter patch panel as a source for additional individual splitters.
Installing the Splitter Patch Panel
This section describes how to install the splitter patch panel in the rack.
To install the splitter patch panel in the rack, perform these steps:
Step 1
Remove the splitter patch panel from its protective packaging.
Step 2
Position the splitter patch panel in the rack.
![]()
Note
Leave 1 RU (1.75 inches) of space between the top of the switch chassis and the bottom of the splitter patch panel if the Ethernet cables are to be routed between the switch chassis and the splitter patch panel.
Step 3
Verify that the splitter patch panel is level in the rack, and then secure the panel to the rack with four 12-24 or 10-32 screws.
Figure 4 Installing the Splitter Patch Panel in the Rack
![]()
Attaching the Interface Cables
This section describes how to attach Ethernet interface cables to the splitter patch panel.
![]()
Warning
To avoid electric shock, do not connect safety extra-low voltage (SELV) circuits to telephone-network voltage (TNV) circuits. LAN ports contain SELV circuits, and WAN ports contain TNV circuits. Some LAN and WAN ports both use RJ-45 connectors. Use caution when connecting cables. Statement 1021
To attach interface cables from the WS-X6148X2-RJ-45 Ethernet module to the splitter patch panel and network interface cables to the splitter patch panel, perform these steps:
Step 1
Plug one end of the Ethernet cable into the WS-X6148X2-RJ-45 Ethernet module port connector. Make sure that the Ethernet plug is fully inserted into the connector and that the plug retaining clip locks into place.
Step 2
Route the Ethernet cable to the back of the splitter patch panel according the type of installation scenario you are performing.
Step 3
From the back of the splitter back panel, plug the other end of the Ethernet cable into the appropriate splitter patch panel connector. (See Figure 5.)
For example, if you plug one end of the Ethernet cable into port 1/49 on the WS-X6148X2-RJ-45 Ethernet module, and then route the Ethernet cable to the back of the splitter patch panel, you must plug the other end of the Ethernet cable into port 1/49 on the back of the splitter patch panel.
Figure 5 Connecting the Splitter Patch Panel to the WS-X6148X2-RJ-45 Ethernet Module
![]()
Step 4
From the front of the splitter patch panel, connect the network interface cable to the appropriate splitter patch panel port. (See Figure 6.)
Figure 6 Attaching the Network Interface Cable to the Splitter Patch Panel
![]()
Translated Safety Warnings
This section repeats in multiple languages the basic warnings that appear in this publication.
Statement 1021—SELV Circuit
Obtaining Documentation and Submitting a Service Request
For information on obtaining documentation, submitting a service request, and gathering additional information, see the monthly What's New in Cisco Product Documentation, which also lists all new and revised Cisco technical documentation, at:
http://www.cisco.com/en/US/docs/general/whatsnew/whatsnew.html
Subscribe to the What's New in Cisco Product Documentation as a Really Simple Syndication (RSS) feed and set content to be delivered directly to your desktop using a reader application. The RSS feeds are a free service and Cisco currently supports RSS Version 2.0.
CCIP, CCSP, the Cisco Arrow logo, the Cisco Powered Network mark, Cisco Unity, Follow Me Browsing, FormShare, and StackWise are trademarks of Cisco Systems, Inc.; Changing the Way We Work, Live, Play, and Learn, and iQuick Study are service marks of Cisco Systems, Inc.; and Aironet, ASIST, BPX, Catalyst, CCDA, CCDP, CCIE, CCNA, CCNP, Cisco, the Cisco Certified Internetwork Expert logo, Cisco IOS, the Cisco IOS logo, Cisco Press, Cisco Systems, Cisco Systems Capital, the Cisco Systems logo, Empowering the Internet Generation, Enterprise/Solver, EtherChannel, EtherSwitch, Fast Step, GigaStack, Internet Quotient, IOS, IP/TV, iQ Expertise, the iQ logo, iQ Net Readiness Scorecard, LightStream, MGX, MICA, the Networkers logo, Networking Academy, Network Registrar, Packet, PIX, Post-Routing, Pre-Routing, RateMUX, Registrar, ScriptShare, SlideCast, SMARTnet, StrataView Plus, Stratm, SwitchProbe, TeleRouter, The Fastest Way to Increase Your Internet Quotient, TransPath, and VCO are registered trademarks of Cisco Systems, Inc. and/or its affiliates in the United States and certain other countries.
All other trademarks mentioned in this document or Website are the property of their respective owners. The use of the word partner does not imply a partnership relationship between Cisco and any other company. (0401R)
Copyright © 2004 Cisco Systems, Inc. All rights reserved.