Table Of Contents
Installing the RJ-45 Bracket and Cable on the Cisco ONS 15454 Rack
Install the Bracket and RJ-45 Cable
Obtaining Documentation and Submitting a Service Request
Installing the RJ-45 Bracket and Cable on the Cisco ONS 15454 Rack
This document describes how to install the optional RJ-45 bracket and cable on the Cisco ONS 15454 equipment rack. This kit, included in the ONS 15454 ship kit, allows the rear LAN pins to be terminated using an RJ-45 interface attached to the equipment rack.Use this document in conjunction with the Cisco ONS 15454 Procedure Guide and Cisco ONS 15454 Reference Manual when working with system components.
The RJ-45 ships with accessory kit (53-2329-01), which ships with the following product IDs:
•
15454-SA-HD=
•
15454-HD-SHIPKIT=
•
15454-SA-HD-DDR=
This document contains the following sections:
•
Install the Bracket and RJ-45 Cable
•
Obtaining Documentation and Submitting a Service Request
Install the Bracket and RJ-45 Cable
You will need the following equipment to install the RJ-45 kit:
•
#2 Phillips screwdriver
•
12-24 screws (2)
•
RJ-45 kit (as part of the ONS 15454 accessory kit, 53-2329-01)
–
RJ-45 bracket with cover
–
RJ-45 wire-wrap cable assembly
Step 1
Identify the shelf where you want to install the RJ-45 interface.
Step 2
Locate the mounting holes on the rear of the rack where you will install the RJ-45 bracket.
Step 3
Locate the mounting holes on the bracket (Figure 1).
Figure 1 Mounting Holes on the RJ-45 Bracket
![]()
Step 4
Line up the mounting holes on the bracket with the mounting holes on the rack, making sure the "TOP" indicator is oriented properly (Figure 2).
Figure 2 RJ-45 Bracket Orientation
![]()
Step 5
Using a #2 Phillips screwdriver, install the two screws in the appropriate locations on the mounting hole and mounting slot of the bracket.
Figure 3 and Figure 4 show examples of the RJ-45 kit installed on 19- and 23-inch racks, respectively.
Figure 3 RJ-45 Kit Installed on a 19-Inch Rack
![]()
Figure 4 RJ-45 Kit Installed on a 23-Inch Rack
![]()
Step 6
On the unterminated free end of the RJ-45 cable assembly, observe the four RJ-45 wires. Wire wrap these wires to the wire-wrap panel in the following order:
Table 1 RJ-45 Pin Installation
RJ-45 Pin RJ-45 Pin Color Wire-Wrap Panel LAN Pin1
White/orange
B2
2
Orange
A2
3
White/green
B1
6
Green
A1
Step 7
Route the RJ-45 connector and cable across the base of the shelf to the bracket securing the cable assembly, according to site specifications.
Step 8
With the RJ-45 connector facing down, insert it into the bracket, making sure the RJ-45 connector latch is facing away from the rack.
Step 9
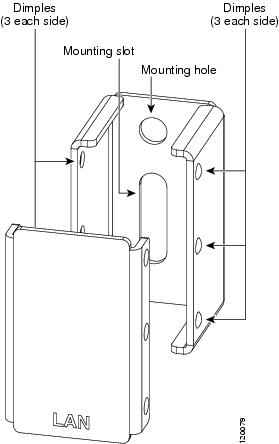
Snap the cover labeled "LAN" over the bracket, so that the cover snaps over the dimples (Figure 5).
Figure 5 Installing the RJ-45 Bracket Cover
![]()
Related Documentation
•
Cisco ONS 15454 Procedure Guide
•
Cisco ONS 15454 Reference Manual
•
Cisco ONS 15454 Troubleshooting Guide
Obtaining Documentation and Submitting a Service Request
For information on obtaining documentation, submitting a service request, and gathering additional information, see the monthly What's New in Cisco Product Documentation, which also lists all new and revised Cisco technical documentation, at:
http://www.cisco.com/en/US/docs/general/whatsnew/whatsnew.html
Subscribe to the What's New in Cisco Product Documentation as a Really Simple Syndication (RSS) feed and set content to be delivered directly to your desktop using a reader application. The RSS feeds are a free service and Cisco currently supports RSS Version 2.0.
CCDE, CCENT, CCSI, Cisco Eos, Cisco HealthPresence, Cisco IronPort, the Cisco logo, Cisco Nurse Connect, Cisco Pulse, Cisco SensorBase, Cisco StackPower, Cisco StadiumVision, Cisco TelePresence, Cisco Unified Computing System, Cisco WebEx, DCE, Flip Channels, Flip for Good, Flip Mino, Flipshare (Design), Flip Ultra, Flip Video, Flip Video (Design), Instant Broadband, and Welcome to the Human Network are trademarks; Changing the Way We Work, Live, Play, and Learn, Cisco Capital, Cisco Capital (Design), Cisco:Financed (Stylized), Cisco Store, Flip Gift Card, and One Million Acts of Green are service marks; and Access Registrar, Aironet, AllTouch, AsyncOS, Bringing the Meeting To You, Catalyst, CCDA, CCDP, CCIE, CCIP, CCNA, CCNP, CCSP, CCVP, Cisco, the Cisco Certified Internetwork Expert logo, Cisco IOS, Cisco Lumin, Cisco Nexus, Cisco Press, Cisco Systems, Cisco Systems Capital, the Cisco Systems logo, Cisco Unity, Collaboration Without Limitation, Continuum, EtherFast, EtherSwitch, Event Center, Explorer, Follow Me Browsing, GainMaker, iLYNX, IOS, iPhone, IronPort, the IronPort logo, Laser Link, LightStream, Linksys, MeetingPlace, MeetingPlace Chime Sound, MGX, Networkers, Networking Academy, PCNow, PIX, PowerKEY, PowerPanels, PowerTV, PowerTV (Design), PowerVu, Prisma, ProConnect, ROSA, SenderBase, SMARTnet, Spectrum Expert, StackWise, WebEx, and the WebEx logo are registered trademarks of Cisco Systems, Inc. and/or its affiliates in the United States and certain other countries.
All other trademarks mentioned in this document or website are the property of their respective owners. The use of the word partner does not imply a partnership relationship between Cisco and any other company. (0910R)
![]()