Card Reference



Note The terms "Unidirectional Path Switched Ring" and "UPSR" may appear in Cisco literature. These terms do not refer to using Cisco ONS 15xxx products in a unidirectional path switched ring configuration. Rather, these terms, as well as "Path Protected Mesh Network" and "PPMN," refer generally to Cisco's path protection feature, which may be used in any topological network configuration. Cisco does not recommend using its path protection feature in any particular topological network configuration.


This chapter describes Cisco ONS 15454 dense wavelength division multiplexing (DWDM) card and client card features and functions. It also describes the common control cards needed to support them as well as the optical plug-in modules (Small Form-factor Pluggables [SFPs]). For installation and card turn-up procedures, refer to Chapter 3 "Turn Up a Node." For card safety and compliance information, refer to the Cisco Optical Transport Products Safety and Compliance Information document.


Note Unless otherwise specified, "ONS 15454" refers to both ANSI and ETSI shelf assemblies.


Chapter topics include:

Card Overview

Common Control Cards

Front Mount Electrical Connections

Optical Service Channel Cards

Optical Amplifier Cards

Multiplexer and Demultiplexer Cards

Optical Add/Drop Multiplexer Cards

Transponder and Muxponder Cards

Transponder and Muxponder Protection

Far-End Laser Control (FELC)

Jitter Considerations

Termination Modes

SFP and XFP Modules

16.1  Card Overview

The card overview section lists the cards described in this chapter and summarizes card functions, power consumption, and temperature ranges of the optical cards covered in this reference section.


Note Each card is marked with a symbol that corresponds to a slot (or slots) on the ONS 15454 shelf assembly. The cards are then installed into slots displaying the same symbols. See the "Card Slot Requirements" section for a list of slots and symbols.


16.1.1  Common Control Cards

The following common control cards are needed to support the functions of the DWDM, transponder, and muxponder cards:

TCC2 or TCC2P

AIC-I (optional)

16.1.2  Front Mount Electrical Connections (ETSI only)

The following Front Mount Electrical Connections (FMECs) are needed to support the functions of the DWDM, transponder, and muxponder cards:

MIC-A/P

MIC-C/T/P

16.1.3  DWDM Cards

ONS 15454 DWDM cards are grouped into the following categories:

Optical service channel cards—These cards provide channels that connect ONS 15454 DWDM nodes and transport general-purpose information (including Cisco Transport Controller [CTC] management) without affecting the client traffic. ONS 15454 optical service channel cards include the Optical Service Channel Module (OSCM) and the Optical Service Channel and Combiner/Separator Module (OSC-CSM).

Optical amplifier cards—These cards are used in amplified DWDM nodes, including hub nodes, amplified OADM nodes, and line amplified nodes. Optical amplifier cards include the Optical Preamplifier (OPT-PRE), Optical Booster (OPT-BST), and Optical Booster Enhanced (OPT-BST-E) amplifier.

Dispersion compensation units—These cards are installed in the ONS 15454 dispersion compensation shelf when optical preamplifier cards are installed in the DWDM node. Each dispersion compensation unit (DCU) module is designed to compensate a specific fiber length, up to a maximum (per-module) of 65 km of standard single-mode fiber (SMF-28). DCUs can be cascaded to extend the compensation to 130 km.

Multiplexer and demultiplexer cards—These cards multiplex and demultiplex DWDM optical channels. ONS 15454 multiplexer and demultiplexer cards include the 32-Channel Multiplexer (32MUX-O), the 32-Channel Demultiplexer (32DMX-O), the single-slot 32-Channel Demultiplexer (32DMX), and the 4-Channel Multiplexer/Demultiplexer (4MD-xx.x).

Optical Add/Drop Multiplexer (OADM) cards—These cards are mainly divided into two groups: band OADM and channel OADM cards. Band OADM cards add and drop one or four bands of adjacent channels; they include the 4-Band OADM (AD-4B-xx.x) and the 1-Band OADM (AD-1B-xx.x). Channel OADM cards add and drop one, two, or four adjacent channels; they include the 4-Channel OADM (AD-4C-xx.x), the 2-Channel OADM (AD-2C-xx.x), and the 1-Channel OADM (AD-1C-xx.x). This section also covers the 32-Channel Wavelength Selective Switch (32WSS) used to implement Reconfigurable OADM (ROADM) functionality.

16.1.4  Transponder and Muxponder Cards

The purpose of a transponder (TXP) or muxponder (MXP) card is to convert the "gray" optical client interface signals into trunk signals that operate in the "colored" DWDM wavelength range1 . Transponding or muxponding is the process of converting the signals between the client and trunk wavelengths.

A muxponder generally handles several client signals. It aggregates, or multiplexes, lower rate client signals together and sends them out over a higher rate trunk port. Likewise, it demultiplexes optical signals coming in on a trunk and sends them out to individual client ports. A transponder converts a single client signal to a single trunk signal and converts a single incoming trunk signal to a single client signal.

All of the TXP and MXP cards perform optical to electrical to optical (OEO) conversion. As a result, they are not optically transparent cards. The reason for this is that the cards must operate on the signals passing through them, so it is necessary to do an OEO conversion.

On the other hand, the termination mode for all of the TXPs and MXPs, which is done at the electrical level, can be configured to be transparent. In this case, neither the Line nor the Section overhead is terminated. The cards can also be configured so that either Line or Section overhead can be terminated, or both can be terminated.


Note The MXP_2.5G_10G card, by design, when configured in the transparent termination mode, actually does terminate some of the bytes. See Table 16-68 for details.


16.1.5  Card Summary

Table 16-1 lists and summarizes the functions of each Cisco ONS 15454 DWDM and client card.

Table 16-1 DWDM and Client Cards for the ONS 15454 

Card
Port Description
For Additional Information
Optical Service Channel Cards
OSCM

The OSCM has one set of optical ports and one Ethernet port located on the faceplate. It operates in Slots 8 and 10.

See the "OSCM Card" section.

OSC-CSM

The OSC-CSM has three sets of optical ports and one Ethernet port located on the faceplate. It operates in Slots 1 to 6 and 12 to 17.

See the "OSC-CSM Card" section.

Optical Amplifier Cards
OPT-PRE

The OPT-PRE amplifier has five optical ports (three sets) located on the faceplate. It operates in Slots 1 to 6 and 12  to 17.

See the "OPT-PRE Amplifier" section.

OPT-BST

The OPT-BST amplifier has four sets of optical ports located on the faceplate. It operates in Slots 1 to 6 and 12  to 17.

See the "OPT-BST Amplifier Card" section.

OPT-BST-E

The OPT-BST-E amplifier has four sets of optical ports located on the faceplate. It operates in Slots 1 to 6 and 12  to 17.

See the "OPT-BST-E Amplifier Card" section.

Multiplexer and Demultiplexer Cards
32MUX-O

The 32MUX-O has five sets of ports located on the faceplate. It operates in Slots 1 to 5 and 12 to 16.

See the "32MUX-O Card" section.

32DMX-O

The 32DMX-O has five sets of ports located on the faceplate. It operates in Slots 1 to 5 and 12 to 16.

See the "32DMX-O Card" section.

32DMX

The 32DMX has five sets of ports located on the faceplate. It operates in Slots 1 to 6 and 12 to 17.

See the "32DMX Card" section

4MD-xx.x

The 4MD-xx.x card has five sets of ports located on the faceplate. It operates in Slots 1 to 6 and 12 to 17.

See the "4MD-xx.x Card" section.

Optical Add/Drop Multiplexer Cards
AD-1C-xx.x

The AD-1C-xx.x card has three sets of ports located on the faceplate. It operates in Slots 1 to 6 and 12 to 17.

See the "AD-1C-xx.x Card" section.

AD-2C-xx.x

The AD-2C-xx.x card has four sets of ports located on the faceplate. It operates in Slots 1 to 6 and 12 to 17.

See the "AD-2C-xx.x Card" section.

AD-4C-xx.x

The AD-4C-xx.x card has six sets of ports located on the faceplate. It operates in Slots 1 to 6 and 12 to 17.

See the "AD-4C-xx.x Card" section.

AD-1B-xx.x

The AD-1B-xx.x card has three sets of ports located on the faceplate. It operates in Slots 1 to 6 and 12 to 17.

See the "AD-1B-xx.x Card" section.

AD-4B-xx.x

The AD-4B-xx.x card has six sets of ports located on the faceplate. It operates in Slots 1 to 6 and 12 to 17.

See the "AD-4B-xx.x Card" section.

32WSS

The 32WSS card has seven sets of ports located on the faceplate. It operates in Slots 1 to 5 and 12 to 16.

See the "32WSS Card" section

Transponder and Muxponder Cards
TXP_MR_10G

The TXP_MR_10G card has two sets of ports located on the faceplate.

See the "TXP_MR_10G Card" section

TXP_MR_10E

The TXP_MR_10E card has two sets of ports located on the faceplate.

See the "TXP_MR_10E Card" section

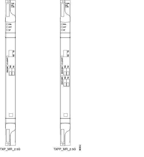
TXP_MR_2.5G

The TXP_MR_2.5G card has two sets of ports located on the faceplate.

See the "TXP_MR_2.5G and TXPP_MR_2.5G Cards" section

TXPP_MR_2.5G

The TXPP_MR_2.5G card has three sets of ports located on the faceplate.

See the "TXP_MR_2.5G and TXPP_MR_2.5G Cards" section

MXP_2.5G_10G

The MXP_2.5G_10G card has 9 sets of ports located on the faceplate.

See the "MXP_2.5G_10G Card" section.

MXP_2.5G_10E

The MXP_2.5G_10E card has 9 sets of ports located on the faceplate.

See the "MXP_2.5G_10E Card" section

MXP_MR_2.5G

The MXP_MR_2.5G card has 9 sets of ports located on the faceplate.

See the "MXP_MR_2.5G and MXPP_MR_2.5G Cards" section

MXPP_MR_2.5G

The MXPP_MR_2.5G card has ten sets of ports located on the faceplate.

See the "MXP_MR_2.5G and MXPP_MR_2.5G Cards" section


16.1.6  Card Compatibility

Table 16-2 lists the CTC software compatibility for each DWDM and client card.

Table 16-2 DWDM and Client Card CTC Software Release Compatibility 

Card Type
Compatibility
R4.5
R4.6
R4.7
R5.0
R6.0
Optical Service Channel Cards

Yes

Yes

Yes

Yes

Yes

OSCM

Yes

Yes

Yes

Yes

Yes

OSC-CSM

Yes

Yes

Yes

Yes

Yes

Optical Amplifier Cards

Yes

Yes

Yes

Yes

Yes

OPT-PRE

Yes

Yes

Yes

Yes

Yes

OPT-BST

Yes

Yes

Yes

Yes

Yes

OPT-BST-E

Yes

Yes

Yes

Yes

Yes

Multiplexer and Demultiplexer Cards

Yes

Yes

Yes

Yes

Yes

32MUX-O

Yes

Yes

Yes

Yes

Yes

32DMX-O

Yes

Yes

Yes

Yes

Yes

32DMX

No

No

Yes

Yes

Yes

4MD-xx.x

Yes

Yes

Yes

Yes

Yes

Optical Add/Drop Multiplexer Cards

Yes

Yes

Yes

Yes

Yes

AD-1C-xx.x

Yes

Yes

Yes

Yes

Yes

AD-2C-xx.x

Yes

Yes

Yes

Yes

Yes

AD-4C-xx.x

Yes

Yes

Yes

Yes

Yes

AD-1B-xx.x

Yes

Yes

Yes

Yes

Yes

AD-4B-xx.x

Yes

Yes

Yes

Yes

Yes

32WSS

No

No

Yes

Yes

Yes

Transponder and Muxponder Cards

Yes

Yes

Yes

Yes

Yes

TXP_MR_10G

Yes

Yes

Yes

Yes

Yes

TXP_MR_10E

No

No

Yes

Yes

Yes

TXP_MR_2.5G

Yes

Yes

Yes

Yes

Yes

TXPP_MR_2.5G

Yes

Yes

Yes

Yes

Yes

MXP_2.5G_10G

Yes

Yes

Yes

Yes

Yes

MXP_2.5G_10E

No

No

Yes

Yes

Yes

MXP_MR_2.5G

No

No

Yes

Yes

Yes

MXPP_MR_2.5G

No

No

Yes

Yes

Yes


16.1.7  Multiplexer, Demultiplexer, and OADM Card Interface Classes

The 32MUX-O, 32WSS, 32DMX, 32DMX-O, 4MD-xx.x, AD-1C-xx.x, AD-2C-xx.x, and AD-4C-xx.x cards have different input and output optical channel signals depending upon the interface card where the input signal originates. The input interface cards have been grouped in classes listed in Table 16-3. The subsequent tables list the optical performances and output power of each interface class.

Table 16-3 ONS 15454 Card Interfaces Assigned to Input Power Classes 

Input Power Class
Card

A

10-Gbps multirate transponder (TXP_MR_10G or TXP_MR_10E) with forward error correction (FEC) enabled or 10-Gbps muxponder (MXP_2.5G_10G or MXP_2.5G_10E) with FEC enabled

B

10-Gbps multirate transponder (TXP_MR_10G) without FEC or 10-Gbps muxponder (MXP_2.5G_10G) with FEC disabled

C

OC-192 LR ITU, TXP_MR_10E without FEC

D

2.5-Gbps multirate transponder (TXP_MR_2.5G), both protected and unprotected, with FEC enabled

E

2.5-Gbps multirate transponder (TXP_MR_2.5G), both protected and unprotected, with FEC disabled and reshape, regenerate, and retime (3R) mode enabled, or OC-48 100-GHz DWDM muxponder (MXP_MR_2.5G)

F

2.5-Gbps multirate transponder (TXP_MR_2.5G), both protected and unprotected, in regenerate and reshape (2R) mode

G

OC-48 ELR 100 GHz

H

2/4 port GbE transponder (GBIC WDM 100GHz)

I

TXP_MR_10E with extended FEC (E-FEC) or MXP_2.5G_10E with E-FEC enabled


10-Gbps cards that provide signal input to OADM cards have the optical performance parameters listed in Table 16-4. 2.5-Gbps card interface performance parameters are listed in Table 16-5.

Table 16-4 10-Gbps Interface Optical Performance 

Parameter
Class A
Class B
Class C
Class I
Type
Power Limited
OSNR 1 Limited
Power Limited
OSNR Limited
OSNR Limited
Power Limited
OSNR Limited

Maximum bit rate

10 Gbps

10 Gbps

10 Gbps

10 Gbps

Regeneration

3R

3R

3R

3R

FEC

Yes

No

No

Yes (E-FEC)

Threshold

Optimum

Average

Average

Optimum

Maximum BER2

10-15

10-12

10-12

10-15

OSNR1 sensitivity

23 dB

9 dB

23 dB

19 dB

19 dB

20 dB

8 dB

Power sensitivity

-24 dBm

-18 dBm

-21 dBm

-20 dBm

-22 dBm

-26 dBm

-18 dBm

Power overload

-8 dBm

-8 dBm

-9 dBm

-8 dBm

Transmitted Power Range3

10-Gbps multirate transponder/10-Gbps FEC transponder (TXP_MR_10G)

+2.5 to 3.5 dBm

+2.5 to 3.5 dBm

OC-192 LR ITU

+3.0 to 6.0 dBm

10-Gbps multirate transponder/10-Gbps FEC transponder (TXP_MR_10E)

+3.0 to 6.0 dBm

+3.0 to 6.0 dBm

+3.0 to 6.0 dBm

Dispersion compensation tolerance

+/-800 ps/nm

+/-1,000 ps/nm

+/-1,000 ps/nm

+/-800 ps/nm

1 OSNR = optical signal-to-noise ratio

2 BER = bit error rate

3 These values, decreased by patch cord and connector losses, are also the input power values for the OADM cards.


Table 16-5 2.5-Gbps Interface Optical Performance 

Parameter
Class D
Class E
Class F
Class G
Class H
Class J
Type
Power Limited
OSNR Limited
Power Limited
OSNR Limited
OSNR Limited
Power Limited
OSNR Limited
Power Limited
OSNR Limited
Power Limited

Maximum bit rate

2.5 Gbps

2.5 Gbps

2.5 Gbps

2.5 Gbps

1.25 Gbps

2.5 Gbps

Regeneration

3R

3R

2R

3R

3R

3R

FEC

Yes

No

No

No

No

No

Threshold

Average

Average

Average

Average

Average

Average

Maximum BER

10-15

10-12

10-12

10-12

10-12

10-12

OSNR sensitivity

14 dB

6 dB

14 dB

10 dB

15 dB

14 dB

11 dB

13 dB

8 dB

12 dB

Power sensitivity

-31 dBm

-25 dBm

-30 dBm

-23 dBm

-24 dBm

-27 dBm

-33 dBm

-28 dBm

-18 dBm

-26 dBm

Power overload

-9 dBm

-9 dBm

-9 dBm

-9 dBm

-7 dBm

-17dBm

Transmitted Power Range1

     

TXP_MR_2.5G

-1.0 to 1.0 dBm

-1.0 to 1.0 dBm

-1.0 to 1.0 dBm

-2.0 to 0 dBm

   

TXPP_MR_2.5G

-4.5 to -2.5 dBm

-4.5 to -2.5 dBm

-4.5 to -2.5 dBm

MXP_MR_2.5G

+2.0 to +4.0 dBm

MXPP_MR_2.5G

-1.5 to +0.5 dBm

2/4 port GbE Transponder (GBIC WDM 100GHz)

             

+2.5 to 3.5 dBm

Dispersion compensation tolerance

-1200 to +5400 ps/nm

-1200 to +5400 ps/nm

-1200 to +3300 ps/nm

-1200 to +3300 ps/nm

-1000 to +3600 ps/nm

-1000 to +3200 ps/nm

1 These values, decreased by patchcord and connector losses, are also the input power values for the OADM cards.


16.1.8  DWDM Card Channel Allocation Plan

ONS 15454 DWDM multiplexers, demultiplexers, channel OADM, and band OADM cards are designed for use with specific channels. In most cases, the channels for these cards are either numbered (1 to 32) or delimited (odd or even). Client interfaces must comply with these channel assignments to be compatible with the ONS 15454 system.

Table 16-6 lists the channel IDs and wavelengths assigned to the DWDM channels.

Table 16-6 DWDM Channel Allocation Plan 

Channel Number
Channel ID
Frequency (THz)
Wavelength (nm)

1

30.3

195.9

1530.33

2

31.2

195.8

1531.12

3

31.9

195.7

1531.90

4

32.6

195.6

1532.68

5

34.2

195.4

1534.25

6

35.0

195.3

1535.04

7

35.8

195.2

1535.82

8

36.6

195.1

1536.61

9

38.1

194.9

1538.19

10

38.9

194.8

1538.98

11

39.7

194.7

1539.77

12

40.5

194.6

1540.56

13

42.1

194.4

1542.14

14

42.9

194.3

1542.94

15

43.7

194.2

1543.73

16

44.5

194.1

1544.53

17

46.1

193.9

1546.12

18

46.9

193.8

1546.92

19

47.7

193.7

1547.72

20

48.5

193.6

1548.51

21

50.1

193.4

1550.12

22

50.9

193.3

1550.92

23

51.7

193.2

1551.72

24

52.5

193.1

1552.52

25

54.1

192.9

1554.13

26

54.9

192.8

1554.94

27

55.7

192.7

1555.75

28

56.5

192.6

1556.55

29

58.1

192.4

1558.17

30

58.9

192.3

1558.98

31

59.7

192.2

1559.79

32

60.6

192.1

1560.61


16.2  Common Control Cards

This section describes the common control cards (TCC2, TCC2P, and AIC-I).

16.2.1  TCC2 Card

The Advanced Timing, Communications, and Control (TCC2) card performs system initialization, provisioning, alarm reporting, maintenance, diagnostics, IP address detection/resolution, SONET section overhead (SOH) data communications channel/generic communications channel (DCC/GCC) termination, optical service channel (OSC) DWDM data communications network (DCN) termination, and system fault detection for the ONS 15454. The TCC2 also ensures that the system maintains Stratum 3 (Telcordia GR-253-CORE) timing requirements. It monitors the supply voltage of the system.


Note The LAN interface of the TCC2 card meets the standard Ethernet specifications by supporting a cable length of 328 ft (100 m) at temperatures from 32 to 149 degrees Fahrenheit (0 to 65 degrees Celsius).


Figure 16-1 shows the faceplate and block diagram for the TCC2.

Figure 16-1 TCC2 Faceplate and Block Diagram

16.2.1.1  TCC2 Functionality

The TCC2 card terminates up to 32 DCCs. The TCC2 hardware is prepared for up to 84 DCCs, which will be available in a future software release.

The node database, IP address, and system software are stored in TCC2 nonvolatile memory, which allows quick recovery in the event of a power or card failure.

The TCC2 performs all system-timing functions for each ONS 15454. The TCC2 monitors the recovered clocks from each traffic card and two building integrated timing supply (BITS) ports for frequency accuracy. The TCC2 selects a recovered clock, a BITS, or an internal Stratum 3 reference as the system-timing reference. You can provision any of the clock inputs as primary or secondary timing sources. A slow-reference tracking loop allows the TCC2 to synchronize with the recovered clock, which provides holdover if the reference is lost.

The TCC2 monitors both supply voltage inputs on the shelf. An alarm is generated if one of the supply voltage inputs has a voltage out of the specified range.

Install TCC2 cards in Slots 7 and 11 for redundancy. If the active TCC2 fails, traffic switches to the protect TCC2.

The TCC2 card has two built-in interface ports for accessing the system: an RJ-45 10BaseT LAN interface and an EIA/TIA-232 ASCII interface for local craft access. It also has a 10BaseT LAN port for user interfaces via the backplane.

16.2.1.2  Redundant TCC2 Card Installation

Cisco does not support operation of the ONS 15454 with only one TCC2 card. For full functionality and to safeguard your system, always operate with two TCC2 cards.

When a second TCC2 card is inserted into a node, it synchronizes its software, its backup software, and its database with the active TCC2. If the software version of the new TCC2 does not match the version on the active TCC2, the newly inserted TCC2 copies from the active TCC2, taking about 15 to 20 minutes to complete. If the backup software version on the new TCC2 does not match the version on the active TCC2, the newly inserted TCC2 copies the backup software from the active TCC2 again, taking about 15 to 20 minutes. Copying the database from the active TCC2 takes about 3 minutes. Depending on the software version and backup version the new TCC2 started with, the entire process can take between 3 and 40 minutes.

16.2.1.3  TCC2 Card-Level Indicators

The TCC2 faceplate has eight LEDs. Table 16-7 describes the two card-level LEDs on the TCC2 faceplate.

Table 16-7 TCC2 Card-Level Indicators  

Card-Level LEDs
Definition

Red FAIL LED

This LED is on during reset. The FAIL LED flashes during the boot and write process. Replace the card if the FAIL LED persists.

ACT/STBY LED

Green (Active)

Yellow (Standby)

Indicates the TCC2 is active (green) or in standby (yellow) mode. The ACT/STBY LED also provides the timing reference and shelf control. When the active TCC2 is writing to its database or to the standby TCC2 database, the card LEDs blink. To avoid memory corruption, do not remove the TCC2 when the active or standby LED is blinking.


16.2.1.4  Network-Level Indicators

Table 16-8 describes the six network-level LEDs on the TCC2 faceplate.

Table 16-8 TCC2 Network-Level Indicators 

System-Level LEDs
Definition

Red CRIT LED

Indicates critical alarms in the network at the local terminal.

Red MAJ LED

Indicates major alarms in the network at the local terminal.

Yellow MIN LED

Indicates minor alarms in the network at the local terminal.

Red REM LED

Provides first-level alarm isolation. The remote (REM) LED turns red when an alarm is present in one or more of the remote terminals.

Green SYNC LED

Indicates that node timing is synchronized to an external reference.

Green ACO LED

After pressing the alarm cutoff (ACO) button, the ACO LED turns green. The ACO button opens the audible alarm closure on the backplane. ACO is stopped if a new alarm occurs. After the originating alarm is cleared, the ACO LED and audible alarm control are reset.


16.2.2  TCC2P Card

The Advanced Timing, Communications, and Control Plus (TCC2P) card is an enhanced version of the TCC2 card. The primary enhancements are Ethernet security features and 64K composite clock BITS timing.

The TCC2P card performs system initialization, provisioning, alarm reporting, maintenance, diagnostics, IP address detection/resolution, SONET SOH DCC/GCC termination, and system fault detection for the ONS 15454. The TCC2P also ensures that the system maintains Stratum 3 (Telcordia GR-253-CORE) timing requirements. It monitors the supply voltage of the system.


Note The LAN interface of the TCC2P card meets the standard Ethernet specifications by supporting a cable length of 328 ft (100 m) at temperatures from 32 to 149 degrees Fahrenheit (0 to 65 degrees Celsius). The interfaces can operate with a cable length of 32.8 ft (10 m) maximum at temperatures from -40 to 32 degrees Fahrenheit (-40 to 0 degrees Celsius).


Figure 16-2 shows the faceplate and block diagram for the TCC2P card.

Figure 16-2 TCC2P Faceplate and Block Diagram

16.2.3  TCC2P Functionality

The TCC2P card supports multichannel, high-level data link control (HDLC) processing for the DCC. Up to 84 DCCs can be routed over the TCC2P card and up to 84 section DCCs can be terminated at the TCC2P card (subject to the available optical digital communication channels). The TCC2P selects and processes 84 DCCs to facilitate remote system management interfaces.

The TCC2P card also originates and terminates a cell bus carried over the module. The cell bus supports links between any two cards in the node, which is essential for peer-to-peer communication. Peer-to-peer communication accelerates protection switching for redundant cards.

The node database, IP address, and system software are stored in TCC2P card nonvolatile memory, which allows quick recovery in the event of a power or card failure.

The TCC2P card performs all system-timing functions for each ONS 15454. The TCC2P card monitors the recovered clocks from each traffic card and two BITS ports for frequency accuracy. The TCC2P card selects a recovered clock, a BITS, or an internal Stratum 3 reference as the system-timing reference. You can provision any of the clock inputs as primary or secondary timing sources. A slow-reference tracking loop allows the TCC2P card to synchronize with the recovered clock, which provides holdover if the reference is lost.

The TCC2P card supports 64/8K composite clock and 6.312 MHz timing output.

The TCC2P card monitors both supply voltage inputs on the shelf. An alarm is generated if one of the supply voltage inputs has a voltage out of the specified range.

Install TCC2P cards in Slots 7 and 11 for redundancy. If the active TCC2P card fails, traffic switches to the protect TCC2P card. All TCC2P card protection switches conform to protection switching standards when the bit error rate (BER) counts are not in excess of 1 * 10 exp - 3 and completion time is less than 50 ms.

The TCC2P card has two built-in Ethernet interface ports for accessing the system: one built-in RJ-45 port on the front faceplate for on-site craft access and a second port on the backplane. The rear Ethernet interface is for permanent LAN access and all remote access via TCP/IP as well as for Operations Support System (OSS) access. The front and rear Ethernet interfaces can be provisioned with different IP addresses using CTC.

Two EIA/TIA-232 serial ports, one on the faceplate and a second on the backplane, allow for craft interface in TL1 mode.

16.2.3.1  Redundant TCC2P Card Installation

Cisco does not support operation of the ONS 15454 with only one TCC2P card. For full functionality and to safeguard your system, always operate with two TCC2P cards.

When a second TCC2P card is inserted into a node, it synchronizes its software, its backup software, and its database with the active TCC2P card. If the software version of the new TCC2P card does not match the version on the active TCC2P card, the newly inserted TCC2P card copies from the active TCC2P card, taking about 15 to 20 minutes to complete. If the backup software version on the new TCC2P card does not match the version on the active TCC2P card, the newly inserted TCC2P card copies the backup software from the active TCC2P card again, taking about 15 to 20 minutes. Copying the database from the active TCC2P card takes about 3 minutes. Depending on the software version and backup version the new TCC2P card started with, the entire process can take between 3 and 40 minutes.

16.2.3.2  TCC2P Card-Level Indicators

The TCC2P faceplate has eight LEDs. Table 16-9 describes the two card-level LEDs on the TCC2P faceplate.

Table 16-9 TCC2P Card-Level Indicators  

Card-Level LEDs
Definition

Red FAIL LED

This LED is on during reset. The FAIL LED flashes during the boot and write process. Replace the card if the FAIL LED persists.

ACT/STBY LED

Green (Active)

Amber (Standby)

Indicates the TCC2P is active (green) or in standby (amber) mode. The ACT/STBY LED also provides the timing reference and shelf control. When the active TCC2P is writing to its database or to the standby TCC2P database, the card LEDs blink. To avoid memory corruption, do not remove the TCC2P when the active or standby LED is blinking.


16.2.3.3  Network-Level Indicators

Table 16-10 describes the six network-level LEDs on the TCC2P faceplate.

Table 16-10 TCC2P Network-Level Indicators 

System-Level LEDs
Definition

Red CRIT LED

Indicates critical alarms in the network at the local terminal.

Red MAJ LED

Indicates major alarms in the network at the local terminal.

Amber MIN LED

Indicates minor alarms in the network at the local terminal.

Red REM LED

Provides first-level alarm isolation. The remote (REM) LED turns red when an alarm is present in one or more of the remote terminals.

Green SYNC LED

Indicates that node timing is synchronized to an external reference.

Green ACO LED

After pressing the ACO button, the ACO LED turns green. The ACO button opens the audible alarm closure on the backplane. ACO is stopped if a new alarm occurs. After the originating alarm is cleared, the ACO LED and audible alarm control are reset.


16.2.4  AIC-I Card

The optional Alarm Interface Controller-International (AIC-I) card provides customer-defined (environmental) alarms and controls and supports local and express orderwire. It provides 12 customer-defined input and 4 customer-defined input/output contacts. The physical connections are via the backplane wire-wrap pin terminals. If you use the additional alarm expansion panel (AEP), the AIC-I card can support up to 32 inputs and 16 outputs, which are connected on the AEP connectors. The AEP is compatible with ANSI shelves only. A power monitoring function monitors the supply voltage (-48 VDC). Figure 16-3 shows the AIC-I faceplate and a block diagram of the card.

Figure 16-3 AIC-I Faceplate and Block Diagram

16.2.4.1  AIC-I Card-Level Indicators

Table 16-11 describes the eight card-level LEDs on the AIC-I card faceplate.

Table 16-11 AIC-I Card-Level Indicators 

Card-Level LEDs
Description

Red FAIL LED

Indicates that the card's processor is not ready. The FAIL LED is on during reset and flashes during the boot process. Replace the card if the red FAIL LED persists.

Green ACT LED

Indicates the AIC-I card is provisioned for operation.

Green/red PWR A LED

The PWR A LED is green when a supply voltage within a specified range has been sensed on supply input A. It is red when the input voltage on supply input A is out of range.

Green/red PWR B LED

The PWR B LED is green when a supply voltage within a specified range has been sensed on supply input B. It is red when the input voltage on supply input B is out of range.

Yellow INPUT LED

The INPUT LED is yellow when there is an alarm condition on at least one of the alarm inputs.

Yellow OUTPUT LED

The OUTPUT LED is yellow when there is an alarm condition on at least one of the alarm outputs.

Green RING LED

The RING LED on the local orderwire (LOW) side is flashing green when a call is received on the LOW.

Green RING LED

The RING LED on the express orderwire (EOW) side is flashing green when a call is received on the EOW.


16.2.4.2  External Alarms and Controls

The AIC-I card provides input/output alarm contact closures. You can define up to 12 external alarm inputs and 4 external alarm inputs/outputs (user configurable). The physical connections are made using the backplane wire-wrap pins or FMEC connections. See the "ONS 15454 ANSI Alarm Expansion Panel" section for information about increasing the number of input/output contacts.

LEDs on the front panel of the AIC-I indicate the status of the alarm lines, one LED representing all of the inputs and one LED representing all of the outputs. External alarms (input contacts) are typically used for external sensors such as open doors, temperature sensors, flood sensors, and other environmental conditions. External controls (output contacts) are typically used to drive visual or audible devices such as bells and lights, but they can control other devices such as generators, heaters, and fans.

You can program each of the twelve input alarm contacts separately. You can program each of the sixteen input alarm contacts separately. Choices include:

Alarm on Closure or Alarm on Open

Alarm severity of any level (Critical, Major, Minor, Not Alarmed, Not Reported)

Service Affecting or Non-Service Affecting alarm-service level

63-character alarm description for CTC display in the alarm log.

You cannot assign the fan-tray abbreviation for the alarm; the abbreviation reflects the generic name of the input contacts. The alarm condition remains raised until the external input stops driving the contact or you provision the alarm input.

The output contacts can be provisioned to close on a trigger or to close manually. The trigger can be a local alarm severity threshold, a remote alarm severity, or a virtual wire:

Local NE alarm severity: A hierarchy of Not Reported, Not Alarmed, Minor, Major, or Critical alarm severities that you set to cause output closure. For example, if the trigger is set to Minor, a Minor alarm or above is the trigger.

Remote NE alarm severity: Same as the local NE alarm severity but applies to remote alarms only.

Virtual wire entities: You can provision any environmental alarm input to raise a signal on any virtual wire on external outputs 1 through 4 when the alarm input is an event. You can provision a signal on any virtual wire as a trigger for an external control output.

You can also program the output alarm contacts (external controls) separately. In addition to provisionable triggers, you can manually force each external output contact to open or close. Manual operation takes precedence over any provisioned triggers that might be present.


Note For ANSI shelves, the number of inputs and outputs can be increased using the AEP. The AEP is connected to the shelf backplane and requires an external wire-wrap panel.


16.2.4.3  Orderwire

Orderwire allows a craftsperson to plug a phoneset into an ONS 15454 and communicate with craftspeople working at other ONS 15454s or other facility equipment. The orderwire is a pulse code modulation (PCM) encoded voice channel that uses E1 or E2 bytes in section/line overhead.

The AIC-I allows simultaneous use of both local (section overhead signal) and express (line overhead channel) orderwire channels on a SONET/SDH ring or particular optics facility. Express orderwire also allows communication via regeneration sites when the regenerator is not a Cisco device.

You can provision orderwire functions with CTC similar to the current provisioning model for DCC/GCC channels. In CTC, you provision the orderwire communications network during ring turn-up so that all NEs on the ring can reach one another. Orderwire terminations (that is, the optics facilities that receive and process the orderwire channels) are provisionable. Both express and local orderwire can be configured as on or off on a particular SONET/SDH facility. The ONS 15454 supports up to four orderwire channel terminations per shelf. This allows linear, single ring, dual ring, and small hub-and-spoke configurations. Orderwire is not protected in ring topologies such as BLSR/MS-SPRing and path protection/SNCP.


Caution Do not configure orderwire loops. Orderwire loops cause feedback that disables the orderwire channel.

The ONS 15454 implementation of both local and express orderwire is broadcast in nature. The line acts as a party line. Anyone who picks up the orderwire channel can communicate with all other participants on the connected orderwire subnetwork. The local orderwire party line is separate from the express orderwire party line. Up to four OC-N/STM-N facilities for each local and express orderwire are provisionable as orderwire paths.

The AIC-I supports selective dual tone multifrequency (DTMF) dialing for telephony connectivity, which causes one AIC-I card or all ONS 15454 AIC-I cards on the orderwire subnetwork to "ring." The ringer/buzzer resides on the AIC-I. There is also a "ring" LED that mimics the AIC-I ringer. It flashes when a call is received on the orderwire subnetwork. A party line call is initiated by pressing *0000 on the DTMF pad. Individual dialing is initiated by pressing * and the individual four-digit number on the DTMF pad.

Table 16-12 shows the pins on the orderwire connector that correspond to the tip and ring orderwire assignments.

Table 16-12 Orderwire Pin Assignments

RJ-11 Pin Number
Description

1

Four-wire receive ring

2

Four-wire transmit tip

3

Two-wire ring

4

Two-wire tip

5

Four-wire transmit ring

6

Four-wire receive tip


When provisioning the orderwire subnetwork, make sure that an orderwire loop does not exist. Loops cause oscillation and an unusable orderwire channel.

Figure 16-4 shows the standard RJ-11 connectors used for orderwire ports.

Figure 16-4 RJ-11 Connector

16.2.4.4  Power Monitoring

The AIC-I card provides a power monitoring circuit that monitors the supply voltage of -48 VDC for presence, undervoltage, and overvoltage.

16.2.4.5  User Data Channel

The user data channel (UDC) features a dedicated data channel of 64 kbps (F1 byte) between two nodes in an ONS 15454 network. Each AIC-I card provides two user data channels, UDC-A and UDC-B, through separate RJ-11 connectors on the front of the AIC-I card. Each UDC can be routed to an individual optical interface in the ONS 15454. For instructions, see the "DLP-G110 Create a User Data Channel Circuit" task.

The UDC ports are standard RJ-11 receptacles. Table 16-13 lists the UDC pin assignments.

Table 16-13 UDC Pin Assignments 

RJ-11 Pin Number
Description

1

For future use

2

TXN

3

RXN

4

RXP

5

TXP

6

For future use


16.2.4.6  Data Communications Channel

The DCC features a dedicated data channel of 576 kbps (D4 to D12 bytes) between two nodes in an ONS 15454 network. Each AIC-I card provides two data communications channels, DCC-A and DCC-B, through separate RJ-45 connectors on the front of the AIC-I card. Each DCC can be routed to an individual optical interface in the ONS 15454. For instructions, see the "DLP-G110 Create a User Data Channel Circuit" task.

The DCC ports are standard RJ-45 receptacles. Table 16-14 lists the DCC pin assignments.

Table 16-14 DCC Pin Assignments

RJ-45 Pin Number
Description

1

TCLKP

2

TCLKN

3

TXP

4

TXN

5

RCLKP

6

RCLKN

7

RXP

8

RXN


16.3  Front Mount Electrical Connections

This section describes the MIC-A/P and MIC-C/T/P FMECs, which provide power, external alarm, and timing connections for the ONS 15454 ETSI shelf.

16.3.1  MIC-A/P FMEC

The MIC-A/P FMEC provides connection for the BATTERY B input, one of the two possible redundant power supply inputs. It also provides connection for eight alarm outputs (coming from the TCC2/TCC2P card), sixteen alarm inputs, and four configurable alarm inputs/outputs. Its position is in Slot 23 in the center of the subrack Electrical Facility Connection Assembly (EFCA) area.

The MIC-A/P FMEC has the following features:

Connection for one of the two possible redundant power supply inputs

Connection for eight alarm outputs (coming from the TCC2/TCC2P card)

Connection for four configurable alarm inputs/outputs

Connection for sixteen alarm inputs

Storage of manufacturing and inventory data

For proper system operation, both the MIC-A/P and MIC-C/T/P FMECs must be installed in the ONS 15454 ETSI shelf. Figure 16-5 shows the MIC-A/P faceplate.

Figure 16-5 MIC-A/P Faceplate

Figure 16-6 shows a block diagram of the MIC-A/P.

Figure 16-6 MIC-A/P Block Diagram

Table 16-15 shows the alarm interface pinouts on the MIC-A/P DB-62 connector.

Table 16-15 Alarm Interface Pinouts on the MIC-A/P DB-62 Connector 

Pin No.
Signal Name
Signal Description

1

ALMCUTOFF N

Alarm cutoff, normally open ACO pair

2

ALMCUTOFF P

Alarm cutoff, normally open ACO pair

3

ALMINP0 N

Alarm input pair 1, reports closure on connected wires

4

ALMINP0 P

Alarm input pair 1, reports closure on connected wires

5

ALMINP1 N

Alarm input pair 2, reports closure on connected wires

6

ALMINP1 P

Alarm input pair 2, reports closure on connected wires

7

ALMINP2 N

Alarm input pair 3, reports closure on connected wires

8

ALMINP2 P

Alarm input pair 3, reports closure on connected wires

9

ALMINP3 N

Alarm input pair 4, reports closure on connected wires

10

ALMINP3 P

Alarm input pair 4, reports closure on connected wires

11

EXALM0 N

External customer alarm 1

12

EXALM0 P

External customer alarm 1

13

GND

Ground

14

EXALM1 N

External customer alarm 2

15

EXALM1 P

External customer alarm 2

16

EXALM2 N

External customer alarm 3

17

EXALM2 P

External customer alarm 3

18

EXALM3 N

External customer alarm 4

19

EXALM3 P

External customer alarm 4

20

EXALM4 N

External customer alarm 5

21

EXALM4 P

External customer alarm 5

22

EXALM5 N

External customer alarm 6

23

EXALM5 P

External customer alarm 6

24

EXALM6 N

External customer alarm 7

25

EXALM6 P

External customer alarm 7

26

GND

Ground

27

EXALM7 N

External customer alarm 8

28

EXALM7 P

External customer alarm 8

29

EXALM8 N

External customer alarm 9

30

EXALM8 P

External customer alarm 9

31

EXALM9 N

External customer alarm 10

32

EXALM9 P

External customer alarm 10

33

EXALM10 N

External customer alarm 11

34

EXALM10 P

External customer alarm 11

35

EXALM11 N

External customer alarm 12

36

EXALM11 P

External customer alarm 12

37

ALMOUP0 N

Normally open output pair 1

38

ALMOUP0 P

Normally open output pair 1

39

GND

Ground

40

ALMOUP1 N

Normally open output pair 2

41

ALMOUP1 P

Normally open output pair 2

42

ALMOUP2 N

Normally open output pair 3

43

ALMOUP2 P

Normally open output pair 3

44

ALMOUP3 N

Normally open output pair 4

45

ALMOUP3 P

Normally open output pair 4

46

AUDALM0 N

Normally open Minor audible alarm

47

AUDALM0 P

Normally open Minor audible alarm

48

AUDALM1 N

Normally open Major audible alarm

49

AUDALM1 P

Normally open Major audible alarm

50

AUDALM2 N

Normally open Critical audible alarm

51

AUDALM2 P

Normally open Critical audible alarm

52

GND

Ground

53

AUDALM3 N

Normally open Remote audible alarm

54

AUDALM3 P

Normally open Remote audible alarm

55

VISALM0 N

Normally open Minor visual alarm

56

VISALM0 P

Normally open Minor visual alarm

57

VISALM1 N

Normally open Major visual alarm

58

VISALM1 P

Normally open Major visual alarm

59

VISALM2 N

Normally open Critical visual alarm

60

VISALM2 P

Normally open Critical visual alarm

61

VISALM3 N

Normally open Remote visual alarm

62

VISALM3 P

Normally open Remote visual alarm


16.3.2  MIC-C/T/P FMEC

The MIC-C/T/P FMEC provides connection for the BATTERY A input, one of the two possible redundant power supply inputs. It also provides connection for system management serial port, system management LAN port, modem port (for future use), and system timing inputs and outputs. Install the MIC-C/T/P in Slot 24.

The MIC-C/T/P FMEC has the following features:

Connection for one of the two possible redundant power supply inputs

Connection for two serial ports for local craft/modem (for future use)

Connection for one LAN port

Connection for two system timing inputs

Connection for two system timing outputs

Storage of manufacturing and inventory data

For proper system operation, both the MIC-A/P and MIC-C/T/P FMECs must be installed in the shelf.

Figure 16-7 shows the MIC-C/T/P FMEC faceplate.

Figure 16-7 MIC-C/T/P Faceplate

Figure 16-8 shows a block diagram of the MIC-C/T/P.

Figure 16-8 MIC-C/T/P Block Diagram

The MIC-C/T/P FMEC has one pair of LEDs located on the RJ45 LAN connector. The green LED is on when a link is present, and the amber LED is on when data is being transferred.

16.4  Optical Service Channel Cards

This section describes the optical service channel cards. An optical service channel (OSC) is a bidirectional channel connecting two adjacent nodes in a DWDM ring. For every DWDM node (except terminal nodes), two different OSC terminations are present, one for the West side and another for the East side. The channel transports OSC overhead that is used to manage ONS 15454 DWDM networks. An OSC signal uses the 1510-nm wavelength and does not affect client traffic. The primary purpose of this channel is to carry clock synchronization and orderwire channel communications for the DWDM network. It also provides transparent links between each node in the network. The OSC is an OC-3/STM-1 formatted signal.

There are two versions of the OSC modules: the OSCM, and the OSC-CSM, which contains the OSC wavelength combiner and separator component in addition to the OSC module.

16.4.1  OSCM Card

The OSCM card is used in amplified nodes that include the OPT-BST or OPT-BST-E booster amplifier. The OPT-BST and OPT-BST-E include the required OSC wavelength combiner and separator component. The OSCM cannot be used in nodes where you use OC-N/STM-N cards, electrical cards, or cross-connect cards. The OSCM uses Slots 8 and 10, which are also cross-connect card slots.

The OSCM supports the following features:

OC-3/STM-1 formatted OSC

Supervisory data channel (SDC) forwarded to the TCC2/TCC2P cards for processing

Distribution of the synchronous clock to all nodes in the ring

100BaseT far-end (FE) UDC

Monitoring functions such as orderwire support and optical safety

The OC-3/STM-1 section data communications channel (SDCC) overhead bytes are used for network communications. An optical transceiver terminates the OC-3/STM-1, then it is regenerated and converted into an electrical signal. The SDCC bytes are forwarded to the active and standby TCC2/TCC2P cards for processing via the system communication link (SCL) bus on the backplane. Orderwire bytes (E1, E2, F1) are also forwarded via the SCL bus to the TCC2/TCC2P for forwarding to the AIC-I card.

The payload portion of the OC-3/STM-1 is used to carry the fast Ethernet UDC. The frame is sent to a packet-over-SONET/SDH (POS) processing block that extracts the Ethernet packets and makes them available at the RJ-45 connector.

The OSCM distributes the reference clock information by removing it from the incoming OC-3/STM-1 signal and then sending it to the DWDM cards. The DWDM cards then forward the clock information to the active and standby TCC2/TCC2P cards.

Figure 16-9 shows the OSCM faceplate.

Figure 16-9 OSCM Card Faceplate

Figure 16-10 shows a block diagram of the OSCM card.

Figure 16-10 OSCM Block Diagram

Figure 16-11 shows the block diagram of the variable optical attenuator (VOA) within the OSCM.

Figure 16-11 OSCM VOA Optical Module Functional Block Diagram

16.4.1.1  Power Monitoring

Physical photodiode P1 monitors the power for the OSCM card. The returned power level value is calibrated to the OSC TX port (Table 16-16).

Table 16-16 OSCM VOA Port Calibration

Photodiode
CTC Type Name
Calibrated to Port

P1

Output OSC

OSC TX


16.4.1.2  OSCM Card-Level Indicators

The OSCM card has three card-level LED indicators, described in Table 16-17.

Table 16-17 OSCM Card-Level Indicators  

Card-Level Indicators
Description

Red FAIL LED

The red FAIL LED indicates that the card's processor is not ready or that there is an internal hardware failure. Replace the card if the red FAIL LED persists.

Green ACT LED

The green ACT LED indicates that the OSCM is carrying traffic or is traffic-ready.

Amber SF LED

The amber SF LED indicates a signal failure or condition such as loss of signal (LOS), loss of frame alignment (LOF), line alarm indication signal (AIS-L), or high BER on one or more of the card's ports. The amber signal fail (SF) LED also illuminates when the transmit and receive fibers are incorrectly connected. When the fibers are properly connected, the light turns off.


16.4.1.3  OSCM Port-Level Indicators

You can find the status of the card ports using the LCD screen on the ONS 15454 fan-tray assembly. Use the LCD to view the status of any port or card slot; the screen displays the number and severity of alarms for a given port or slot. The OSCM has one OC-3/STM-1 optical port located on the faceplate. One long-reach OSC transmits and receives the OSC to and from another DWDM node. Both data communications network (DCN) data and FE payload are carried on this link.

16.4.2  OSC-CSM Card

The OSC-CSM card is used in unamplified nodes. This means that the booster amplifier with the OSC wavelength combiner and separator is not required for OSC-CSM operation. The OSC-CSM can be installed in Slots 1 to 6 and 12 to 17. To operate in hybrid mode, the OSC-CSM cards must be accompanied by cross-connect cards. The cross-connect cards enable functionality on the OC-N/STM-N cards and electrical cards.

The OSC-CSM supports the following features:

Optical combiner and separator module for multiplexing and demultiplexing the optical service channel to or from the wavelength division multiplexing (WDM) signal

OC-3/STM-1 formatted OSC

SDC forwarded to the TCC2/TCC2P cards for processing

Distribution of the synchronous clock to all nodes in the ring

100BaseT FE UDC

Monitoring functions such as orderwire support

Optical safety: Signal loss detection and alarming, fast transmitted power shut down by means of an optical 1x1 switch

Optical safety remote interlock (OSRI), a feature capable of shutting down the optical output power

Automatic laser shutdown (ALS), a safety mechanism used in the event of a fiber cut

The WDM signal coming from the line is passed through the OSC combiner and separator, where the OSC signal is extracted from the WDM signal. The WDM signal is sent along with the remaining channels to the COM port (label on the front panel) for routing to the OADM or amplifier units, while the OSC signal is sent to an optical transceiver.

The OSC is an OC-3/STM-1 formatted signal. The OC-3/STM-1 SDCC overhead bytes are used for network communications. An optical transceiver terminates the OC-3/STM-1, and then it is regenerated and converted into an electrical signal. The SDCC bytes are forwarded to the active and standby TCC2/TCC2P cards for processing via the SCL bus on the backplane. Orderwire bytes (E1, E2, F1) are also forwarded via the SCL bus to the TCC2/TCC2P for forwarding to the AIC-I card.

The payload portion of the OC-3/STM-1 is used to carry the fast Ethernet UDC. The frame is sent to a POS processing block that extracts the Ethernet packets and makes them available at the RJ-45 front panel connector.

The OSC-CSM distributes the reference clock information by removing it from the incoming OC-3/STM-1 signal and then sending it to the active and standby TCC2/TCC2P cards. The clock distribution is different from the OSCM card because the OSC-CSM does not use Slot 8 or 10 (cross-connect card slots).


Note S1 and S2 (Figure 16-14) are optical splitters with a splitter ratio of 2:98. The result is that the power at the MON TX port is about 17 dB lower than the relevant power at the COM RX port, and the power at the MON RX port is about 20 dB lower than the power at the COM TX port. The difference is due to the presence of a tap coupler for the P1 photodiode.


Figure 16-12 shows the OSC-CSM faceplate.

Figure 16-12 OSC-CSM Faceplate

Figure 16-13 shows a block diagram of the OSC-CSM card.

Figure 16-13 OSC-CSM Block Diagram

Figure 16-14 shows the OSC-CSM optical module functional block diagram.

Figure 16-14 OSC-CSM Optical Module Functional Block Diagram

16.4.2.1  Power Monitoring

Physical photodiodes P1, P2, P3, and P5 monitor the power for the OSC-CSM card. Their function is as follows:

P1 and P2: The returned power value is calibrated to the LINE RX port, including the insertion loss of the previous filter (the reading of this power dynamic range has been brought backward towards the LINE RX output).

P3: The returned value is calibrated to the COM RX port.

P5: The returned value is calibrated to the LINE TX port, including the insertion loss of the subsequent filter.

The returned power level values are calibrated to the ports as shown in Table 16-18.

Table 16-18 OSC-CSM Port Calibration

Photodiode
CTC Type Name
Calibrated to Port

P1

Out Com

LINE RX

P2

Input OSC

LINE RX

P3

In Com

COM RX

P5

Output Osc

LINE TX


16.4.2.2  OSC-CSM Card-Level Indicators

The OSC-CSM card has three card-level LED indicators, described in Table 16-19.

Table 16-19 OSC-CSM Card-Level Indicators  

Card-Level Indicators
Description

Red FAIL LED

The red FAIL LED indicates that the card's processor is not ready or that there is an internal hardware failure. Replace the card if the red FAIL LED persists.

Green ACT LED

The green ACT LED indicates that the OSC-CSM is carrying traffic or is traffic-ready.

Amber SF LED

The amber SF LED indicates a signal failure or condition such as LOS, LOF, AIS-L, or high BER on one or more of the card's ports. The amber SF LED also illuminates when the transmit and receive fibers are incorrectly connected. When the fibers are properly connected, the light turns off.


16.4.2.3  OSC-CSM Port-Level Indicators

You can find the status of the card ports using the LCD screen on the ONS 15454 fan-tray assembly. Use the LCD to view the status of any port or card slot; the screen displays the number and severity of alarms for a given port or slot. The OSC-CSM has a OC3 port and three other sets of ports located on the faceplate.

16.5  Optical Amplifier Cards

This section describes the optical amplifier cards. Optical amplifiers are used in amplified nodes, such as hub nodes, amplified OADM nodes, and line amplifier nodes. There are three forms of amplifiers, the Optical Preamplifier (OPT-PRE), the Optical Booster (OPT-BST) amplifier, and the Optical Booster Enhanced (OPT-BST-E) amplifier. The optical amplifier card architecture includes an optical plug-in module with a controller that manages optical power, laser current, and temperature control loops. The amplifier also manages communication with the TCC2/TCC2P card, and operations, administration, maintenance, and provisioning (OAM&P) functions such as provisioning, controls, and alarms.

Optical amplifiers have a linear power feature that enables them to be kept in the constant gain mode if the gain is less than 28 dB. However, for longer span solutions it is necessary to place the amplifier in constant power mode. In constant power mode, automatic power control (APC) requirements change. This is because span loss degradation does not affect the system and amplifiers are not able to automatically modify the output power for variations in the number of channels when provisioning changes and a failure occurs.

16.5.1  OPT-PRE Amplifier

This section describes the OPT-PRE amplifier card. The OPT-PRE is designed to support 64 channels at 50-GHz channel spacing, but is currently limited to 32 channels at 100 GHz. The OPT-PRE is a C-band DWDM, two-stage erbium-doped fiber amplifier (EDFA) with mid-amplifier loss (MAL) for allocation to a DCU. To control the gain tilt, the OPT-PRE is equipped with a built-in VOA. The VOA can also be used to pad the DCU to a reference value. You can install the OPT-PRE in Slots 1 to 6 and 12 to 17.

The OPT-PRE features:

Fixed gain mode with programmable tilt

True variable gain

Fast transient suppression

Nondistorting low-frequency transfer function

Settable maximum output power

Fixed output power mode (mode used during provisioning)

MAL for fiber-based DCU

Amplified spontaneous emissions (ASE) compensation in fixed gain mode

Full monitoring and alarm handling with settable thresholds

Four signal photodiodes to monitor the input and output optical power of the two amplifier stages through CTC

An optical output port for external monitoring


Note The optical splitter has a ratio of 1:99. The result is that the power at the MON port is about 20 dB lower than the power at the COM TX port.


Figure 16-15 shows the OPT-PRE amplifier faceplate.

Figure 16-15 OPT-PRE Faceplate

Figure 16-16 shows a block diagram of the OPT-PRE card.

Figure 16-16 OPT-PRE Block Diagram

Figure 16-17 shows the OPT-PRE optical module functional block diagram.

Figure 16-17 OPT-PRE Optical Module Functional Block Diagram

16.5.1.1  Power Monitoring

Physical photodiodes P1, P2, P3, and P4 monitor the power for the OPT-PRE card. The returned power level values are calibrated to the ports as shown in Table 16-20.

Table 16-20 OPT-PRE Port Calibration 

Photodiode
CTC Type Name
Calibrated to Port

P1

Input Com

COM RX

P2

Output DC

DC TX

P3

Input DC

DC RX

P4

Output COM (Total Output)

COM TX

Output COM (Signal Output)


16.5.1.2  OPT-PRE Amplifier Card-Level Indicators

The OPT-PRE amplifier has three card-level LED indicators, described in Table 16-21.

Table 16-21 OPT-PRE Amplifier Card-Level Indicators  

Card-Level Indicators
Description

Red FAIL LED

The red FAIL LED indicates that the card's processor is not ready or that there is an internal hardware failure. Replace the card if the red FAIL LED persists.

Green ACT LED

The green ACT LED indicates that the OPT-PRE is carrying traffic or is traffic-ready.

Amber SF LED

The amber SF LED indicates a signal failure or condition such as LOS on one or more of the card's ports. The amber SF LED also illuminates when the transmit and receive fibers are incorrectly connected. When the fibers are properly connected, the light turns off.


16.5.1.3  OPT-PRE Port-Level Indicators

You can find the status of the card ports using the LCD screen on the ONS 15454 fan-tray assembly. Use the LCD to view the status of any port or card slot; the screen displays the number and severity of alarms for a given port or slot. The OPT-PRE amplifier has five optical ports located on the faceplate. MON is the output monitor port. COM RX (receive) is the input signal port. COM TX (transmit) is the output signal port. DC Rx is the MAL input signal port. DC Tx is the MAL output signal port.

16.5.2  OPT-BST Amplifier Card

This section describes the OPT-BST amplifier card. The OPT-BST gain range is 5 to 20 dB in constant gain mode and output power mode. The OPT-BST is designed to support 64 channels at 50-GHz channel spacing, but currently is limited to 32 channels at 100 GHz. The OPT-BST is a C-band DWDM EDFA with OSC add-and-drop capability. When an ONS 15454 has an OPT-BST installed, it is only necessary to have the OSCM to process the OSC. You can install the OPT-BST in Slots 1 to 6 and 12 to 17. To control the gain tilt, the OPT-BST is equipped with a built-in VOA.

The OPT-BST features include:

Fixed gain mode (with programmable tilt)

True variable gain

Fast transient suppression

Nondistorting low-frequency transfer function

Settable maximum output power

Fixed output power mode (mode used during provisioning)

ASE compensation in fixed gain mode

Full monitoring and alarm handling with settable thresholds

OSRI, which is a software feature capable (through CTC) of shutting down the optical output power or reducing the power to a safe level (automatic power reduction)

ALS, which is a safety mechanism used in the event of a fiber cut


Note The optical splitters each have a ratio of 1:99. The result is that the power at the MON TX and MON RX ports is about 20 dB lower than the power at the COM TX and COM RX ports.


Figure 16-18 shows the OPT-BST amplifier faceplate.

Figure 16-18 OPT-BST Faceplate

Figure 16-19 shows a block diagram of the OPT-BST card.

Figure 16-19 OPT-BST Block Diagram

Figure 16-20 shows the OPT-BST optical module functional block diagram.

Figure 16-20 OPT-BST Optical Module Functional Block Diagram

16.5.2.1  Power Monitoring

Physical photodiodes P1, P2, P3, and P4 monitor the power for the OPT-BST card. The returned power level values are calibrated to the ports as shown in Table 16-22.

Table 16-22 OPT-BST Port Calibration 

Photodiode
CTC Type Name
Calibrated to Port

P1

Input Com

COM RX

P2

Output Line (Total Output)

LINE TX

Output Line (Signal Output)

P3

Output COM

LINE RX

P4

Output OSC


16.5.2.2  OPT-BST Amplifier Card-Level Indicators

The OPT-BST amplifier has three card-level LED indicators, described in Table 16-23.

Table 16-23 OPT-BST Card-Level Indicators  

Card-Level Indicators
Description

Red FAIL LED

The red FAIL LED indicates that the card's processor is not ready or that there is an internal hardware failure. Replace the card if the red FAIL LED persists.

Green ACT LED

The green ACT LED indicates that the OPT-BST is carrying traffic or is traffic-ready.

Amber SF LED

The amber SF LED indicates a signal failure or condition such as LOS on one or more of the card's ports. The amber SF LED also illuminates when the transmit and receive fibers are incorrectly connected. When the fibers are properly connected, the light turns off.


16.5.2.3  OPT-BST Port-Level Indicators

You can find the status of the card ports using the LCD screen on the ONS 15454 fan-tray assembly. Use the LCD to view the status of any port or card slot; the screen displays the number and severity of alarms for a given port or slot. The OPT-BST amplifier has eight optical ports located on the faceplate. MON RX is the output monitor port (receive section). MON TX is the output monitor port. COM RX is the input signal port. LINE TX is the output signal port. LINE RX is the input signal port (receive section). COM TX is the output signal port (receive section). OSC RX is the OSC add input port. OSC TX is the OSC drop output port.

16.5.3  OPT-BST-E Amplifier Card

This section describes the OPT-BST-E amplifier card. The OPT-BST-E gain range is 8 to 23 dBm with the tilt managed at 0 dBm in constant gain mode and output power mode. However, an extended gain range of 23 to 26 dBm is available with the tilt unmanaged. See "Hardware Specifications" for detailed specification information. The OPT-BST-E is designed to support 64 channels at 50-GHz channel spacing, but currently is limited to 32 channels at 100 GHz. The OPT-BST-E is a C-band DWDM EDFA with OSC add-and-drop capability. When an ONS 15454 has an OPT-BST-E installed, it is only necessary to have the OSCM to process the OSC. You can install the OPT-BST-E in Slots 1 to 6 and 12 to 17. To control the gain tilt, the OPT-BST-E is equipped with a built-in VOA.

The OPT-BST-E features include:

Fixed gain mode (with programmable tilt)

True variable gain

Extended gain (with unmanaged tilt)

Fast transient suppression

Nondistorting low-frequency transfer function

Settable maximum output power

Fixed output power mode (mode used during provisioning)

ASE compensation in fixed gain mode

Full monitoring and alarm handling with settable thresholds

OSRI, which is a software feature capable (through CTC) of shutting down the optical output power or reducing the power to a safe level (automatic power reduction)

ALS, which is a safety mechanism used in the event of a fiber cut


Note The optical splitters each have a ratio of 1:99. The result is that the power at the MON TX and MON RX ports is about 20 dB lower than the power at the COM TX and COM RX ports.


Figure 16-21 shows the OPT-BST-E amplifier faceplate.

Figure 16-21 OPT-BST-E Faceplate

Figure 16-22 shows a block diagram of the OPT-BST-E card.

Figure 16-22 OPT-BST-E Block Diagram

Figure 16-23 shows the OPT-BST-E optical module functional block diagram.

Figure 16-23 OPT-BST-E Optical Module Functional Block Diagram

16.5.3.1  Power Monitoring

Physical photodiodes P1, P2, P3, and P4 monitor the power for the OPT-BST-E card. The returned power level values are calibrated to the ports as shown in Table 16-24.

Table 16-24 OPT-BST-E Port Calibration 

Photodiode
CTC Type Name
Calibrated to Port

P1

Input Com

COM RX

P2

Output Line (Total Output)

LINE TX

Output Line (Signal Output)

P3

Output COM

LINE RX

P4

Output OSC


16.5.3.2  OPT-BST-E Amplifier Card-Level Indicators

The OPT-BST-E amplifier has three card-level LED indicators, described in Table 16-25.

Table 16-25 OPT-BST-E Card-Level Indicators  

Card-Level Indicators
Description

Red FAIL LED

The red FAIL LED indicates that the card's processor is not ready or that there is an internal hardware failure. Replace the card if the red FAIL LED persists.

Green ACT LED

The green ACT LED indicates that the OPT-BST-E is carrying traffic or is traffic-ready.

Amber SF LED

The amber SF LED indicates a signal failure or condition such as LOS on one or more of the card's ports. The amber SF LED also illuminates when the transmit and receive fibers are incorrectly connected. When the fibers are properly connected, the light turns off.


16.5.3.3  OPT-BST-E Port-Level Indicators

You can find the status of the card ports using the LCD screen on the ONS 15454 fan-tray assembly. Use the LCD to view the status of any port or card slot; the screen displays the number and severity of alarms for a given port or slot. The OPT-BST-E amplifier has eight optical ports located on the faceplate. MON RX is the output monitor port (receive section). MON TX is the output monitor port. COM RX is the input signal port. LINE TX is the output signal port. LINE RX is the input signal port (receive section). COM TX is the output signal port (receive section). OSC RX is the OSC add input port. OSC TX is the OSC drop output port.

16.6  Multiplexer and Demultiplexer Cards

This section describes the multiplexer and demultiplexer cards.

16.6.1  32MUX-O Card

The 32-Channel Multiplexer (32MUX-O) card multiplexes 32 100-GHz-spaced channels identified in the channel plan. The 32MUX-O card takes up two slots in an ONS 15454 and can be installed in Slots 1 to 5 and 12 to 16.

The 32MUX-O features include:

Arrayed waveguide grating (AWG) device that enables full multiplexing functions for the channels.

Each single-channel port is equipped with VOAs for automatic optical power regulation prior to multiplexing. In the case of electrical power failure, the VOA is set to its maximum attenuation for safety purposes. A manual VOA setting is also available.

Each single-channel port is monitored using a photodiode to enable automatic power regulation.

An additional optical monitoring port with 1:99 splitting ratio is available.

Figure 16-24 shows the 32MUX-O faceplate.

Figure 16-24 32MUX-O Faceplate

Figure 16-25 shows a block diagram of the 32MUX-O card.

Figure 16-25 32MUX-O Block Diagram

The 32MUX-O has four receive connectors that accept multifiber push-on (MPO) cables, which break out into eight separate cables, on its front panel for the client input interfaces. The 32MUX-O also has two LC-PC-II optical connectors, one for the main output and the other for the monitor port.

Figure 16-26 shows the 32MUX-O optical module functional block diagram.

Figure 16-26 32MUX-O Optical Module Functional Block Diagram

16.6.1.1  Channel Plan

The 32MUX-O is typically used in hub nodes and provides the multiplexing of 32 channels, spaced at 100 GHz, into one fiber before their amplification and transmission along the line. The channel plan is shown in Table 16-26.

Table 16-26 32MUX-O Channel Plan

Channel Number 1
Channel ID
Frequency (GHz)
Wavelength (nm)

1

30.3

195.9

1530.33

2

31.2

195.8

1531.12

3

31.9

195.7

1531.90

4

32.6

195.6

1532.68

5

34.2

195.4

1534.25

6

35.0

195.3

1535.04

7

35.8

195.2

1535.82

8

36.6

195.1

1536.61

9

38.1

194.9

1538.19

10

38.9

194.8

1538.98

11

39.7

194.7

1539.77

12

40.5

194.6

1540.56

13

42.1

194.4

1542.14

14

42.9

194.3

1542.94

15

43.7

194.2

1543.73

16

44.5

194.1

1544.53

17

46.1

193.9

1546.12

18

46.9

193.8

1546.92

19

47.7

193.7

1547.72

20

48.5

193.6

1548.51

21

50.1

193.4

1550.12

22

50.9

193.3

1550.92

23

51.7

193.2

1551.72

24

52.5

193.1

1552.52

25

54.1

192.9

1554.13

26

54.9

192.8

1554.94

27

55.7

192.7

1555.75

28

56.5

192.6

1556.55

29

58.1

192.4

1558.17

30

58.9

192.3

1558.98

31

59.7

192.2

1559.79

32

60.6

192.1

1560.61

1 The Channel Number column is only for reference purposes. The channel ID is consistent with ONS 15454 and will be used in unit identification.


16.6.1.2  Power Monitoring

Physical photodiodes P1 through P32 monitor the power for the 32MUX-O card. The returned power level values are calibrated to the ports as shown in Table 16-27.

Table 16-27 32MUX-O Port Calibration

Photodiode
CTC Type Name
Calibrated to Port

P1-P32

ADD

COM TX


16.6.1.3  32MUX-O Card-Level Indicators

The 32MUX-O card has three card-level LED indicators, described in Table 16-28.

Table 16-28 32MUX-O Card-Level Indicators  

Card-Level Indicators
Description

Red FAIL LED

The red FAIL LED indicates that the card's processor is not ready or that there is an internal hardware failure. Replace the card if the red FAIL LED persists.

Green ACT LED

The green ACT LED indicates that the 32MUX-O is carrying traffic or is traffic-ready.

Amber SF LED

The amber SF LED indicates a signal failure on one or more of the card's ports. The amber SF LED also illuminates when the transmit and receive fibers are incorrectly connected. When the fibers are properly connected, the light turns off.


16.6.1.4  32MUX-O Port-Level Indicators

You can find the status of the card ports using the LCD screen on the ONS 15454 fan-tray assembly. Use the LCD to view the status of any port or card slot; the screen displays the number and severity of alarms for a given port or slot. The 32MUX-O card has five sets of ports located on the faceplate.

COM Tx is the line output. MON is the optical monitoring port. The xx.x-yy.y RX ports represent the four groups of eight channels ranging from xx.x wavelength to yy.y wavelength according to the channel plan.

16.6.2  32DMX-O Card

The 32-Channel Demultiplexer (32DMX-O) card demultiplexes 32 100-GHz-spaced channels identified in the channel plan. The 32DMX-O takes up two slots in an ONS 15454 and can be installed in Slots 1 to 5 and 12 to 16.

The 32DMX-O features include:

AWG that enables channel demultiplexing functions.

Each single-channel port is equipped with VOAs for automatic optical power regulation after demultiplexing. In the case of electrical power failure, the VOA is set to its maximum attenuation for safety purposes. A manual VOA setting is also available.

The 32DXM-O has four physical receive connectors that accept multifiber push-on (MPO) cables, which break out into eight separate cables, on its front panel for the client input interfaces.


Note In contrast, the single-slot 32DMX card does not have VOAs on each drop port for optical power regulation. The 32DMX optical demultiplexer module is used in conjunction with the 32-Channel Wavelength Selective Switch (32WSS) card in ONS 15454 Multiservice Transport Platform (MSTP) nodes.


Each single-channel port is monitored using a photodiode to enable automatic power regulation.

Figure 16-27 shows the 32DMX-O card faceplate.

Figure 16-27 32DMX-O Faceplate

Figure 16-28 shows a block diagram of the 32DMX-O card.

Figure 16-28 32DMX-O Block Diagram

Figure 16-29 shows the 32DMX-O optical module functional block diagram.

Figure 16-29 32DMX-O Optical Module Functional Block Diagram

16.6.2.1  Power Monitoring

Physical photodiodes P1 through P32 and P33 monitor the power for the 32DMX-O card. The returned power level values are calibrated to the ports as shown in Table 16-29.

Table 16-29 32DMX-O Port Calibration

Photodiode
CTC Type Name
Calibrated to Port

P1-P32

DROP

DROP TX

P33

INPUT COM

COM RX


16.6.2.2  32DMX-O Card-Level Indicators

The 32DMX-O card has three card-level LED indicators, described in Table 16-30.

Table 16-30 32DMX-O Card-Level Indicators  

Card-Level Indicators
Description

Red FAIL LED

The red FAIL LED indicates that the card's processor is not ready or that there is an internal hardware failure. Replace the card if the red FAIL LED persists.

Green ACT LED

The green ACT LED indicates that the 32DMX-O is carrying traffic or is traffic-ready.

Amber SF LED

The amber SF LED indicates a signal failure on one or more of the card's ports. The amber SF LED also illuminates when the transmit and receive fibers are incorrectly connected. When the fibers are properly connected, the light turns off.


16.6.2.3  32DMX-O Port-Level Indicators

You can find the status of the card ports using the LCD screen on the ONS 15454 fan-tray assembly. Use the LCD to view the status of any port or card slot; the screen displays the number and severity of alarms for a given port or slot. The 32DMX-O card has five sets of ports located on the faceplate. MON is the output monitor port. COM RX is the line input. The xx.x-yy.y Tx ports represent the four groups of eight channels ranging from xx.x wavelength to yy.y wavelength according to the channel plan.

16.6.3  32DMX Card

The 32-Channel Demultiplexer card (32DMX) is a single-slot optical demultiplexer. The card receives an aggregate optical signal on its COM RX port and demultiplexes it into to 32 100-GHz-spaced channels. The 32DMX card can be installed in Slots 1 to 6 and in Slots 12 to 17.

The 32DMX includes these high-level features:

COM RX port: COM RX is the input port for the aggregate optical signal being demultiplexed. This port is supported by both a VOA for optical power regulation and a photodiode for optical power monitoring.

DROP ports (1 to 32): On its output, the 32DMX provides 32 drop ports that are typically used for dropping channels within the ROADM node. Each drop port has a photodiode for optical power monitoring. Unlike the two-slot 32DMX-O demultiplexer, the drop ports on the 32DMX do not have a VOA per channel for optical power regulation.

A terminal site can be configured using only a 32WSS card and a 32DMX card plugged into the east or west side of the shelf.

Figure 16-30 shows the 32DMX card front panel and the basic traffic flow through the ports.

Figure 16-30 32DMX Faceplate and Ports

The 32DMX front panel has connectors for 32 DROP TX ports. These ports are connected using four 8-fiber multifiber push-on (MPO) ribbon connectors. The incoming optical signal to the demultiplexer comes into the COM RX. This input port is connected using a single LC duplex optical connector.

A block diagram of the 32DMX card is shown in Figure 16-31.

Figure 16-31 32DMX Block Diagram

Figure 16-32 shows the 32DMX optical module functional block diagram.

Figure 16-32 32DMX Optical Module Functional Block Diagram

16.6.3.1  ROADM

The 32DMX card works in conjunction with the 32WSS card to create a software-controlled network element with ROADM functionality. ROADM functionality requires two 32DMX single-slot cards and two 32WSS double-slot cards (six slots in the ONS 15454 chassis).

Equipped with ROADM functionality, ONS 15454 MSTP nodes can be configured at the optical channel level using CTC, Cisco MetroPlanner, and Cisco Transport Manager (CTM). Both the 32DMX card and 32WSS card utilize planar lightwave circuit (PLC) technology to perform wavelength-level processing.

16.6.3.2  Power Monitoring

Physical photodiodes P1 through P32 and P33 monitor the power for the 32DMX card. The returned power level values are calibrated to the ports as shown in Table 16-31.

Table 16-31 32DMX Port Calibration

Photodiode
CTC Type Name
Calibrated to Port

P1-P32

DROP

DROP TX

P33

INPUT COM

COM RX


16.6.3.3  32DMX Card-Level Indicators

Table 16-32 describes the three card-level LED indicators on the 32DMX card.

Table 16-32 32DMX Card-Level Indicators  

Card-Level Indicators
Description

Red FAIL LED

The red FAIL LED indicates that the card's processor is not ready or that there is an internal hardware failure. Replace the card if the red FAIL LED persists.

Green ACT LED

The green ACT LED indicates that the 32DMX card is carrying traffic or is traffic-ready.

Amber SF LED

The amber SF LED indicates a signal failure on one or more of the card's ports. The amber SF LED also illuminates when the transmit and receive fibers are incorrectly connected. When the fibers are properly connected, the light turns off.


16.6.3.4  32DMX Port-Level Indicators

You can find the status of the 32DMX ports using the LCD screen on the ONS 15454 fan-tray assembly. Use the LCD to view the status of any port or card slot; the screen displays the number and severity of alarms for a given port or slot.

The 32DMX card has five ports located on the faceplate. The port labeled COM RX is the line input (it typically receives DROP TX from the 32WSS module). The TX ports are 32 drop ports. The connectors provide four groups of eight channels ranging from xx.x wavelength to yy.y wavelength according to the channel plan.

16.6.4  4MD-xx.x Card

The 4-Channel Multiplexer/Demultiplexer (4MD-xx.x) card multiplexes and demultiplexes four 100-GHz-spaced channels identified in the channel plan. The 4MD-xx.x card is designed to be used with band OADMs (both AD-1B-xx.x and AD-4B-xx.x).

The card is bidirectional. The demultiplexer and multiplexer functions are implemented in two different sections of the same card. In this way, the same card can manage signals flowing in opposite directions.

There are eight versions of this card that correspond with the eight sub-bands specified in Table 16-33. The 4MD-xx.x can be installed in Slots 1 to 6 and 12 to 17.

The 4MD-xx.x has the following features implemented inside a plug-in optical module:

Passive cascade of interferential filters perform the channel multiplex/demultiplex function.

Software-controlled VOAs at every port of the multiplex section regulate the optical power of each multiplexed channel.

Software-monitored photodiodes at the input and output multiplexer and demultiplexer ports for power control and safety purposes.

Software-monitored "virtual photodiodes" at the common DWDM output and input ports. A "virtual photodiode" is a firmware calculation of the optical power at that port. This calculation is based on the single channel photodiode reading and insertion losses of the appropriated paths.

Figure 16-33 shows the 4MD-xx.x faceplate.

Figure 16-33 4MD-xx.x Faceplate

Figure 16-34 shows a block diagram of the 4MD-xx.x card.

Figure 16-34 4MD-xx.x Block Diagram

Figure 16-35 shows the 4MD-xx.x optical module functional block diagram.

Figure 16-35 4MD-xx.x Optical Module Functional Block Diagram

The optical module shown in Figure 16-35 is optically passive and consists of a cascade of interferential filters that perform the channel multiplexing and demultiplexing functions.

VOAs are present in every input path of the multiplex section in order to regulate the optical power of each multiplexed channel. Some optical input and output ports are monitored by means of photodiodes implemented both for power control and for safety purposes. An internal control manages VOA settings and functionality as well as photodiode detection and alarm thresholds. The power at the main output and input ports is monitored through the use of virtual photodiodes. A virtual photodiode is implemented in the firmware of the plug-in module. This firmware calculates the power on a port, summing the measured values from all single channel ports (and applying the proper path insertion loss) and then providing the TCC2/TCC2P card with the obtained value.

16.6.4.1  Wavelength Pairs

Table 16-33 shows the band IDs and the add/drop channel IDs for the 4MD-xx.x card.

Table 16-33 4MD-xx.x Channel Sets 

Band ID
Add/Drop Channel IDs

Band 30.3 (A)

30.3, 31.2, 31.9, 32.6

Band 34.2 (B)

34.2, 35.0, 35.8, 36.6

Band 38.1 (C)

38.1, 38.9, 39.7, 40.5

Band 42.1 (D)

42.1, 42.9, 43.7, 44.5

Band 46.1 (E)

46.1, 46.9, 47.7, 48.5

Band 50.1 (F)

50.1, 50.9, 51.7, 52.5

Band 54.1 (G)

54.1, 54.9, 55.7, 56.5

Band 58.1 (H)

58.1, 58.9, 59.7, 60.6


16.6.4.2  Power Monitoring

Physical photodiodes P1 through P8 and virtual photodiodes V1 and V2 monitor the power for the 4MD-xx.x card. The returned power level values are calibrated to the ports as shown in Table 16-34.

Table 16-34 4MD-xx.x Port Calibration

Photodiode
CTC Type Name
Calibrated to Port

P1-P4

ADD

COM TX

P5-P8

DROP

DROP TX

V1

OUT COM

COM TX

V2

IN COM

COM RX


16.6.4.3  4MD-xx.x Card-Level Indicators

The 4MD-xx.x card has three card-level LED indicators, described in Table 16-35.

Table 16-35 4MD-xx.x Card-Level Indicators  

Card-Level Indicators
Description

Red FAIL LED

The red FAIL LED indicates that the card's processor is not ready or that there is an internal hardware failure. Replace the card if the red FAIL LED persists.

Green ACT LED

The green ACT LED indicates that the 4MD-xx.x card is carrying traffic or is traffic-ready.

Amber SF LED

The amber SF LED indicates a signal failure on one or more of the card's ports. The amber SF LED also illuminates when the transmit and receive fibers are incorrectly connected. When the fibers are properly connected, the light turns off.


16.6.4.4  4MD-xx.x Port-Level Indicators

You can find the status of the card ports using the LCD screen on the ONS 15454 fan-tray assembly. Use the LCD to view the status of any port or card slot; the screen displays the number and severity of alarms for a given port or slot. The 4MD-xx.x card has five sets of ports located on the faceplate. COM RX is the line input. COM TX is the line output. The 15xx.x TX ports represent demultiplexed channel outputs 1 to 4. The 15xx.x RX ports represent multiplexed channel inputs 1 to 4.

16.7  Optical Add/Drop Multiplexer Cards

This section discusses the optical add/drop multiplexer cards.

16.7.1  AD-1C-xx.x Card

The 1-Channel OADM (AD-1C-xx.x) card passively adds or drops one of the 32 channels utilized within the 100-GHz-spacing of the DWDM card system. Thirty-two versions of this card—each designed only for use with one wavelength—are used in the ONS 15454 DWDM system. Each wavelength version of the card has a different part number. The AD-1C-xx.x can be installed in Slots 1 to 6 and 12 to 17.

The AD-1C-xx.x has the following internal features:

Two cascaded passive optical interferential filters perform the channel add and drop functions.

One software-controlled VOA regulates the optical power of the inserted channel.

Software-controlled VOA regulates the insertion loss of the express optical path.

Internal control of the VOA settings and functions, photodiode detection, and alarm thresholds.

Software-monitored virtual photodiodes (firmware calculations of port optical power) at the common DWDM output and input ports.

Figure 16-36 shows the AD-1C-xx.x faceplate.

Figure 16-36 AD-1C-xx.x Faceplate

Figure 16-37 shows a block diagram of the AD-1C-xx.x card.

Figure 16-37 AD-1C-xx.x Block Diagram

Figure 16-38 shows the AD-1C-xx.x optical module functional block diagram.

Figure 16-38 AD-1C-xx.x Optical Module Functional Block Diagram

16.7.1.1  Power Monitoring

Physical photodiodes P1 through P4 and virtual photodiodes V1 and V2 monitor the power for the AD-1C-xx.x card. The returned power level values are calibrated to the ports as shown in Table 16-36

.

Table 16-36 AD-1C-xx.x Port Calibration 

Photodiode
CTC Type Name
Calibrated to Port

P1

ADD

COM TX

P2

DROP

DROP TX

P3

IN EXP

EXP RX

P4

OUT EXP

EXP TX

V1

IN COM

COM RX

V2

OUT COM

COM TX


16.7.1.2  AD-1C-xx.x Card-Level Indicators

The AD-1C-xx.x card has three card-level LED indicators, described in Table 16-37.

Table 16-37 AD-1C-xx.x Card-Level Indicators  

Card-Level Indicators
Description

Red FAIL LED

The red FAIL LED indicates that the card's processor is not ready or that there is an internal hardware failure. Replace the card if the red FAIL LED persists.

Green ACT LED

The green ACT LED indicates that the AD-1C-xx.x card is carrying traffic or is traffic-ready.

Amber SF LED

The amber SF LED indicates a signal failure. The SF LED also illuminates when the transmitting and receiving fibers are incorrectly connected. When the fibers are properly connected, the LED turns off.


16.7.1.3  AD-1C-xx.x Port-Level Indicators

You can find the status of the card port using the LCD screen on the ONS 15454 fan-tray assembly. Use the LCD to view the status of any port or card slot; the screen displays the number and severity of alarms for a given port or slot. The AD-1C-xx.x has six LC-PC-II optical ports: two for add/drop channel client input and output, two for express channel input and output, and two for communication.

16.7.2  AD-2C-xx.x Card

The 2-Channel OADM (AD-2C-xx.x) card passively adds or drops two adjacent 100-GHz channels within the same band. Sixteen versions of this card—each designed for use with one pair of wavelengths—are used in the ONS 15454 DWDM system. The card bidirectionally adds and drops in two different sections on the same card to manage signal flow in both directions. Each version of the card has a different part number.

The AD-2C-xx.x has the following features:

Passive cascade of interferential filters perform the channel add and drop functions.

Two software-controlled VOAs in the add section, one for each add port, regulate the optical power of inserted channels.

Software-controlled VOAs regulate insertion loss on express channels.

Internal control of the VOA settings and functions, photodiode detection, and alarm thresholds.

Software-monitored virtual photodiodes (firmware calculation of port optical power) at the common DWDM output and input ports.

Figure 16-39 shows the AD-2C-xx.x faceplate.

Figure 16-39 AD-2C-xx.x Faceplate

Figure 16-40 shows a block diagram of the AD-2C-xx.x card.

Figure 16-40 AD-2C-xx.x Block Diagram

Figure 16-41 shows the AD-2C-xx.x optical module functional block diagram.

Figure 16-41 AD-2C-xx.x Optical Module Functional Block Diagram

16.7.2.1  Wavelength Pairs

The AD-2C-xx.x cards are provisioned for the wavelength pairs in Table 16-38. In this table, channel IDs are given rather than wavelengths. To compare channel IDs with the actual wavelengths they represent, see Table 16-6.

Table 16-38 AD-2C-xx.x Channel Pairs 

Band ID
Add/Drop Channel ID

Band 30.3 (A)

30.3, 31.2

31.9, 32.6

Band 34.2 (B)

34.2, 35.0

35.8, 36.6

Band 38.1 (C)

38.1, 38.9

39.7, 40.5

Band 42.1 (D)

42.1, 42.9

43.7, 44.5

Band 46.1 (E)

46.1, 46.9

47.7, 48.5

Band 50.1 (F)

50.1, 50.9

51.7, 52.5

Band 54.1 (G)

54.1, 54.9

55.7, 56.5

Band 58.1 (H)

58.1, 58.9

59.7, 60.6


16.7.2.2  Power Monitoring

Physical photodiodes P1 through P10, and virtual photodiodes V1 and V2 monitor the power for the AD-2C-xx.x card. The returned power level values are calibrated to the ports as shown in Table 16-39.

Table 16-39 AD-2C-xx.x Port Calibration

Photodiode
CTC Type Name
Calibrated to Port

P1-P4

ADD

COM TX

P5-P8

DROP

DROP TX

P9

IN EXP

EXP RX

P10

OUT EXP

EXP TX

V1

IN COM

COM RX

V2

OUT COM

COM TX


16.7.2.3  AD-2C-xx.x Card-Level Indicators

The AD-2C-xx.x card has three card-level LED indicators, described in Table 16-40.

Table 16-40 AD-2C-xx.x Card-Level Indicators  

Card-Level Indicators
Description

Red FAIL LED

The red FAIL LED indicates that the card's processor is not ready or that there is an internal hardware failure. Replace the card if the red FAIL LED persists.

Green ACT LED

The green ACT LED indicates that the AD-2C-xx.x card is carrying traffic or is traffic-ready.

Amber SF LED

The amber SF LED indicates a signal failure. The amber SF LED also illuminates when the transmit and receive fibers are incorrectly connected. When the fibers are properly connected, the light turns off.


16.7.2.4  AD-2C-xx.x Port-Level Indicators

You can find the status of the card port using the LCD screen on the ONS 15454 fan-tray assembly. Use the LCD to view the status of any port or card slot; the screen displays the number and severity of alarms for a given port or slot. The AD-2C-xx.x card has eight LC-PC-II optical ports: four for add/drop channel client input and output, two for express channel input and output, and two for communication.

16.7.3  AD-4C-xx.x Card

The 4-Channel OADM (AD-4C-xx.x) card passively adds or drops all four 100-GHz-spaced channels within the same band. Eight versions of this card—each designed for use with one band of wavelengths—are used in the ONS 15454 DWDM system. The card bidirectionally adds and drops in two different sections on the same card to manage signal flow in both directions. There are eight versions of this card with eight part numbers.

The AD-4C-xx.x has the following features:

Passive cascade of interferential filters perform the channel add and drop functions.

Four software-controlled VOAs in the add section, one for each add port, regulate the optical power of inserted channels.

Two software-controlled VOAs regulate insertion loss on express and drop path, respectively.

Internal control of the VOA settings and functions, photodiode detection, and alarm thresholds.

Software-monitored virtual photodiodes (firmware calculation of port optical power) at the common DWDM output and input ports.

Figure 16-42 shows the AD-4C-xx.x faceplate.

Figure 16-42 AD-4C-xx.x Faceplate

Figure 16-43 shows a block diagram of the AD-4C-xx.x card.

Figure 16-43 AD-4C-xx.x Block Diagram

Figure 16-44 shows the AD-4C-xx.x optical module functional block diagram.

Figure 16-44 AD-4C-xx.x Optical Module Functional Block Diagram

16.7.3.1  Wavelength Pairs

The AD-4C-xx.x cards are provisioned for the wavelength pairs in Table 16-41. In this table, channel IDs are given rather than wavelengths. To compare channel IDs with the actual wavelengths they represent, see Table 16-6.

Table 16-41 AD-4C-xx.x Channel Sets 

Band ID
Add/Drop Channel IDs

Band 30.3 (A)

30.3, 31.2, 31.9, 32.6

Band 34.2 (B)

34.2, 35.0, 35.8, 36.6

Band 38.1 (C)

38.1, 38.9, 39.7 40.5

Band 42.1 (D)

42.1, 42.9, 43.7, 44.5

Band 46.1 (E)

46.1, 46.9, 47.7, 48.5

Band 50.1 (F)

50.1, 50.9, 51.7, 52.5

Band 54.1 (G)

54.1, 54.9, 55.7, 56.5

Band 58.1 (H)

58.1, 58.9, 59.7, 60.6


16.7.3.2  Power Monitoring

Physical photodiodes P1 through P10, and virtual photodiodes V1 and V2 monitor the power for the AD-4C-xx.x card. The returned power level values are calibrated to the ports as shown in Table 16-42.

Table 16-42 AD-4C-xx.x Port Calibration

Photodiode
CTC Type Name
Calibrated to Port

P1-P4

ADD

COM TX

P5-P8

DROP

DROP TX

P9

IN EXP

EXP RX

P10

OUT EXP

EXP TX

V1

IN COM

COM RX

V2

OUT COM

COM TX


16.7.3.3  AD-4C-xx.x Card-Level Indicators

The AD-4C-xx.x card has three card-level LED indicators, described in Table 16-43.

Table 16-43 AD-4C-xx.x Card-Level Indicators  

Card-Level Indicators
Description

Red FAIL LED

The red FAIL LED indicates that the card's processor is not ready or that there is an internal hardware failure. Replace the card if the red FAIL LED persists.

Green ACT LED

The green ACT LED indicates that the AD-4C-xx.x card is carrying traffic or is traffic-ready.

Amber SF LED

The amber SF LED indicates a signal failure or condition. The amber SF LED also illuminates when the transmit and receive fibers are incorrectly connected. When the fibers are properly connected, the light turns off.


16.7.3.4  AD-4C-xx.x Port-Level Indicators

You can find the status of the card port using the LCD screen on the ONS 15454 fan-tray assembly. Use the LCD to view the status of any port or card slot; the screen displays the number and severity of alarms for a given port or slot. The AD-4C-xx.x card has 12 LC-PC-II optical ports: eight for add/drop channel client input and output, two for express channel input and output, and two for communication.

16.7.4  AD-1B-xx.x Card

The 1-Band OADM (AD-1B-xx.x) card passively adds or drops a single band of four adjacent 100-GHz-spaced channels. Eight versions of this card with eight different part numbers—each version designed for use with one band of wavelengths—are used in the ONS 15454 DWDM system. The card bidirectionally adds and drops in two different sections on the same card to manage signal flow in both directions. This card can be used when there is asymmetric adding and dropping on each side (east or west) of the node; a band can be added or dropped on one side but not on the other.

The AD-1B xx.x can be installed in Slots 1 to 6 and 12 to17 and has the following features:

Passive cascaded interferential filters perform the channel add and drop functions.

Two software-controlled VOAs regulate the optical power flowing in the express and drop OADM paths (drop section).

Output power of the dropped band is set by changing the attenuation of the VOA drop.

The VOA express is used to regulate the insertion loss of the express path.

Internal controlled VOA settings and functions, photodiode detection, and alarm thresholds.

Software-monitored virtual photodiode (firmware calculation of port optical power) at the common DWDM output.

Figure 16-45 shows the AD-1B-xx.x faceplate.

Figure 16-45 AD-1B-xx.x Faceplate

Figure 16-46 shows a block diagram of the AD-1B-xx.x card.

Figure 16-46 AD-1B-xx.x Block Diagram

Figure 16-47 shows the AD-1B-xx.x optical module functional block diagram.

Figure 16-47 AD-1B-xx.x Optical Module Functional Block Diagram

16.7.4.1  Power Monitoring

Physical photodiodes P1 through P4, and virtual photodiodes V1 and V2 monitor the power for the AD-1B-xx.x card. The returned power level values are calibrated to the ports as shown in Table 16-44.

Table 16-44 AD-1B-xx.x Port Calibration 

Photodiode
CTC Type Name
Calibrated to Port

P1

ADD

BAND RX

P2

DROP

BAND TX

P3

IN EXP

EXP RX

P4

OUT EXP

EXP TX

V1

IN COM

COM RX

V2

OUT COM

COM TX


16.7.4.2  AD-1B-xx.x Card-Level Indicators

The AD-1B-xx.x card has three card-level LED indicators, described in Table 16-45.

Table 16-45 AD-1B-xx.x Card-Level Indicators  

Card-Level Indicators
Description

Red FAIL LED

The red FAIL LED indicates that the card's processor is not ready or that there is an internal hardware failure. Replace the card if the red FAIL LED persists.

Green ACT LED

The green ACT LED indicates that the AD-1B-xx.x card is carrying traffic or is traffic-ready.

Amber SF LED

The amber SF LED indicates a signal failure. The amber SF LED also illuminates when the transmit and receive fibers are incorrectly connected. When the fibers are properly connected, the light turns off.


16.7.4.3  AD-1B-xx.x Port-Level Indicators

You can find the status of the card port using the LCD screen on the ONS 15454 fan-tray assembly. Use the LCD to view the status of any port or card slot; the screen displays the number and severity of alarms for a given port or slot. The AD-1B-xx.x has six LC-PC-II optical ports: two for add/drop channel client input and output, two for express channel input and output, and two for communication.

16.7.5  AD-4B-xx.x Card

The 4-Band OADM (AD-4B-xx.x) card passively adds or drops four bands of four adjacent 100-GHz-spaced channels. Two versions of this card with different part numbers—each version designed for use with one set of bands—are used in the ONS 15454 DWDM system. The card bidirectionally adds and drops in two different sections on the same card to manage signal flow in both directions. This card can be used when there is asymmetric adding and dropping on each side (east or west) of the node; a band can be added or dropped on one side but not on the other.

The AD1B-xx.x can be installed in Slots 1 to 6 and 12 to 17 and has the following features:

Five software-controlled VOAs regulate the optical power flowing in the OADM paths.

Output power of each dropped band is set by changing the attenuation of each VOA drop.

The VOA express is used to regulate the insertion loss of the express path.

Internal controlled VOA settings and functions, photodiode detection, and alarm thresholds.

Software-monitored virtual photodiode (firmware calculation of port optical power) at the common DWDM output port.

Figure 16-48 shows the AD-4B-xx.x faceplate.

Figure 16-48 AD-4B-xx.x Faceplate

Figure 16-49 shows a block diagram of the 4D-4B-xx.x card.

Figure 16-49 AD-4B-xx.x Block Diagram

Figure 16-50 shows the AD-4B-xx.x optical module functional block diagram.

Figure 16-50 AD-4B-xx.x Optical Module Functional Block Diagram

16.7.5.1  Power Monitoring

Physical photodiodes P1 through P11, and virtual photodiode V1 monitor the power for the AD-4B-xx.x card. The returned power level values are calibrated to the ports as shown in Table 16-46.

Table 16-46 AD-4B-xx.x Port Calibration

Photodiode
CTC Type Name
Calibrated to Port

P1-P4

ADD

COM TX

P5-P8

DROP

DROP TX

P9

IN EXP

EXP RX

P10

OUT EXP

EXP TX

P11

IN COM

COM RX

V1

OUT COM

COM TX


16.7.5.2  AD-4B-xx.x Card-Level Indicators

The AD-4B-xx.x card has three card-level LED indicators, described in Table 16-47.

Table 16-47 AD-4B-xx.x Card-Level Indicators  

Card-Level Indicators
Description

Red FAIL LED

The red FAIL LED indicates that the card's processor is not ready or that there is an internal hardware failure. Replace the card if the red FAIL LED persists.

Green ACT LED

The green ACT LED indicates that the AD-4B-xx.x card is carrying traffic or is traffic-ready.

Amber SF LED

The amber SF LED indicates a signal failure. The amber SF LED also illuminates when the transmit and receive fibers are incorrectly connected. When the fibers are properly connected, the light turns off.


16.7.5.3  AD-4B-xx.x Port-Level Indicators

You can find the status of the card port using the LCD screen on the ONS 15454 fan-tray assembly. Use the LCD to view the status of any port or card slot; the screen displays the number and severity of alarms for a given port or slot. The AD-4B-xx.x has 12 LC-PC-II optical ports: eight for add/drop band client input and output, two for express channel input and output, and two for communication.

16.7.6  32WSS Card

The 32-Channel Wavelength Selective Switch (32WSS) card performs channel add/drop processing within the ONS 15454 DWDM node. The 32WSS works in conjunction with the 32DMX to implement ROADM functionality. Equipped with ROADM functionality, the ONS 15454 DWDM can be configured to add or drop individual optical channels using CTC, Cisco MetroPlanner, and CTM.

An ROADM network element utilizes two 32WSS cards (two slots each) and two 32DMX cards (one slot each), for a total of six slots in the chassis. For a diagram of a typical ROADM configuration, see the "ROADM Node" section. The 32WSS card can be installed in Slots 1 and 2, 3 and 4, 5 and 6, 12 and 13, 14 and 15, or 16 and 17.

The 32WSS has six types of ports:

ADD RX ports (1 to 32): These ports are used for adding channels. Each add channel is associated with an individual switch element that selects whether an individual channel is added. Each add port has optical power regulation provided by a VOA. The 32WSS has four physical receive connectors that accept multifiber push-on (MPO) cables, which break out into eight separate cables, on its front panel for the client input interfaces.

EXP RX port: The EXP RX port receives an optical signal from another 32WSS module in the same network element.

EXP TX port: The EXP TX port sends an optical signal to the other 32WSS module within the network element.

COM TX port: The COM TX port sends an aggregate optical signal to a booster amplifier card (for example, OPT-BST) for transmission outside of the network element.

COM RX port: The COM RX port receives the optical signal from a preamplifier and sends it to the optical splitter.

DROP TX port: The DROP TX port sends the split off optical signal that contains drop channels to the 32DMX card where the channels are further processed and dropped.

A terminal site can be configured using only a 32WSS card and a 32DMX card plugged into the east or west side of the shelf.

Figure 16-51 shows the 32WSS module front panel and identifies the traffic flow through the ports.

Figure 16-51 32WSS Faceplate and Ports

Figure 16-52 provides a high-level functional block diagram of the 32WSS card.

Figure 16-52 32WSS Block Diagram

Aggregate optical signals that enter the EXP RX and COM RX port are processed in two ways. The optical processing stages are shown in Figure 16-53, which provides a detailed optical functional diagram of the 32WSS card.

Figure 16-53 32WSS Optical Block Diagram

The EX PORT and COM PORT operate as follows:

EXP RX Port Add Channel/Pass-through Processing

The incoming optical signal is received at the EXP RX port from the other 32WSS module within the network element. The incoming aggregate optical signal is demultiplexed into 32 individual wavelength components, or channels. Then each channel is individually processed by the optical switch, which does add/pass-through processing. Under software control, the switch either selects the optical channel coming in from the demultiplexer (the pass-through channel) or it selects the external ADD channel. If the ADD port channel is selected, the optical signal coming from the demultiplexer is blocked, and the ADD channel is transmitted in its place.

After the optical switch stage, each of the channels passes through a VOA. Then all of the channels are multiplexed together into an aggregate optical signal, which is sent out on the COM TX port. The output is typically connected to an OPT-BST or OPT-BST-E (in the event a booster amplifier is needed) or to an OSC-CSM (if no amplification is needed).

COM RX Port Optical Splitter Processing

The incoming optical signal received at the COM RX port and is applied to the optical splitter within the 32WSS. Channels that are designated to be dropped are diverted optically to the DROP TX port by the splitter. The DROP TX port on the 32WSS is typically connected to the COM RX port of the 32DMX where the drop channels are dropped. Channels that are not dropped pass through the optical splitter and flow out of the EXP TX port of the 32WSS. This optical signal is typically connected to the other 32WSS module within the network element.

16.7.6.1  Power Monitoring

Physical photodiodes P1 through P69 monitor the power for the 32WSS card. The returned power level values are calibrated to the ports as shown in Table 16-48.

Table 16-48 32WSS Port Calibration

Photodiode
CTC Type Name
Calibrated to Port

P1-P32

ADD (Power ADD)

ADD RX

P33-P641

PASS THROUGH

COM TX

ADD (Power)

COM TX

P65

OUT EXP

EXP TX

P66

IN EXP

EXP RX

P67

OUT COM

COM TX

P68

IN COM

COM RX

P69

DROP

DROP TX

1 P33-P64 monitor either ADD or PASSTHROUGH power, depending on the state of the optical switch


16.7.6.2  32WSS Card-Level Indicators

Table 16-49 describes the three card-level LED indicators on the 32WSS card.

Table 16-49 32WSS Card-Level Indicators  

Card-Level Indicators
Description

Red FAIL LED

The red FAIL LED indicates that the card's processor is not ready or that there is an internal hardware failure. Replace the card if the red FAIL LED persists.

Green ACT LED

The green ACT LED indicates that the 32WSS card is carrying traffic or is traffic-ready.

Amber SF LED

The amber SF LED indicates a signal failure on one or more of the card's ports. The amber SF LED also illuminates when the transmit and receive fibers are incorrectly connected. When the fibers are properly connected, the light turns off.


16.7.6.3  32WSS Port-Level Indicators

You can find the status of the 32WSS card's ports using the LCD screen on the ONS 15454 fan-tray assembly. Use the LCD to view the status of any port or card slot; the screen displays the number and severity of alarms for a given port or slot. The 32WSS card has five sets of ports located on the faceplate. COM RX is the line input, COM TX is the line output, EXP RX is the port where a channel can be added or passed through, EXP TX is the port that passes through the channels that are not dropped, and DROP TX is the port for the dropped channels. The xx.x-yy.y TX ports represent the four groups of eight channels ranging from xx.x wavelength to yy.y wavelength according to the channel plan.

16.8  Transponder and Muxponder Cards

This section describes the transponder (TXP) and muxponder (MXP) cards. See the "NTP-G32 Install the Transponder and Muxponder Cards" procedure as needed. Detailed specifications for the cards are found in "Hardware Specifications."

TXP and MXP cards detect SF, LOS, or LOF conditions on the optical facility. Refer to the Cisco ONS 15454 Troubleshooting Guide or the Cisco ONS 15454 SDH Troubleshooting Guide for a description of these conditions. The cards also count section and line BIP errors from B1 and B2 byte registers in the section and line overhead.

16.8.1  TXP_MR_10G Card

The 10-Gbps Transponder-100-GHz-Tunable xx.xx-xx.xx card (TXP_MR_10G) processes one 10-Gbps signal (client side) into one 10-Gbps, 100-GHz DWDM signal (trunk side). It provides one 10-Gbps port per card that can be provisioned for an STM-64/OC-192 short reach (1310-nm) signal, compliant with ITU-T G.707, G.709, ITU-T G.691, and Telcordia GR-253-CORE, or a 10GBASE-LR signal compliant with IEEE 802.3.

The TXP_MR_10G card is tunable over two neighboring wavelengths in the 1550-nm, ITU 100-GHz range. It is available in 16 different versions, each of which covers two wavelengths, for a total coverage of 32 different wavelengths in the 1550-nm range.


Note ITU-T G.709 specifies a form of FEC that uses a "wrapper" approach. The digital wrapper lets you transparently take in a signal on the client side, wrap a frame around it and restore it to its original form. FEC enables longer fiber links because errors caused by the optical signal degrading with distance are corrected.


The trunk port operates at 9.95328 Gbps (or 10.70923 Gbps with ITU-T G.709 Digital Wrapper/FEC) and at 10.3125 Gbps (or 11.095 Gbps with ITU-T G.709 Digital Wrapper/FEC) over unamplified distances up to 80 km (50 miles) with different types of fiber such as C-SMF or dispersion compensated fiber limited by loss and/or dispersion.


Caution Because the transponder has no capability to look into the payload and detect circuits, a TXP_MR_10G card does not display circuits under card view.


Caution You must use a 15-dB fiber attenuator (10 to 20 dB) when working with the TXP_MR_10G card in a loopback on the trunk port. Do not use direct fiber loopbacks with the TXP_MR_10G card. Using direct fiber loopbacks causes irreparable damage to the TXP_MR_10G card.

You can install TXP_MR_10G cards in Slots 1 to 6 and 12 to 17 and provision this card in a linear configuration. TXP_MR_10G cards cannot be provisioned as a BLSR/MS-SPRing, a path protection/SNCP, or a regenerator. They can only be used in the middle of BLSR/MS-SPRing and 1+1 spans when the card is configured for transparent termination mode.

The TXP_MR_10G port features a 1550-nm laser for the trunk port and a 1310-nm laser for the for the client port and contains two transmit and receive connector pairs (labeled) on the card faceplate.

Figure 16-54 shows the TXP_MR_10G faceplate and block diagram.

Figure 16-54 TXP_MR_10G Faceplate and Block Diagram

16.8.1.1  Y-Cable Protection

Two TXP_MR_10G cards can be joined in a Y-cable protection group. In Y-cable protection, the client ports of the two cards are joined by Y-cables. A single incoming receive (Rx) client signal is injected into the Rx Y-cable port and is split between the two TXP_MR_10G cards (connected to the Rx client ports) in the protection group. The transmit (Tx) client signals from the two protection group TXP_MR_10G cards are connected to the correspondent ports of the Tx Y-cable. Only the Tx client port of the active TXP_MR_10G card is turned on and transmits the signal toward the receiving client equipment. See the "Transponder and Muxponder Protection" section for more information.


Note If you create a GCC on either card of the protection group, the trunk (span) port stays permanently active, regardless of the switch state. When you provision a GCC, you are provisioning unprotected overhead bytes. The GCC is not protected by the protect group.


16.8.1.2  Automatic Laser Shutdown

The ALS procedure is supported on both client and trunk interfaces. On the client interface, ALS is compliant with ITU-T G.664 (6/99). On the data application and trunk interface, the switch on and off pulse duration is greater than 60 seconds. The on and off pulse duration is user-configurable. For ALS provisioning information, see the "G217 Change Line Settings for TXP_MR_10G and TXP_MR_10E Cards" section.

16.8.1.3  TXP_MR_10G Card-Level Indicators

Table 16-50 lists the three card-level LEDs on the TXP_MR_10G card.

Table 16-50 TXP_MR_10G Card-Level Indicators  

Card-Level LED
Description

FAIL LED (Red)

Red indicates that the card's processor is not ready. This LED is on during reset. The FAIL LED flashes during the boot process. Replace the card if the red FAIL LED persists.

ACT/STBY LED

Green (Active)

Amber (Standby)

Green indicates that the card is operational (one or both ports active) and ready to carry traffic.

Amber indicates that the card is operational and in standby (protect) mode.

SF LED (Amber)

Amber indicates a signal failure or condition such as LOS, LOF, or high BERs on one or more of the card's ports. The amber SF LED is also illuminated if the transmit and receive fibers are incorrectly connected. If the fibers are properly connected and the link is working, the LED turns off.


16.8.1.4  TXP_MR_10G Port-Level Indicators

Table 16-51 lists the four port-level LEDs in the TXP_MR_10G card.

Table 16-51 TXP_MR_10G Port-Level Indicators  

Port-Level LED
Description

Green Client LED

The green Client LED indicates that the client port is in service and that it is receiving a recognized signal.

Green DWDM LED

The green DWDM LED indicates that the DWDM port is in service and that it is receiving a recognized signal.

Green Wavelength 1 LED

Each port supports two wavelengths on the DWDM side. Each wavelength LED matches one of the wavelengths. This LED indicates that the card is configured for Wavelength 1.

Green Wavelength 2 LED

Each port supports two wavelengths on the DWDM side. Each wavelength LED matches one of the wavelengths. This LED indicates that the card is configured for Wavelength 2.


16.8.2  TXP_MR_10E Card

The 10-Gbps Transponder-100-GHz-Tunable xx.xx-xx.xx (TXP_MR_10E) card is a multirate transponder for the ONS 15454 platform. The card is fully backward compatible with the TXP_MR_10G card. It processes one 10-Gbps signal (client side) into one 10-Gbps, 100-GHz DWDM signal (trunk side) that is tunable over four wavelength channels (spaced at 100 GHz on the ITU grid) in the C-band and tunable over eight wavelength channels (spaced at 50 GHz on the ITU grid) in the L-band. There are eight versions of the C-band card, with each version covering four wavelengths, for a total coverage of 32 wavelengths. There are five versions of the L-band card, with each version covering eight wavelengths, for a total coverage of 40 wavelengths.

You can install TXP_MR_10E cards in Slots 1 to 6 and 12 to 17 and provision the cards in a linear configuration, BLSR/MS-SPRing, path protection/SNCP, or a regenerator. The card can be used in the middle of BLSR/MS-SPRing or 1+1 spans when the card is configured for transparent termination mode.

The TXP_MR_10E card features a 1550-nm tunable laser (C-band) or a 1580-nm tunable laser (L-band) for the trunk port and a separately orderable ONS-XC-10G-S1 1310-nm laser XFP module for the client port. On its faceplate, the TXP_MR_10E card contains two transmit and receive connector pairs, one for the trunk port and one for the client port. Each connector pair is labeled.

16.8.2.1  Key Features

The key features of the TXP_MR_10E card are:

A tri-rate client interface (available through the ONS-XC-10G-S1 XFP, ordered separately)

OC-192 (SR1)

10GE (10GBASE-LR)

10G-FC (1200-SM-LL-L)

OC-192 to ITU-T G.709 OTU2 provisionable synchronous and asynchronous mapping

16.8.2.2  Faceplate and Block Diagram

Figure 16-55 shows the TXP_MR_10E faceplate and block diagram.

Figure 16-55 TXP_MR_10E Faceplate and Block Diagram


Caution You must use a 15-dB fiber attenuator (10 to 20 dB) when working with the TXP_MR_10E card in a loopback on the trunk port. Do not use direct fiber loopbacks with the TXP_MR_10E card. Using direct fiber loopbacks causes irreparable damage to the TXP_MR_10E card.

16.8.2.3  Client Interface

The client interface is implemented with a separately orderable XFP module. The module is a tri-rate transceiver, providing a single port that can be configured in the field to support an OC-192 SR-1 (Telcordia GR-253-CORE) or STM-64 I-64.1 (ITU-T G.691) optical interface, as well as 10GE LAN PHY (10GBASE-LR), 10GE WAN PHY (10GBASE-LW), or 10G FC signals.

The client side XFP pluggable module supports LC connectors and is equipped with a 1310-nm laser.

16.8.2.4  DWDM Trunk Interface

On the trunk side, the TXP_MR_10E card provides a 10-Gbps STM-64/OC-192 interface. There are four tunable channels available in the 1550-nm band or eight tunable channels available in the 1580-nm band on the 50-GHz ITU grid for the DWDM interface. The TXP_MR_10E card provides 3R transponder functionality for this 10-Gbps trunk interface. Therefore, the card is suited for use in long-range amplified systems. The DWDM interface is complaint with ITU-T G.707, ITU-T G.709, and Telcordia GR-253-CORE standards.

The DWDM trunk port operates at a rate that is dependent on the input signal and the presence or absence of the ITU-T G.709 Digital Wrapper/FEC. The possible trunk rates are:

OC192 (9.95328 Gbps)

OTU2 (10.70923 Gbps)

10GE (10.3125 Gbps) or 10GE into OTU2 (nonstandard 11.0957 Gbps)

10G FC (10.51875 Gbps) or 10G FC into OTU2 (nonstandard 11.31764 Gbps).

The maximum system reach in filterless applications without the use of optical amplification or regenerators is nominally rated at 23 dB over C-SMF fiber. This rating is not a product specification, but is given for informational purposes. It is subject to change.

16.8.2.5  Y-Cable Protection

The TXP_MR_10E card supports Y-cable protection, which provides transponder equipment protection without client terminal equipment interface protection. A single client interface can be split between two transponder cards using a Y-protection device.

With Y-cable protection, two TXP_MR_10E transponder cards can be joined in a Y-cable protection group. In Y-cable protection, the client ports of the two cards are joined by Y cables. An incoming client signal is injected into the Rx Y-cable port and is split between the two TXP_MR_10E cards (connected to Rx client ports) in the protection group. The Tx client signals from the two protection group TXP_MR_10E cards are connected to the correspondent ports of the Tx Y cable. Only the Tx client port of the active TXP_MR_10E card is turned on and transmits the signal towards the receiving client equipment. See the "Y-Cable Protection" section for more details.


Note If you create a GCC using a digital wrapper and apply it to either card of the Y-cable protect group, the DWDM trunk (span) port stays permanently active, regardless of the switch's state. When you provision a GCC, you are provisioning unprotected overhead (OH) bytes. The GCC is not protected by the protection group.


16.8.2.6  Enhanced FEC (E-FEC) Feature

A key feature of the TXP_MR_10E is the availability to configure the forward error correction in three modes: NO FEC, FEC, and E-FEC. The output bit rate is always 10.7092 Gbps as defined in ITU-T G.709, but the error coding performance can be provisioned as follows:

NO FEC—No forward error correction

FEC—Standard ITU-T G.975 Reed-Solomon algorithm

E-FEC—Standard ITU-T G.975.1 I.7 algorithm, which is a super FEC code.


Note The E-FEC of the ONS 15454 and Cisco ASR 9000 are not compatible.


16.8.2.7  FEC and E-FEC Modes

As client side traffic passes through the TXP_MR_10E card, it can be digitally wrapped using FEC mode, E-FEC mode, or no error correction at all. The FEC mode setting provides a lower level of error detection and correction than the E-FEC mode setting of the card. As a result, using E-FEC mode allows higher sensitivity (lower OSNR) with a lower bit error rate than FEC mode. E-FEC enables longer distance trunk-side transmission than with FEC.

The E-FEC feature is one of three basic modes of FEC operation. FEC can be turned off, FEC can be turned on, or E-FEC can be turned on to provide greater range and lower BER. The default mode is FEC on and E-FEC off. E-FEC is provisioned using CTC.


Caution Because the transponder has no visibility into the data payload and detect circuits, the TXP_MR_10E card does not display circuits under the card view.

16.8.2.8  Client-to-Trunk Mapping

The TXP_MR_10E card can perform ODU2-to-OCh mapping, which allows operators to provision data payloads in a standard way across 10-Gbps optical links.

Digital wrappers that define client side interfaces are called Optical Data Channel Unit 2 (ODU2) entities in ITU-T G.709. Digital wrappers that define trunk side interfaces are called Optical Channels (OCh) in ITU-T G.709. ODU2 digital wrappers can include Generalized Multiprotocol Label Switching (G-MPLS) signaling extensions to ITU-T G.709 (such as Least Significant Part [LSP] and Generalized Payload Identifier [G-PID] values) to define client interfaces and payload protocols.

16.8.2.9  Automatic Laser Shutdown

The ALS procedure is supported on both client and trunk interfaces. On the client interface, ALS is compliant with ITU-T G.664 (6/99). On the data application and trunk interface, the switch on and off pulse duration is greater than 60 seconds. The on and off pulse duration is user-configurable. For ALS provisioning information, see the "G217 Change Line Settings for TXP_MR_10G and TXP_MR_10E Cards" section.

16.8.2.10  TXP_MR_10E Card-Level Indicators

Table 16-52 lists the three card-level LEDs on the TXP_MR_10E card.

Table 16-52 TXP_MR_10E Card-Level Indicators  

Card-Level LED
Description

Red FAIL LED

The red FAIL LED indicates that the card's processor is not ready. This LED is on during reset. The FAIL LED flashes during the boot process. Replace the card if the red FAIL LED persists.

ACT/STBY LED

Green (Active)

Amber (Standby)

If the ACT/STBY LED is green, the card is operational (one or both ports active) and ready to carry traffic. If the ACT/STBY LED is amber, the card is operational and in standby (protect) mode.

Amber SF LED

The amber SF LED indicates a signal failure or condition such as LOS, LOF, or high BERs on one or more of the card's ports. The amber SF LED is also on if the transmit and receive fibers are incorrectly connected. If the fibers are properly connected and the link is working, the light turns off.


16.8.2.11  TXP_MR_10E Port-Level Indicators

Table 16-53 lists the two port-level LEDs in the TXP_MR_10E card.

Table 16-53 TXP_MR_10E Port-Level Indicators 

Port-Level LED
Description

Green Client LED

The green Client LED indicates that the client port is in service and that it is receiving a recognized signal.

Green DWDM LED

The green DWDM LED indicates that the DWDM port is in service and that it is receiving a recognized signal.


16.8.3  TXP_MR_2.5G and TXPP_MR_2.5G Cards

The 2.5-Gbps Multirate Transponder-100-GHz-Tunable xx.xx-xx.xx (TXP_MR_2.5G) card processes one 8-Mbps to 2.488-Gbps signal (client side) into one 8-Mbps to 2.5-Gbps, 100-GHz DWDM signal (trunk side). It provides one long-reach STM-16/OC-48 port per card, compliant with ITU-T G.707, ITU-T G.709, ITU-T G.957, and Telcordia GR-253-CORE.

The 2.5-Gbps Multirate Transponder-Protected-100-GHz-Tunable xx.xx-xx.xx (TXPP_MR_2.5G) card processes one 8-Mbps to 2.488-Gbps signal (client side) into two 8-Mbps to 2.5-Gbps, 100-GHz DWDM signals (trunk side). It provides two long-reach STM-16/OC-48 ports per card, compliant with ITU-T G.707, ITU-T G.957, and Telcordia GR-253-CORE.

The TXP_MR_2.5G and TXPP_MR_2.5G cards are tunable over four wavelengths in the 1550-nm, ITU 100-GHz range. They are available in eight versions, each of which covers four wavelengths, for a total coverage of 32 different wavelengths in the 1550-nm range.


Note ITU-T G.709 specifies a form of FEC that uses a "wrapper" approach. The digital wrapper lets you transparently take in a signal on the client side, wrap a frame around it, and restore it to its original form. FEC enables longer fiber links because errors caused by the optical signal degrading with distance are corrected.


The trunk/line port operates at up to 2.488 Gbps (or up to 2.66 Gbps with ITU-T G.709 Digital Wrapper/FEC) over unamplified distances up to 360 km (223.7 miles) with different types of fiber such as C-SMF or higher if dispersion compensation is used.


Caution Because the transponder has no capability to look into the payload and detect circuits, a TXP_MR_2.5G or TXPP_MR_2.5G card does not display circuits under card view.

The TXP_MR_2.5G and TXPP_MR_2.5G cards support 2R and 3R modes of operation where the client signal is mapped into a ITU-T G.709 frame. The mapping function is simply done by placing a digital wrapper around the client signal. Only OC-48/STM-16 client signals are fully ITU-T G.709 compliant, and the output bit rate depends on the input client signal. Table 16-54 shows the possible combinations of client interfaces, input bit rates, 2R and 3R modes, and ITU-T G.709 monitoring.

Table 16-54 2R and 3R Mode and ITU-T G.709 Compliance by Client Interface 

Client Interface
Input Bit Rate
3R vs. 2R
ITU-T G.709

OC-48/STM-16

2.488 Gbps

3R

On or Off

DV-6000

2.38 Gbps

2R

2 Gigabit Fibre Channel (2G-FC)/fiber connection (FICON)

2.125 Gbps

3R1

On or Off

High-Definition Television (HDTV)

1.48 Gbps

2R

Gigabit Ethernet (GE)

1.25 Gbps

3R

On or Off

1 Gigabit Fibre Channel (1G-FC)/FICON

1.06 Gbps

3R

On or Off

OC-12/STM-4

622 Mbps

3R

On or Off

OC-3/STM-1

155 Mbps

3R

On or Off

Enterprise System Connection (ESCON)

200 Mbps

2R

SDI/D1 video

270 Mbps

2R

ISC-1 Compact

1.06 Gbps

3R

Off

ISC-3

1.06 or 2.125 Gbps

2R

ETR_CLO

16 Mbps

2R

1 No monitoring


The output bit rate is calculated for the trunk bit rate by using the 255/238 ratio as specified in ITU-T G.709 for OTU1. Table 16-55 lists the calculated trunk bit rates for the client interfaces with ITU-T G.709 enabled.

Table 16-55 Trunk Bit Rates With ITU-T G.709 Enabled 

Client Interface
ITU-T G.709 Disabled
ITU-T G.709 Enabled

OC-48/STM-16

2.488 Gbps

2.66 Gbps

2G-FC

2.125 Gbps

2.27 Gbps

GE

1.25 Gbps

1.34 Gbps

1G-FC

1.06 Gbps

1.14 Gbps

OC-12/STM-3

622 Mbps

666.43 Mbps

OC-3/STM-1

155 Mbps

166.07 Mbps


For 2R operation mode, the TXP_MR_2.5G and TXPP_MR_2.5G cards have the ability to pass data through transparently from client side interfaces to a trunk side interface, which resides on an ITU grid. The data might vary at any bit rate from 200-Mbps up to 2.38-Gbps, including ESCON and video signals. In this pass-through mode, no performance monitoring (PM) or digital wrapping of the incoming signal is provided, except for the usual PM outputs from the SFPs. Similarly, this card has the ability to pass data through transparently from the trunk side interfaces to the client side interfaces with bit rates varying from 200-Mbps up to 2.38-Gbps. Again, no performance monitoring or digital wrapping of received signals is available in this pass-through mode.

For 3R operation mode, the TXP_MR_2.5G and TXPP_MR_2.5G cards apply a digital wrapper to the incoming client interface signals (OC-N/STM-N, 1G-FC, 2G-FC, GE). Performance monitoring is available on all of these signals except for 2G-FC, and varies depending upon the type of signal. For client inputs other than OC-48/STM-16, a digital wrapper might be applied but the resulting signal is not ITU-T G.709 compliant. The card applies a digital wrapper that is scaled to the frequency of the input signal.

The TXP_MR_2.5G and TXPP_MR_2.5G card has the ability to take digitally wrapped signals in from the trunk interface, remove the digital wrapper, and send the unwrapped data through to the client interface. Performance monitoring of the ITU-T G.709 OH and SONET/SDH OH is implemented.

16.8.3.1  Faceplate

Figure 16-56 shows the TXP_MR_2.5G and TXPP_MR_2.5G faceplates.

Figure 16-56 TXP_MR_2.5G and TXPP_MR_2.5G Faceplates

16.8.3.2  Block Diagram

Figure 16-57 shows a block diagram of the TXP_MR_2.5G and TXPP_MR_2.5G cards.

Figure 16-57 TXP_MR_2.5G and TXPP_MR_2.5G Block Diagram


Caution You must use a 20-dB fiber attenuator (15 to 25 dB) when working with the TXP_MR_2.5G and TXPP_MR_2.5G cards in a loopback on the trunk port. Do not use direct fiber loopbacks with the TXP_MR_2.5G and TXPP_MR_2.5G cards. Using direct fiber loopbacks causes irreparable damage to the TXP_MR_2.5G and TXPP_MR_2.5G cards.

You can install TXP_MR_2.5G and TXPP_MR_2.5G cards in Slots 1 to 6 and 12 to 17. You can provision this card in a linear configuration. TXP_MR_10G and TXPP_MR_2.5G cards cannot be provisioned as a BLSR/MS-SPRing, a path protection/SNCP, or a regenerator. They can be used in the middle of BLSR/MS-SPRing or 1+1 spans only when the card is configured for transparent termination mode.

The TXP_MR_2.5G card features a 1550-nm laser for the trunk/line port and a 1310-nm laser for the client port. It contains two transmit and receive connector pairs (labeled) on the card faceplate. The card uses dual LC connectors for optical cable termination.

The TXPP_MR_2.5G card features a 1550-nm laser for the trunk/line port and a 1310-nm or 850-nm laser (depending on the SFP) for the client port and contains three transmit and receive connector pairs (labeled) on the card faceplate. The card uses dual LC connectors for optical cable termination.

16.8.3.3  Y-Cable Protection

For the TXP_MR_2.5G card, protection is done using Y-cable protection. In Y-cable protection, the client ports of two TXP_MR_2.5G cards can be joined by Y cables in a Y-cable protection group. A single incoming Rx client signal is injected into the Rx Y-cable port and is split between the two TXP_MR_2.5G cards (connected to the Rx client ports) in the protection group. The Tx client signals from the two protection group TXP_MR_2.5G cards are connected to the correspondent ports of the Tx Y-cable. Only the Tx client port of the active TXP_MR_2.5G card is turned on and transmits the signal towards the receiving client equipment. See the "Transponder and Muxponder Protection" section for more information.


Note If you create a GCC on either card of the protect group, the trunk (span) port stays permanently active, regardless of the switch state. When you provision a GCC, you are provisioning unprotected overhead bytes. The GCC is not protected by the protect group.


16.8.3.4  Splitter Protection

For the TXPP_MR_2.5G card, protection is done using splitter protection. In splitter protection, the single client signal is injected into the client Rx port. It is then split into two separate signals on the two trunk Tx ports. The two signals are transmitted over diverse paths. The far-end TXPP_MR_2.5G card chooses one of the two trunk Rx port signals and injects it into the Tx client port. The TXPP_MR_2.5G card switches the selected trunk Rx port signal in case of failure. See the "Transponder and Muxponder Protection" section for more details.

16.8.3.5  Automatic Laser Shutdown

The ALS procedure is supported on both client and trunk interfaces. On the client interface, ALS is compliant with ITU-T G.664 (6/99). On the data application and trunk interface, the switch on and off pulse duration is greater than 60 seconds. The on and off pulse duration is user-configurable. For ALS provisioning information, see the "G230 Change Line Settings for TXP_MR_2.5G and TXPP_MR_2.5G Cards" section.

16.8.3.6  TXP_MR_2.5G and TXPP_MR_2.5G Safety Labels

The TXP_MR_2.5G and TXPP_MR_2.5G cards have several safety labels that provide laser radiation and electrical shock warnings.

Figure 16-58 shows the laser radiation warning hazard level label. The faceplate of these cards are clearly labeled with warnings about the equipment radiation level. Personnel must understand all warning labels before working with these cards. The hazard level label warns the personnel against exposure to laser radiation of Class 1M limits calculated in accordance with IEC60825-1 Ed.1.2.

Figure 16-58 Laser Radiation Warning—Hazard Level Label

Figure 16-59 shows the laser source connector label. This label indicates a laser source at the optical connectors where it has been placed.

Figure 16-59 Laser Radiation Warning—Laser Source Connector Label

Figure 16-60 shows the FDA compliance label. This label shows the statement of compliance to FDA standards and that the hazard level classification is in accordance with IEC60825-1 Am.2 or Ed.1.2.

Figure 16-60 FDA Compliance Statement Label

Figure 16-61 shows the electrical energy hazard label. This label alerts personnel to electrical hazards within the card. The potential of shock hazard exists when adjacent cards are removed during maintenance and touching exposed electrical circuitry on the card itself.

Figure 16-61 Electrical Energy Hazard Label

16.8.3.7  TXP_MR_2.5G and TXPP_MR_2.5G Card-Level Indicators

Table 16-56 lists the three card-level LEDs on the TXP_MR_2.5G and TXPP_MR_2.5G cards.

Table 16-56 TXP_MR_2.5G and TXPP_MR_2.5G Card-Level Indicators 

Card-Level LED
Description

Red FAIL LED

The red FAIL LED indicates that the card's processor is not ready. This LED is on during reset. The FAIL LED flashes during the boot process. Replace the card if the red FAIL LED persists.

ACT/STBY LED

Green (Active)

Amber (Standby)

If the ACT/STBY LED is green, the card is operational (one or both ports active) and ready to carry traffic. If the ACT/STBY LED is amber, the card is operational and in standby (protect) mode.

Amber SF LED

The amber SF LED indicates a signal failure or condition such as LOS, LOF, or high BERs on one or more of the card's ports. The amber SF LED is also on if the transmit and receive fibers are incorrectly connected. If the fibers are properly connected and the link is working, the light turns off.


16.8.3.8  TXP_MR_2.5G and TXPP_MR_2.5G Port-Level Indicators

Table 16-57 lists the four port-level LEDs on the TXP_MR_2.5G and TXPP_MR_2.5G cards.

Table 16-57 TXP_MR_2.5G and TXPP_MR_2.5G Port-Level Indicators  

Port-Level LED
Description

Green Client LED

The green Client LED indicates that the client port is in service and that it is receiving a recognized signal.

Green DWDM LED

The green DWDM LED indicates that the DWDM port is in service and that it is receiving a recognized signal.

Green TX LED

The green TX LED indicates that indicated the DWDM port is in service and that it is currently transmitting a recognized signal.

Green RX LED

The green RX LED indicates that the indicated DWDM port is in service and that it is currently receiving a recognized signal.


16.8.4  MXP_2.5G_10G Card

The 2.5-Gbps-10-Gbps Muxponder-100 GHz-Tunable xx.xx-xx.xx (MXP_2.5G_10G) card multiplexes/demultiplexes four 2.5-Gbps signals (client side) into one 10-Gbps, 100-GHz DWDM signal (trunk side). It provides one extended long-range STM-64/OC-192 port per card on the trunk side (compliant with ITU-T G.707, ITU-T G.709, ITU-T G.957, and Telcordia GR-253-CORE) and four intermediate- or short-range OC-48/STM-16 ports per card on the client side. The port operates at 9.95328 Gbps over unamplified distances up to 80 km (50 miles) with different types of fiber such as C-SMF or dispersion compensated fiber limited by loss and/or dispersion.

Client ports on the MXP_2.5G_10G card are also interoperable with OC-1 (STS-1) fiber optic signals defined in Telcordia GR-253-CORE. An OC-1 signal is the equivalent of one DS-3 channel transmitted across optical fiber. OC-1 is primarily used for trunk interfaces to phone switches in the United States. There is no SDH equivalent for OC-1.

The MXP_2.5G_10G card is tunable over two neighboring wavelengths in the 1550-nm, ITU 100-GHz range. It is available in 16 different versions, each of which covers two wavelengths, for a total coverage of 32 different wavelengths in the 1550-nm range.


Note ITU-T G.709 specifies a form of FEC that uses a "wrapper" approach. The digital wrapper lets you transparently take in a signal on the client side, wrap a frame around it and restore it to its original form. FEC enables longer fiber links because errors caused by the optical signal degrading with distance are corrected.


The port can also operate at 10.70923 Gbps in ITU-T G.709 Digital Wrapper/FEC mode.


Caution Because the transponder has no capability to look into the payload and detect circuits, an MXP_2.5G_10G card does not display circuits under card view.


Caution You must use a 20-dB fiber attenuator (15 to 25 dB) when working with the MXP_2.5G_10G card in a loopback on the trunk port. Do not use direct fiber loopbacks with the MXP_2.5G_10G card. Using direct fiber loopbacks causes irreparable damage to the MXP_2.5G_10G card.

You can install MXP_2.5G_10G cards in Slots 1 to 6 and 12 to 17.


Caution Do not install an MXP_2.5G_10G card in Slot 3 if you have installed a DS3/EC1-48 card in Slots 1or 2. Likewise, do not install an MXP_2.5G_10G card in Slot 17 if you have installed a DS3/EC1-48 card in Slots 15 or 16. If you do, the cards will interact and cause DS-3 bit errors.

You can provision this card in a linear configuration. MXP_2.5G_10G cards cannot be provisioned as a BLSR/MS-SPRing, a path protection/SNCP, or a regenerator. They can be used in the middle of BLSR/MS-SPRing or 1+1 spans only when the card is configured for transparent termination mode.

The MXP_2.5G_10G port features a 1550-nm laser on the trunk port and four 1310-nm lasers on the client ports and contains five transmit and receive connector pairs (labeled) on the card faceplate. The card uses a dual LC connector on the trunk side and SFP connectors on the client side for optical cable termination.

Figure 16-62 shows the MXP_2.5G_10G faceplate.

Figure 16-62 MXP_2.5G_10G Faceplate

Figure 16-63 shows a block diagram of the MXP_2.5G_10G card.

Figure 16-63 MXP_2.5G_10G Card Block Diagram

16.8.4.1  Y-Cable Protection

For the MXP_2.5G_10G card, protection is done using Y-cable protection. In Y-cable protection, the client ports of two MXP_2.5G_10G cards can be joined by Y cables in a Y-cable protection group. A single Rx client signal is injected into the Rx Y-cable and is split between the two MXP_2.5G_10G cards in the protection group. The Tx client signals from the two protection group MXP_2.5G_10G cards are connected via the TX Y cable with only the active card signal passing through as the single TX client signal. See the "Y-Cable Protection" section for more details.


Note If you create a GCC on either card of the protect group, the trunk port stays permanently active, regardless of the switch state. When you provision a GCC, you are provisioning unprotected overhead bytes. The GCC is not protected by the protect group.


16.8.4.2  Automatic Laser Shutdown

The ALS procedure is supported on both client and trunk interfaces. On the client interface, ALS is compliant with ITU-T G.664 (6/99). On the data application and trunk interface, the switch on and off pulse duration is greater than 60 seconds. The on and off pulse duration is user-configurable. For ALS provisioning information, see the "G223 Change Line Settings for MXP_2.5G_10G and MXP_2.5G_10E Cards" section.

16.8.4.3  Timing Synchronization

The MXP_2.5G_10G card is synchronized to the TCC2/TCC2P clock during normal conditions and transmits the ITU-T G.709 frame using this clock. The TCC2/TCC2P card can operate from an external BITS clock, an internal Stratum 3 clock, or from clock recovered from one of the four valid client clocks. If clocks from both TCC2/TCC2P cards are not available, the MXP_2.5G_10G card switches automatically (with errors, not hitless) to an internal 19.44 MHz clock that does not meet SONET clock requirements. This will result in a clock alarm.

16.8.4.4  MXP_2.5G_10G Card-Level Indicators

Table 16-58 describes the three card-level LEDs on the MXP_2.5G_10G card.

Table 16-58 MXP_2.5G_10G Card-Level Indicators  

Card-Level LED
Description

Red FAIL LED

The red FAIL LED indicates that the card's processor is not ready. This LED is on during reset. The FAIL LED flashes during the boot process. Replace the card if the red FAIL LED persists.

ACT/STBY LED

Green (Active)

Amber (Standby)

If the ACT/STBY LED is green, the card is operational (one or more ports active) and ready to carry traffic. If the ACT/STBY LED is amber, the card is operational and in standby (protect) mode.

Amber SF LED

The amber SF LED indicates a signal failure or condition such as LOS, LOF, or high BERs on one or more of the card's ports. The amber SF LED is also on if the transmit and receive fibers are incorrectly connected. If the fibers are properly connected and the link is working, the light turns off.


16.8.4.5  MXP_2.5G_10G Port-Level Indicators

Table 16-59 describes the four port-level LEDs on the MXP_2.5G_10G card.

Table 16-59 MXP_2.5G_10G Port-Level Indicators  

Port-Level LED
Description

Green Client LED
(four LEDs)

The green Client LED indicates that the client port is in service and that it is receiving a recognized signal. The card has four client ports, and so has four Client LEDs.

Green DWDM LED

The green DWDM LED indicates that the DWDM port is in service and that it is receiving a recognized signal.

Green Wavelength 1 LED

Each port supports two wavelengths on the DWDM side. Each wavelength LED matches one of the wavelengths. This LED indicates that the board is configured for Wavelength 1.

Green Wavelength 2 LED

Each port supports two wavelengths on the DWDM side. Each wavelength LED matches one of the wavelengths. This LED indicates that the board is configured for Wavelength 2.


16.8.5  MXP_2.5G_10E Card

The 2.5-Gbps-10-Gbps Muxponder-100 GHz-Tunable xx.xx-xx.xx (MXP_2.5G_10E) card is a DWDM muxponder for the ONS 15454 platform that supports full optical transparency on the client side. The card multiplexes four 2.5 Gbps client signals (4 x OC48/STM-16 SFP) into a single 10-Gbps DWDM optical signal on the trunk side. The MXP_2.5G_10E provides wavelength transmission service for the four incoming 2.5 Gbps client interfaces. The MXP_2.5G_10E muxponder passes all SONET/SDH overhead bytes transparently.

The digital wrapper function (ITU-T G.709 compliant) formats the DWDM wavelength so that it can be used to set up GCCs for data communications, enable FEC, or facilitate performance monitoring.

The MXP_2.5G_10E works with OTN devices defined in ITU-T G.709. The card supports ODU1 to OTU2 multiplexing, an industry standard method for asynchronously mapping a SONET/SDH payload into a digitally wrapped envelope. See the "Multiplexing Function" section.

The MXP_2.5G_10E card is not compatible with the MXP_2.5G_10G card, which does not support full optical transparency. The faceplate designation of the card is "4x2.5G 10E MXP."

You can install MXP_2.5G_10E cards in Slots 1 to 6 and 12 to 17. You can provision this card in a linear configuration, as a BLSR/MS-SPRing, a path protection/SNCP, or a regenerator. The card can be used in the middle of BLSR/MS-SPRing or 1+1 spans when the card is configured for transparent termination mode.

The MXP_2.5G_10E features a 1550-nm laser on the trunk port and four 1310-nm lasers on the client ports and contains five transmit and receive connector pairs (labeled) on the card faceplate. The card uses a dual LC connector on the trunk side and uses SFP modules on the client side for optical cable termination. The SFP pluggable modules are short reach (SR) or intermediate reach (IR) and support an LC fiber connector.

16.8.5.1  Key Features

The MXP_2.5G_10E card has the following high level features:

Four 2.5 Gbps client interfaces (OC-48/STM-16) and one 10 Gbps trunk. The four OC-48 signals are mapped into a ITU-T G.709 OTU2 signal using standard ITU-T G.709 multiplexing.

Onboard E-FEC processor: The processor supports both standard RS (specified in ITU-T G.709) and E-FEC, which allows an improved gain on trunk interfaces with a resultant extension of the transmission range on these interfaces. The E-FEC functionality increases the correction capability of the transponder to improve performance, allowing operation at a lower OSNR compared to the standard RS (237,255) correction algorithm. A new BCH algorithm implemented in E-FEC allows recovery of an input BER up to 1E-3.

Pluggable client interface optic modules: The MXP_MP_10E card has modular interfaces. Two types of optics modules can be plugged into the card. These include an OC-48/STM 16 SR-1 interface with a 7 km nominal range (for short range and intra-office applications) and an IR-1 interface with a range up to 40 km. SR-1 is defined in Telcordia GR-253-CORE and in I-16 (ITU-T G.957). IR-1 is defined in Telcordia GR-253-CORE and in S-16-1 (ITU-T G.957).

High level provisioning support: The MXP_MP_10E card is initially provisioned using Cisco MetroPlanner software. Subsequently, the card can be monitored and provisioned using CTC software.

Link monitoring and management: The MXP_MP_10E card uses standard OC-48 OH (overhead) bytes to monitor and manage incoming interfaces. The card passes the incoming SDH/SONET data stream and its overhead bytes transparently.

Control of layered SONET/SDH transport overhead: The card is provisionable to terminate regenerator section overhead. This is used to eliminate forwarding of unneeded layer overhead. It can help reduce the number of alarms and help isolate faults in the network.

Automatic timing source synchronization: The MXP_MP_10E normally synchronizes from the TCC2/TCC2P card. If for some reason, such as maintenance or upgrade activity, the TCC2/TCC2P is not available, the MXP_MP_10E automatically synchronizes to one of the input client interface clocks.

Configurable squelching policy: The card can be configured to squelch the client interface output if there is LOS at the DWDM receiver or if there is a remote fault. In the event of a remote fault, the card manages multiplex section alarm indication signal (MS-AIS) insertion.

16.8.5.2  Faceplate

Figure 16-64 shows the MXP_2.5G_10E faceplate.

Figure 16-64 MXP_2.5G_10E Faceplate

Figure 16-65 shows a block diagram of the MXP_2.5G_10E card.

Figure 16-65 MXP_2.5G_10E Block Diagram

16.8.5.3  Client Interfaces

The MXP_2.5G_10E provides four intermediate- or short-range OC-48/STM-16 ports per card on the client side. Both SR-1 or IR-1 optics can be supported and the ports use SFP connectors. The client interfaces use four wavelengths in the 1310-nm, ITU 100-MHz-spaced, channel grid.

16.8.5.4  DWDM Interface

The MXP_MP_10E serves as an OTN multiplexer, transparently mapping four OC-48 channels asynchronously to ODU1 into one 10-Gbps trunk. The DWDM trunk is tunable for transmission over four wavelengths in the 1550-nm, ITU 100-GHz spaced channel grid.


Caution You must use a 20-dB fiber attenuator (15 to 25 dB) when working with the MXP_MP_10E card in a loopback on the trunk port. Do not use direct fiber loopbacks with the MXP_MP_10E card. Using direct fiber loopbacks causes irreparable damage to the MXP_MP_10E card.

16.8.5.5  Multiplexing Function

The muxponder is an integral part of the optically transparent ROADM network in which data payload channels and wavelengths are processed exclusively at the optical level without electrical to optical (E-O) conversion. The key function of MXP_MP_10E is to multiplex 4 OC-48/STM16 signals onto one ITU-T G.709 OTU2 optical signal (DWDM transmission). The multiplexing mechanism allows the signal to be terminated at a far-end node by another MXP_2.5G_10E card.

Optical transparency on the muxponder is configured using OTUx and ODUx OH bytes. The ITU-T G.709 specification defines OH byte formats that are used to configure, set, and monitor frame alignment, FEC mode, section monitoring, tandem connection monitoring, and optical transparency.

The MXP_2.5G_10E card performs ODU to OTU multiplexing as defined in ITU-T G.709. The ODU is the framing structure and byte definition (ITU-T G.709 digital wrapper) used to define the data payload coming into one of the SONET/SDH client interfaces on MXP_2.5G_10E. The term ODU1 refers to an ODU that operates at 2.5-Gbps line rate. On the MXP_2.5G_10E, there are four client interfaces that can be defined using ODU1 framing structure and format by asserting a ITU-T G.709 digital wrapper.

The output of the muxponder is a single 10-Gbps DWDM trunk interface defined using OTU2. It is within the OTU2 framing structure that FEC or E-FEC information is appended to enable error checking and correction.

16.8.5.6  Timing Synchronization

The MXP_2.5G_10E card is synchronized to the TCC2/TCC2P clock during normal conditions and transmits the ITU-T G.709 frame using this clock. No holdover function is implemented. If neither TCC2/TCC2P clock is available, the MXP_2.5G_10E switches automatically (hitless) to the first of the four valid client clocks with no time restriction as to how long it can run on this clock. The MXP_2.5G_10E continues to monitor the TCC2/TCC2P card. If a TCC2/TCC2P card is restored to working order, the MXP_2.5G_10E reverts to the normal working mode of running from the TCC2/TCC2P clock. If there is no valid TCC2/TCC2P clock and all of the client channels become invalid, the card waits (no valid frames processed) until one of the TCC2/TCC2P cards supplies a valid clock. In addition, the card is allowed to select the recovered clock from one active and valid client channel and supply that clock to the TCC2/TCC2P card.

16.8.5.7  Y-Cable Protection

The MXP_2.5G_10E card supports Y-cable protection. Two MXP_2.5G_10E cards can be joined in a Y-cable protection group with one card assigned as the working card and the other defined as the protection card. This protection mechanism provides redundant bidirectional paths. See the "Y-Cable Protection" section for more detailed information.

The Y-protection mechanism is provisionable and can be set ON or OFF (OFF is the default mode). When a signal fault is detected (LOS, LOF, signal degrade [SD], or SF on the DWDM receiver port in the case of ITU-T G.709 mode) the protection mechanism software automatically switches between paths.


Note If you create a GCC on either card of the protect group, the trunk port stays permanently active, regardless of the switch state. When you provision a GCC, you are provisioning unprotected overhead bytes. The GCC is not protected by the protect group.


16.8.5.8  Enhanced FEC (E-FEC) Capability

The MXP_2.5G_10E can configure the FEC in three modes: NO FEC, FEC, and E-FEC. The output bit rate is always 10.7092 Gbps as defined in ITU-T G.709, but the error coding performance can be provisioned as follows:

NO FEC—No FEC

FEC—Standard ITU-T G.975 Reed-Solomon algorithm

E-FEC—Standard ITU-T G.975.1 I.7, two orthogonally concatenated BCH super FEC code. This FEC scheme contains three parameterizations of the same scheme of two orthogonally interleaved block codes (BCH). The constructed code is decoded iteratively to achieve the expected performance.

16.8.5.9  FEC and E-FEC Modes

As client side traffic passes through the MXP_2.5G_10E card, it can be digitally wrapped using FEC mode error correction or E-FEC mode error correction (or no error correction at all). The FEC mode setting provides a lower level of error detection and correction than the E-FEC mode setting of the card. As a result, using E-FEC mode allows higher sensitivity (lower OSNR) with a lower BER than FEC mode. E-FEC enables longer distance trunk-side transmission than with FEC.

The E-FEC feature is one of three basic modes of FEC operation. FEC can be turned off, FEC can be turned on, or E-FEC can be turned on to provide greater range and lower BER. The default mode is FEC on and E-FEC off. E-FEC is provisioned using CTC.

16.8.5.10  SONET/SDH Overhead Byte Processing

The card passes the incoming SONET/SDH data stream and its overhead bytes for the client signal transparently. The card can be provisioned to terminate regenerator section overhead. This is used to eliminate forwarding of unneeded layer overhead. It can help reduce the number of alarms and help isolate faults in the network.

16.8.5.11  Client Interface Monitoring

The following parameters are monitored on the MXP_2.5G_10E card:

· Laser bias current is measured as a PM parameter

· LOS is detected and signaled

· Rx and Tx power are monitored

The following parameters are monitored in real time mode (one second):

· Optical power transmitted (client)

· Optical power received (client)

In case of loss of communication (LOC) at the DWDM receiver or far-end LOS, the client interface behavior is configurable. AIS can be invoked or the client signal can be squelched.

16.8.5.12  Wavelength Identification

The card uses trunk lasers that are wave-locked, which allows the trunk transmitter to operate on the ITU grid effectively. Table 16-60 describes the required trunk transmit laser wavelengths. The laser is tunable over eight wavelengths at 50-GHz spacing or four at 100-GHz spacing.

Table 16-60 MXP_2.5G_10E Trunk Wavelengths 

Band
Wavelength (nm)

30.3

1530.33

30.3

1531.12

30.3

1531.90

30.3

1532.68

34.2

1534.25

34.2

1535.04

34.2

1535.82

34.2

1536.61

38.1

1538.19

38.1

1538.98

38.1

1539.77

38.1

1540.56

42.1

1542.14

42.1

1542.94

42.1

1543.73

42.1

1544.53

46.1

1546.12

46.1

1546.92

46.1

1547.72

46.1

1548.51

50.1

1550.12

50.1

1550.92

50.1

1551.72

50.1

1552.52

54.1

1554.13

54.1

1554.94

54.1

1555.75

54.1

1556.55

58.1

1558.17

58.1

1558.98

58.1

1559.79

58.1

1560.61


16.8.5.13  Automatic Laser Shutdown

The ALS procedure is supported on both client and trunk interfaces. On the client interface, ALS is compliant with ITU-T G.664 (6/99). On the data application and trunk interface, the switch on and off pulse duration is greater than 60 seconds. The on and off pulse duration is user-configurable. For ALS provisioning information, see the "G223 Change Line Settings for MXP_2.5G_10G and MXP_2.5G_10E Cards" section.

16.8.5.14  Jitter

For SONET and SDH signals, the MXP_2.5G_10E card complies to GR-253-CORE, ITU-T G.825, and ITU-T G.873 for jitter generation, jitter tolerance, and jitter transfer.

16.8.5.15  Lamp Test

The MXP_2.5G_10E card supports a lamp test function that is activated from the ONS 15454 front panel or through CTC to ensure that all LEDs are functional.

16.8.5.16  Onboard Traffic Generation

The MXP_2.5G_10E card provides internal traffic generation for testing purposes according to pseudo-random bit sequence (PRBS), SONET/SDH, or ITU-T G.709.

16.8.5.17  MXP_2.5G_10E Card-Level Indicators

Table 16-61 describes the three card-level LEDs on the MXP_2.5G_10E card.

Table 16-61 MXP_2.5G_10E Card-Level Indicators  

Card-Level LED
Description

Red FAIL LED

The red FAIL LED indicates that the card's processor is not ready. This LED is on during reset. The FAIL LED flashes during the boot process. Replace the card if the red FAIL LED persists.

ACT/STBY LED

Green (Active)

Amber (Standby)

If the ACT/STBY LED is green, the card is operational (one or more ports active) and ready to carry traffic. If the ACT/STBY LED is amber, the card is operational and in standby (protect) mode.

Amber SF LED

The amber SF LED indicates a signal failure or condition such as LOS, LOF, or high BERs on one or more of the card's ports. The amber SF LED is also on if the transmit and receive fibers are incorrectly connected. If the fibers are properly connected and the link is working, the light turns off.


16.8.5.18  MXP_2.5G_10E Port-Level Indicators

Table 16-62 describes the port-level LEDs on the MXP_2.5G_10E card.

Table 16-62 MXP_2.5G_10E Port-Level Indicators  

Port-Level LED
Description

Green Client LED
(four LEDs)

The green Client LED indicates that the client port is in service and that it is receiving a recognized signal. The card has four client ports, and so has four Client LEDs.

Green DWDM LED

The green DWDM LED indicates that the DWDM port is in service and that it is receiving a recognized signal.


16.8.6  MXP_MR_2.5G and MXPP_MR_2.5G Cards

The 2.5-Gbps Multirate Muxponder-100 GHz-Tunable 15xx.xx-15yy.yy (MXP_MR_2.5G) card aggregates a mix and match of client Storage Area Network (SAN) service client inputs (GE, FICON, and Fibre Channel) into one 2.5 Gbps STM-16/OC-48 DWDM signal on the trunk side. It provides one long-reach STM-16/OC-48 port per card and is compliant with Telcordia GR-253-CORE.

The 2.5-Gbps Multirate Muxponder-Protected-100 GHz-Tunable 15xx.xx-15yy.yy (MXPP_MR_2.5G) card aggregates various client SAN service client inputs (GE, FICON, and Fibre Channel) into one 2.5 Gbps STM-16/OC-48 DWDM signal on the trunk side. It provides two long-reach STM-16/OC-48 ports per card and is compliant with ITU-T G.957 and Telcordia GR-253-CORE.

Because the cards are tunable to one of four adjacent grid channels on a 100-GHz spacing, each card is available in eight versions, with 15xx.xx representing the first wavelength and 15yy.yy representing the last wavelength of the four available on the board. In total, 32 DWDM wavelengths are covered in accordance with the ITU-T 100-GHz grid standard, G.692, and Telcordia GR-2918-CORE, Issue 2. The card versions along with their corresponding wavelengths are shown in Table 16-63.

Table 16-63 Card Versions

Card Version
Frequency Channels at 100 GHz (0.8 nm) Spacing

1530.33-1532.68

1530.33 nm

1531.12 nm

1531.90 nm

1532.68 nm

1534.25-1536.61

1534.25 nm

1535.04 nm

1535.82 nm

1536.61 nm

1538.19-1540.56

1538.19 nm

1538.98 nm

1539.77 nm

1540.56 nm

1542.14-1544.53

1542.14 nm

1542.94 nm

1543.73 nm

1544.53 nm

1546.12-1548.51

1546.12 nm

1546.92 nm

1547.72 nm

1548.51 nm

1550.12-1552.52

1550.12 nm

1550.92 nm

1551.72 nm

1552.52 nm

1554.13-1556.55

1554.13 nm

1554.94 nm

1555.75 nm

1556.55 nm

1558.17-1560.61

1558.17 nm

1558.98 nm

1559.79 nm

1560.61 nm


The muxponders are intended to be used in applications with long DWDM metro or regional unregenerated spans. Long transmission distances are achieved through the use of flat gain optical amplifiers.

The client interface supports the following payload types:

GE

1G FC

2G FC

1G FICON

2G FICON


Note Because the client payload cannot oversubscribe the trunk, a mix of client signals can be accepted, up to a maximum limit of 2.5 Gbps.


Table 16-64 shows the input data rate for each client interface, and the encapsulation method. The current version of the Transparent Generic Framing Procedure (GFP-T) G.7041 supports transparent mapping of 8B/10B block-coded protocols, including Gigabit Ethernet, Fibre Channel, and FICON.

In addition to the GFP mapping, 1-Gbps traffic on Port 1 or 2 of the high-speed SERDES is mapped to an STS-24c channel. If two 1-Gbps client signals are present at Port 1 and Port 2 of the high-speed serializer/deserializer (SERDES), the Port 1 signal is mapped into the first STS-24c channel and the Port 2 signal into the second STS-24c channel. The two channels are then mapped into an OC-48 trunk channel.

Table 16-64 MXP_MR_2.5G and MXPP_MR_2.5G Client Interface Data Rates and Encapsulation 

Client Interface
Input Data Rate
GFP-T G.7041 Encapsulation

GE

1.25 Gbps

Yes

1G FC

1.06 Gbps

Yes

2G FC

2.125 Gbps

Yes

1G FICON

1.06 Gbps

Yes

2G FICON

2.125 Gbps

Yes


Table 16-65 shows some of the mix and match possibilities on the various client ports. The table is intended to show the full client payload configurations for the card.

Table 16-65 Client Data Rates and Ports

Mode
Port(s)
Aggregate Data Rate

GE

1, 2

2.5 Gbps

1G FC

1, 2

2.125 Gbps

2G FC

1

2.125 Gbps

1G FICON

1, 2

2.125 Gbps

2G FICON

1

2.125 Gbps


For the MXP_MR_2.5G card, protection is done using Y-cable protection. Two MXP_MR_2.5G cards can be joined in a Y-cable protection group, which provides protection against failures both on the fiber and in the muxponders.

For the MXPP_MR_2.5G card, protection is done using splitter protection, which provides protection against failures due to fiber cuts or unacceptable signal degradation on the trunk side. See the "Transponder and Muxponder Protection" section for more detailed information.


Note Switching is performed only if the protect line is error free.


GFP-T performance monitoring (GFP-T PM) is available via remote monitoring (RMON), and trunk PM is managed according to Telcordia GR-253-CORE and ITU G.783/826. Client PM is achieved through RMON for FC and GE.

A buffer-to-buffer credit management scheme provides FC flow control. With this feature enabled, a port indicates the number of frames that can be sent to it (its buffer credit), before the sender is required to stop transmitting and wait for the receipt of a "ready" indication The MXP_MR_2.5G and MXPP_MR_2.5 cards support FC credit-based flow control with a buffer-to-buffer credit extension of up to 1600 km for 1G FC and up to 800 km for 2G FC. The feature can be enabled or disabled.

You can install MXP_MR_2.5G and MXPP_MR_2.5G cards in Slots 1 to 6 and 12 to 17. The TCC2/TCC2P card is the only other card required to be used with these muxponder cards. Cross-connect cards do not affect the operation of the muxponder cards.

The MXP_MR_2.5G card features a 1550-nm laser for the trunk/line port and a 1310-nm or 850-nm laser (depending on the SFP) for the client ports. The card contains eight 12.5 degree downward tilt SFP modules for the client interfaces. For optical termination, each SFP uses two LC connectors, which are labeled TX and RX on the faceplate. The trunk port is a dual-LC connector with a 45 degree downward angle.

The MXPP_MR_2.5G card features a 1550-nm laser for the trunk/line port and a 1310-nm or 850-nm laser (depending on the SFP) for the client port. The card contains eight 12.5 degree downward tilt SFP modules for the client interfaces. For optical termination, each SFP uses two LC connectors, which are labeled TX and RX on the faceplate. There are two trunk port connectors (one for working and one for protect). Each is a dual-LC connector with a 45-degree downward angle.

16.8.6.1  Faceplates

Figure 16-66 shows the MXP_MR_2.5G and MXPP_MR_2.5G faceplates.

Figure 16-66 MXP_MR_2.5G and MXPP_MR_2.5G Faceplates

16.8.6.2  Block Diagram

Figure 16-67 shows a block diagram of the MXP_MR_2.5G card. The card has eight SFP client interfaces. Ports 1 and 2 can be used for GE, FC, or FICON. Ports 3 through 8 are for future use. There are two SERDES blocks dedicated to the high-speed interfaces (GE, FC, and FICON) and two SERDES blocks for future interfaces. A field programmable gate array (FPGA) is provided to support different configurations for different modes of operation. This FPGA has a Universal Test and Operations Physical Interface for ATM (UTOPIA) interface. A transceiver add-drop multiplexer (TADM) chip supports framing. Finally, the output signal is serialized and connected to the trunk front end with a direct modulation laser. The trunk receive signal is converted into an electrical signal with an avalanche photodiode (APD), is deserialized, and is then sent to the TADM framer and FPGA.

The MXPP_MR_2.5G is the same, except a 50/50 splitter divides the power at the trunk interface. In the receive direction, there are two APDs, two SERDES blocks, and two TADM framers. This is necessary to monitor both the working and protect paths. A switch selects one of the two paths to connect to the client interface.

Figure 16-67 MXP_MR_2.5G and MXPP_MR_2.5G Block Diagram


Caution You must use a 20-dB fiber attenuator (15 to 25 dB) when working with the MXP_MR_2.5G and MXPP_MR_2.5G cards in a loopback configuration on the trunk port. Do not use direct fiber loopbacks with the MXP_MR_2.5G and MXPP_MR_2.5G cards. Using direct fiber loopbacks causes irreparable damage to the MXP_MR_2.5G and MXPP_MR_2.5G cards.

16.8.6.3  MXP_MR_2.5G and MXPP_MR_2.5G Safety Labels

The MXP_MR_2.5G and MXPP_MR_2.5G cards have several safety labels that provide laser radiation and electrical shock warnings.

Figure 16-68 shows the laser radiation warning hazard level label. The faceplate of these cards are clearly labeled with warnings about the equipment radiation level. Personnel must understand all warning labels before working with these cards. The hazard level label warns the personnel against exposure to laser radiation of Class 1M limits calculated in accordance with IEC60825-1 Ed.1.2.

Figure 16-68 Laser Radiation Warning—Hazard Level Label

Figure 16-69 shows the laser source connector label. This label indicates a laser source at the optical connectors where it has been placed.

Figure 16-69 Laser Radiation Warning—Laser Source Connector Label

Figure 16-70 shows the FDA compliance label. This label shows the statement of compliance to FDA standards and that the hazard level classification is in accordance with IEC60825-1 Am.2 or Ed.1.2.

Figure 16-70 FDA Compliance Statement Label

Figure 16-71 shows the electrical energy hazard label. This label alerts personnel to electrical hazards within the card. The potential of shock hazard exists when adjacent cards are removed during maintenance and touching exposed electrical circuitry on the card itself.

Figure 16-71 Electrical Energy Hazard Label

16.8.6.4  MXP_MR_2.5G and MXPP_MR_2.5G Card-Level Indicators

Table 16-66 lists the four card-level LEDs on the MXP_MR_2.5G and MXPP_MR_2.5G cards.

Table 16-66 MXP_MR_2.5G and MXPP_MR_2.5G Card-Level Indicators 

Card-Level LED
Description

FAIL LED (Red)

Red indicates that the card's processor is not ready. This LED is on during reset. The FAIL LED flashes during the boot process. Replace the card if the red FAIL LED persists.

ACT/STBY LED

Green (Active)

Amber (Standby)

Green indicates that the card is operational (one or both ports active) and ready to carry traffic.

Amber indicates that the card is operational and in standby (protect) mode.

SF LED (Amber)

Amber indicates a signal failure or condition such as LOS, LOF, or high BERs on one or more of the card's ports. The amber SF LED is also illuminated if the transmit and receive fibers are incorrectly connected. If the fibers are properly connected and the link is working, the LED turns off.

DWDM LED

Green (Active)

Amber (Protect Traffic)

Red (LOS)

Green indicates that the board is carrying traffic (active) on the interface.

When the LED is amber, it indicates that the interface is carrying protect traffic in a splitter protection card (MXPP_MR_2.5G).

A red LED indicates that the interface has detected an LOS or LOC.


16.8.6.5  MXP_MR_2.5G and MXPP_MR_2.5G Port-Level Indicators

Table 16-67 lists the eight port-level LEDs on the MXP_MR_2.5G and MXPP_MR_2.5G cards.

Table 16-67 MXP_MR_2.5G and MXPP_MR_2.5G Port-Level Indicators 

Port-Level LED
Description
Client LEDs (eight LEDs)

Green indicates that the port is carrying traffic (active) on the interface. Amber indicates that the port is carrying protect traffic (MXPP_MR_2.5G). Red indicates that the port has detected a loss of signal.


16.9  Transponder and Muxponder Protection

Two types of protection are available:

Y-cable protection

Splitter protection

16.9.1  Y-Cable Protection

Y-cable protection is available for the following ONS 15454 transponder and muxponder cards:

TXP_MR_10G

TXP_MR_2.5G

MXP_MR_2.5G

MXP_2.5G_10G

To create Y-cable protection, you create a Y-cable protection group for two TXP or MXP cards using the CTC software, then connect the client ports of the two cards physically with a Y-cable. The single client signal is sent into the Rx Y-cable and is split between the two TXP or MXP cards. The two Tx signals from the client side of the TXP or MXP cards are combined in the TX Y-cable into a single client signal. Only the active card signal passes through as the single TX client signal. The other card must have its laser turned off to avoid signal degradation where the Y-cable joins. See the "NTP-G33 Create a Y-Cable Protection Group" procedure as needed.

Figure 16-72 shows the Y-cable signal flow.


Note Loss of Signal-Payload (LOS-P) alarms, also called Incoming Payload Signal Absent alarms, can occur on a split signal if the ports are not in a Y-cable protection group.


Figure 16-72 Y-Cable Protection

16.9.2  Splitter Protection

Splitter protection, shown in Figure 16-73, is provided with TXPP and MXPP cards. To implement splitter protection, a client injects a single signal into the client Rx port. An optical splitter internal to the card then splits the signal into two separate signals and routes them to the two trunk Tx ports. The two signals are transmitted over diverse optical paths. The far-end MXPP or TXPP card uses an optical switch to choose one of the two trunk Rx port signals and injects it into the Tx client port. When using splitter protection with two MXPP or TXPP cards, there are two different optical signals that flow over diverse paths in each direction. In case of failure. the far-end switch must choose the appropriate signal using its built-in optical switch. The triggers for a protection switch are LOS, LOF, SF, or SD.

Figure 16-73 Splitter Protection

You create and modify protection schemes using CTC software.

16.10  Far-End Laser Control (FELC)

The 15454 DWDM cards provide a transparent mode that accurately conveys the client input signal to the far-end client output signal. The client signal is normally carried as payload over the DWDM signals. Certain client signals, however, cannot be conveyed as payload. In particular, client LOS or LOF cannot be carried. Far-end laser control is the ability to convey an LOS or LOF from the near-end client input to the far-end client output.

If an LOS is detected on the near-end client input, the near-end trunk sets the appropriate bytes in the OTN overhead of the DWDM line. These bytes are received by the far-end trunk, and cause the far-end client laser to be turned off. When the laser is turned off, it is said to be squelched. If the near-end LOS clears, the near-end trunk clears the appropriate bytes in the OTN overhead, the far-end detects the changed bytes, and the far-end client squelch is removed.

FELC also covers the situation in which the trunk port detects that it has an invalid signal; the client is squelched so as not to propagate the invalid signal.

Payload types with the 2R mode preclude the use of OTN overhead bytes. In 2R mode, an LOS on the client port causes the trunk laser to turn off. The far end detects the LOS on its trunk receiver and squelches the client.

FELC is not provisionable. It is always enabled when the DWDM card is in Transparent mode. However, FELC signaling to the far-end is only possible when ITU-T G.709 is enabled on both ends of the trunk span.

16.11  Jitter Considerations

Jitter introduced by the SFPs used in the transponders and muxponders must be considered when cascading several cards. With TXP_MR_2.5G, TXPP_MR_2.5G, MXP_MR_2.5G, MXPP_MR_2.5G, and TXP_MR_10E cards, several transponders can be cascaded before the cumulative jitter violates the jitter specification. The recommended limit is 20 cards. With TXP_MR_10G cards, you can also cascade several cards, although the recommended limit is 12 cards. With MXP_2.5G_10G and MXP_2.5G_10E cards, any number of cards can be cascaded as long as the maximum reach between any two is not exceeded. This is because any time the signal is demultiplexed, the jitter is eliminated as a limiting factor.

The maximum reach between one transponder and the other must be halved if a Y cable is used. For more information on Y-cable operation, see the "Y-Cable Protection" section.

16.12  Termination Modes

Transponder and muxponder cards have various SONET and SDH termination modes that can be configured using CTC (see Chapter 11 "Change DWDM Card Settings"). The termination modes are summarized in Table 16-68.

Table 16-68 Termination Modes 

Card
Termination Modes
Description

All TXP and MXP cards, with the exception of the MXP_2.5G_10G card (see next section of this table)

Transparent Termination

Section Termination







Line Termination

All the bytes of the payload pass transparently through the cards.

The SONET Transport Overhead (TOH) section bytes and the SDH regenerator section overhead bytes are terminated. None of these section overhead bytes are passed through. They are all regenerated, including the SONET TOH section data communication channel (SDCC) bytes and the SDH data communications channel regenerator (DCCr) bytes. In the section termination mode, the SONET TOH line and SDH multiplex section overhead bytes are passed transparently.

In line termination mode, the section and line overhead bytes for SONET and the overhead bytes for the SDH multiplex and regenerator sections are terminated. None of the overhead bytes are passed through. They are all regenerated, including the SONET SDCC and line data communication channel (LDCC) bytes and the SDH DCCr and data communications channel multiplexer (DCCm) bytes.

MXP_2.5G_10G1

Transparent Termination



Section Termination






Line Termination

All of the client bytes of the clients passes transparently through except the following: B1 is rebuilt, S1 is rewritten, A1 to A2 are regenerated, and H1 to H3 are regenerated.

The SONET TOH section bytes and the SDH regenerator section overhead bytes are terminated. None of these section overhead bytes are passed through. They are all regenerated, including the SONET TOH section DCC bytes and the SDH DCCr bytes. In the section termination mode, the SONET TOH line and SDH multiplex section overhead bytes are passed transparently.

In the line termination mode, the section and line overhead bytes for SONET and the overhead bytes for the SDH multiplex and regenerators sections are terminated. None of the overhead bytes are passed through. They are all regenerated, including the SONET SDCC and LDCC bytes and the SDH DCCr and DCCm bytes.

1 The clients operating at rates of OC48/STM16 are multiplexed into an OC192/STM64 frame before going to OTN or DWDM.


16.13  SFP and XFP Modules

This section describes the SFPs and 10-Gbps SFPs (XFPs) that can be used with some transponder and muxponder cards. To install SFPs or XFPs, see the "DLP-G63 Install an SFP or XFP" task. In CTC, SFPs/XFPs are called pluggable port modules (PPMs). To provision SFPs/XFPs and change the line rate for multirate PPMs, see the "NTP-G128 Manage Pluggable Port Modules" procedure.

16.13.1  Compatibility by Card

Table 16-69 lists the transponder and muxponder cards and their compatible SFPs/XFPs.


Caution Only use SFPs/XFPs certified for use in Cisco Optical Networking Systems (ONSs). The qualified Cisco SFP/XFP pluggable module's top assembly numbers (TANs) are provided in Table 16-69.

Table 16-69 SFP/XFP Card Compatibility 

Card
Compatible SFP/XFP
(Cisco Product ID)
Cisco Top Assembly Number (TAN)

MXP_2.5G_10G (ONS 15454 SONET/SDH)

15454-SFP-OC48-IR=
ONS-SE-2G-S1=

10-1975-01
10-2017-01

MXP_2.5G_10E (ONS 15454 SONET/SDH)

15454-SFP-OC48-IR=
ONS-SE-2G-S1=
ONS-SE-2G-L2=

10-1975-01
10-2017-01
10-2013-01

MXP_MR_2.5G
MXPP_MR_2.5G

15454-SFP-GE+-LX=
15454E-SFP-GE+-LX=
15454-SFP-GEFC-SX=
15454E-SFP-GEFC-S=

10-1832-03
10-1832-03
10-1833-01
10-1833-02

TXP_MR_2.5G (ONS 15454 SONET/SDH)
TXPP_MR_2.5G (ONS 15454 SONET/SDH)

15454-SFP3-1-IR=
15454E-SFP-L.1.1=
15454-SFP12-4-IR=
15454E-SFP-L.4.1=
15454-SFP-OC48-IR=
15454E-SFP-L.16.1=
ONS-SE-2G-S1=
15454-SFP-200=
15454E-SFP-200=
15454-SFP-GEFC-SX=
15454E-SFP-GEFC-S=
15454-SFP-GE+-LX=
15454E-SFP-GE+-LX=
ONS-SE-2G-L2=

10-1828-01
10-1828-01
10-1976-01
10-1976-01
10-1975-01
10-1975-01
10-2017-01
10-1750-01
10-1750-01
10-1833-01
10-1833-02
10-1832-01
10-1832-02
10-2013-01

TXP_MR_10E (ONS 15454 SONET/SDH)

ONS-XC-10G-S1

10-2012-01


16.13.2  SFP and XFP Description

SFPs and XFPs are integrated fiber optic transceivers that provide high-speed serial links from a port or slot to the network. Various latching mechanisms can be utilized on the SFP modules. There is no correlation between the type of latch to the model type (such as SX or LX/LH) or technology type (such as Gigabit Ethernet). See the label on the SFP or XFP for technology type and model.

The SFPs use the latches show in the following figures. One type of latch is a mylar tab (Figure 16-74).

Figure 16-74 Mylar Tab SFP

A second type of latch is an actuator/button (Figure 16-75).

Figure 16-75 Actuator/Button SFP

A third type of latch is a bail clasp (Figure 16-76).

Figure 16-76 Bail Clasp SFP

SFP dimensions are:

Height 0.03 in. (8.5 mm)

Width 0.53 in. (13.4 mm)

Depth 2.22 in. (56.5 mm)

SFP temperature ranges are:

COM—Commercial operating temperature range -5 to 70 degrees Celsius (23 to 158 degrees Fahrenheit)

EXT—Extended operating temperature range -5 to 85 degrees Celsius (23 to 185 degrees Fahrenheit)

IND—Industrial operating temperature range -40 to 85 degrees Celsius (-40 to 185 degrees Fahrenheit)

The XFPs uses the bail clasp latching mechanism as shown unlatched in Figure 16-77 and latched in Figure 16-78. See the label on the XFP for technology type and model.

Figure 16-77 Bail Clasp XFP (Unlatched)

Figure 16-78 Bail Clasp XFP (Latched)

XFP dimensions are:

Height 0.33 in. (8.5 mm)

Width 0.72 in. (18.3 mm)

Depth 3.1 in. (78 mm)

XFP temperature ranges are:

COM—Commercial operating temperature range -5 to 70 degrees Celsius (23 to 158 degrees Fahrenheit)

EXT—Extended operating temperature range -5 to 85 degrees Celsius (23 to 185 degrees Fahrenheit)

IND—Industrial operating temperature range -40 to 85 degrees Celsius (-40 to 185 degrees Fahrenheit)

1 Client-facing gray optical signals generally operate at shorter wavelengths, whereas DWDM colored optical signals are in the longer wavelength range (for example, 1490 nm = violet; 1510 nm = blue; 1530 nm = green; 1550 nm = yellow; 1570 nm = orange; 1590 nm = red; 1610 nm = brown). Some of the newer client-facing SFPs, however, operate in the colored region.