Table of Contents
Replacement of D IMM on the Cisco RF Gateway 10
Replacing the D ual In-Line Memory Module
Obta ining Documentation and Submitting a Service Request Replacement of DIMM on the Cisco RF Gateway 10
Replacing the Dual In-Line Memory Module
![]()
Caution Dual in-line memory modules (DIMMs) are ESD-sensitive components and can be damaged due to mishandling. Ensure that it is handled with care during installation and removal.![]()
Warning Only trained and qualified personnel should be allowed to install, replace, or service this equipment. Statement 1030.
- Number 2 Phillips screwdriver
- Small flat-blade screwdriver
- ESD-preventive wrist strap
- Antistatic mat or static shielding bag
- Replacement SDRAM DIMM
Step 1
Attach an ESD-preventive wrist strap and ensure that it makes good contact with your skin.
Step 2
Connect the equipment end of the wrist strap to the metal backplate of the chassis, avoiding contact with the connectors.
Step 3
Unscrew the captive screws on the front of the line card to remove the line card from the Cisco RF Gateway 10 chassis. Simultaneously, pivot both the ejector levers away from the line card to disengage the card from the backplane.
Step 4
Slide the card out from the chassis and place it on an antistatic surface or in a static shielding bag with the component-side up.
Step 5
Locate the SDRAM DIMM socket on the card. (See Figure 1, Figure 2 and Figure 3 .)
Figure 1 SDRAM MiniDIMM Socket on the Cisco RF Gateway 10 DS-48 Line Card
![]()
Figure 2 SDRAM SODIMM Socket on the Cisco RFGW-TCC1 Card
![]()
Figure 3 SDRAM SODIMM Socket on the Cisco RFGW-X4516-10GE Card
![]()
Step 6
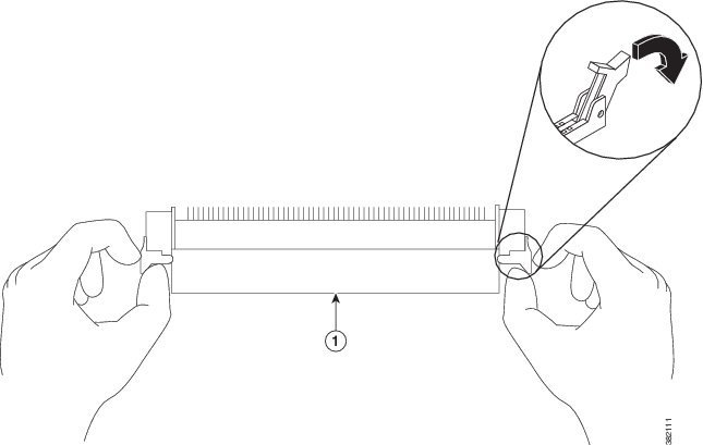
Release the clips on the DIMM, which releases it from its socket.
![]()
Caution Handle the DIMM only along the edges. Do not touch the memory modules, pins, or traces (metal fingers along the connector edge) to avoid damage.Figure 4 Releasing the Plastic Clips on the Cisco DS48 Line Card MiniDIMM
![]()
Figure 5 Releasing the Metal Clips on the Cisco RFGW-TCC1 Card SODIMM
![]()
Figure 6 Releasing the Metal Clips on the Cisco RFGW-X4516-10GE Card SODIMM
![]()
Step 7
Pull the clips away with your thumb, bracing your forefingers against the rails. (See Figure 4, Figure 5 and Figure 6 ).
Step 8
When both ends of the DIMM are released from the socket, grasp the ends of the DIMM with your thumb and forefinger, and pull it completely out of the socket. Then, in compliance with electronic waste laws, dispose the DIMM.
Step 9
Install the replacement DIMM by holding the component-side facing up with the connector edge (the metal fingers) away from you. Keep the sides of the DIMM between your thumb and index finger with your middle finger against the far edge and opposite the connector edge. (See Figure 7 .)
![]()
![]()
![]()
Step 10
Tilt the DIMM to the same angle as the socket, then insert the connector edge into the socket. Gently push into place until the clips snap into place.
![]()
Caution It is normal to feel some resistance when installing a DIMM. Do not use excessive force or touch the surface components to avoid damage.Step 11
Check the two alignment notches, and ensure that the clips are visible. If necessary, carefully remove and re-seat the DIMM.
Step 12
Align the top and bottom edges of the line card with the guides in the chassis carefully, and then install the line card by sliding the card into the slot.
Step 13
Close the ejector levers to secure the card in the backplane, and tighten the captive screws on the line card.
Related Documentation
For more information about the Cisco RF Gateway 10 and its FRUs, go to http://www.cisco.com/c/en/us/support/video/rf-gateway-series/tsd-products-support-series-home.html.
Obtaining Documentation and Submitting a Service Request
For information on obtaining documentation, submitting a service request, and gathering additional information, see the monthly What’s New in Cisco Product Documentation , which also lists all new and revised Cisco technical documentation, at:
http://www.cisco.com/c/en/us/td/docs/general/whatsnew/whatsnew.html
Subscribe to the What’s New in Cisco Product Documentation as a Really Simple Syndication (RSS) feed and set content to be delivered directly to your desktop using a reader application. The RSS feeds are a free service and Cisco currently supports RSS version 2.0