Ethernet Cards


Note The terms “Unidirectional Path Switched Ring” and “UPSR” may appear in Cisco literature. These terms do not refer to using Cisco ONS 15xxx products in a unidirectional path switched ring configuration. Rather, these terms, as well as “Path Protected Mesh Network” and “PPMN,” refer generally to Cisco's path protection feature, which may be used in any topological network configuration. Cisco does not recommend using its path protection feature in any particular topological network configuration.


The Cisco ONS 15454 integrates Ethernet into a SONET platform through the use of Ethernet cards. This chapter describes the E-Series, G-Series, ML-Series, and CE-Series Ethernet cards. For installation and card turn-up procedures, refer to the Cisco ONS 15454 Procedure Guide . For ML-Series configuration information, refer to the Cisco ONS 15454 and Cisco ONS 15454 SDH Ethernet Card Software Feature and Configuration Guide .

Chapter topics include:

5.1 Ethernet Card Overview

The card overview section summarizes the Ethernet card functions and provides the software compatibility for each card.


Note Each card is marked with a symbol that corresponds to a slot (or slots) on the ONS 15454 shelf assembly. The cards are then installed into slots displaying the same symbols. Refer to the Cisco ONS 15454 Procedure Guide for a list of slots and symbols.


5.1.1 Ethernet Cards

Table 5-1 lists the Cisco ONS 15454 Ethernet cards.

 

Table 5-1 Ethernet Cards for the ONS 15454

Card
Port Description
For Additional Information...

E100T-12

The E100T-12 card provides 12 switched, autosensing, 10/100BaseT Ethernet ports and is compatible with the XCVT card.

See the “E100T-12 Card” section.

E100T-G

The E100T-G card provides 12 switched, autosensing, 10/100BaseT Ethernet ports and is compatible with the XC10G and XC-VXC-10G cards.

See the “E100T-G Card” section.

E1000-2

The E1000-2 card provides two IEEE-compliant, 1000-Mbps ports. Gigabit Interface Converters ( GBICs) are separate.

See the “E1000-2 Card” section.

E1000-2-G

The E1000-2-G card provides two IEEE-compliant, 1000-Mbps ports. GBICs are separate. The E1000-2-G card is compatible with the XC10G and XC-VXC-10G cards.

See the “E1000-2-G Card” section.

G1K-4

The G1 K- 4 c ard provides four IEEE-compliant, 1000-Mbps ports . GBICs are separate. The G1 K- 4 c ard can operate with XCVT, XC10G and XC-VXC-10G cross-connect cards.

See the “G1K-4 Card” section.

M100T-12

The ML100T-12 card provides 12 switched, autosensing, 10/100Base-T Ethernet ports.

See the “ML100T-12 Card” section.

M100X-8

The ML100X-8 card provides eight switched, 100BaseFX Ethernet ports.

See the “ML100X-8 Card” section.

M1000-2

The ML1000-2 card provides two IEEE-compliant, 1000-Mbps ports . Small Form-factor Pluggable (SFP) connectors are separate.

See the “ML1000-2 Card” section.

ML-MR-10

The ML-MR-10 card is a ten-port multilayer Ethernet card. The Ethernet ports support speeds of 10 Mbps, 100 Mbps, or 1000 Mbps through pluggable SFPs.

See the “ML-MR-10 Card” section.

CE-100T-8

The CE-100T-8 card provides eight IEEE-compliant, 10/100-Mbps ports . The CE-100T-8 can operate with the XC10G, XC-VXC-10G, or XCVT cross-connect cards .

See the “CE-100T-8 Card” section.

CE-MR-10

The CE-MR-10 card is a ten-port Ethernet card. The Ethernet ports support speeds of 10 Mbps, 100 Mbps, or 1000 Mbps through pluggable SFPs.

See the “CE-MR-10 Card” section.

CE-1000-4

The CE-1000-4 card provides four IEEE-compliant, 1000-Mbps ports . The CE-1000-4 card can operate with the XC10G, XC-VXC-10G, or XCVT cross-connect cards .

See the “CE-1000-4 Card” section.

CE-MR-10

The CE-MR-10 card provides ten IEEE-compliant, 10/100/1000-Mbps ports . The CE-MR-10 card can operate with the XC10G, XC-VXC-10G, or XCVT cross-connect cards .

See the “CE-MR-10 Card” section.

5.1.2 Card Compatibility

Table 5-2 lists the CTC software compatibility for each Ethernet card.


Note “Yes” indicates that this card is fully or partially supported by the indicated software release. Refer to the individual card reference section for more information about software limitations for this card.


 

Table 5-2 Ethernet Card Software Compatibility

Ethernet
Cards
R3.0.1
R3.1
R3.2
R3.3
R3.4
R4.0
R4.1
R4.5
R4.6
R4.7
R5.0
R6.0
R7.0
R7.2
R8.0
R8.5
R9.0
R9.1
R9.2
R9.2.1
E100T-12

Yes

Yes

Yes

Yes

Yes

Yes

Yes

Yes

Yes

Yes

Yes

Yes

Yes

Yes

Yes

Yes

Yes

Yes

E1000-2

Yes

Yes

Yes

Yes

Yes

Yes

Yes

Yes

Yes

Yes

Yes

Yes

Yes

Yes

Yes

Yes

Yes

Yes

E100T-G

Yes

Yes

Yes

Yes

Yes

Yes

Yes

Yes

Yes

Yes

Yes

Yes

Yes

Yes

Yes

Yes

Yes

Yes

E1000-2-G

Yes

Yes

Yes

Yes

Yes

Yes

Yes

Yes

Yes

Yes

Yes

Yes

Yes

Yes

Yes

Yes

Yes

Yes

G1000-4

Yes

Yes

Yes

Yes

Yes

Yes

Yes

Yes

Yes

Yes

G1K-4

Yes

Yes

Yes

Yes

Yes

Yes

Yes

Yes

Yes

Yes

Yes

Yes

Yes

Yes

Yes

Yes

ML100T-12

Yes

Yes

Yes

Yes

Yes

Yes

Yes

Yes

Yes

Yes

Yes

Yes

Yes

ML100X-8

Yes

Yes

Yes

Yes

Yes

Yes

Yes

Yes

Yes

ML1000-2

Yes

Yes

Yes

Yes

Yes

Yes

Yes

Yes

Yes

Yes

Yes

Yes

Yes

ML-MR-10

Yes

Yes

Yes

Yes

Yes

CE-100T-8

Yes

Yes

Yes

Yes

Yes

Yes

Yes

Yes

Yes

Yes

CE-1000-4

Yes

Yes

Yes

Yes

Yes

Yes

Yes

Yes

CE-MR-10

Yes

Yes

Yes

Yes

Yes

5.2 E100T-12 Card


Note For hardware specifications, see the “E100T-12 Card Specifications” section.


The ONS 15454 uses E100T-12 cards for Ethernet (10 Mbps) and Fast Ethernet (100 Mbps). Each card provides 12 switched, IEEE 802.3-compliant, 10/100BaseT Ethernet ports that can independently detect the speed of an attached device (autosense) and automatically connect at the appropriate speed. The ports autoconfigure to operate at either half or full duplex and determine whether to enable or disable flow control. You can also configure Ethernet ports manually. Figure 5-1 shows the faceplate and a block diagram of the card.

Figure 5-1 E100T-12 Faceplate and Block Diagram

 

The E100T-12 Ethernet card provides high-throughput, low-latency packet switching of Ethernet traffic across a SONET network while providing a greater degree of reliability through SONET self-healing protection services. This Ethernet capability enables network operators to provide multiple 10/100-Mbps access drops for high-capacity customer LAN interconnects, Internet traffic, and cable modem traffic aggregation. It enables the efficient transport and co-existence of traditional time-division multiplexing (TDM) traffic with packet-switched data traffic.

Each E100T-12 card supports standards-based, wire-speed, Layer 2 Ethernet switching between its Ethernet interfaces. The IEEE 802.1Q tag logically isolates traffic (typically subscribers). IEEE 802.1Q also supports multiple classes of service.

5.2.1 Slot Compatibility

You can install the E100T-12 card in Slots 1 to 6 and 12 to 17. Multiple E-Series Ethernet cards installed in an ONS 15454 can act independently or as a single Ethernet switch. You can create logical SONET ports by provisioning synchronous transport signal (STS) channels to the packet switch entity within the ONS 15454. Logical ports can be created with a bandwidth granularity of STS-1. The E100T-12 supports STS-1, STS-3c, STS-6c, and STS-12c circuit sizes.


Note When making an STS-12c Ethernet circuit, the E-Series cards must be configured as single-card EtherSwitch.


5.2.2 E100T-12 Card-Level Indicators

The E100T-12 card faceplate has two card-level LED indicators, described in Table 5-3 .

 

Table 5-3 E100T-12 Card-Level Indicators

Card-Level Indicators
Description

FAIL LED (Red)

The red FAIL LED indicates that the card processor is not ready or that a catastrophic software failure occurred on the E100T-12 card. As part of the boot sequence, the FAIL LED is on until the software deems the card operational.

ACT LED (Green)

The green ACT LED provides the operational status of the E100T-12. If the ACT LED is green, it indicates that the E100T-12 card is active and the software is operational.

SF LED

Not used.

5.2.3 E100T-12 Port-Level Indicators

The E100T-12 card has 12 pairs of LEDs (one pair for each port) to indicate port conditions. Table 5-4 lists the port-level indicators. You can find the status of the E100T-12 card port using the LCD on the ONS 15454 fan-tray assembly. Use the LCD to view the status of any port or card slot; the screen displays the number and severity of alarms for a given port or slot.

 

Table 5-4 E100T-12 Port-Level Indicators

LED State
Description

Amber

The port is active (transmitting and receiving data).

Solid green

The link is established.

Off

The connection is inactive, or traffic is unidirectional.

5.2.4 Cross-Connect Compatibility

The E100T-12 card is compatible with the XCVT card. Do not use the E100T-12 card with the XC10G and XC-VXC-10G cards.

5.3 E100T-G Card


Note For hardware specifications, see the “E100T-G Card Specifications” section.


The ONS 15454 uses E100T-G cards for Ethernet (10 Mbps) and Fast Ethernet (100 Mbps). Each card provides 12 switched, IEEE 802.3-compliant, 10/100BaseT Ethernet ports that can independently detect the speed of an attached device (autosense) and automatically connect at the appropriate speed. The ports autoconfigure to operate at either half or full duplex and determine whether to enable or disable flow control. You can also configure Ethernet ports manually. Figure 5-2 shows the faceplate and a block diagram of the card.

Figure 5-2 E100T-G Faceplate and Block Diagram

 

The E100T-G Ethernet card provides high-throughput, low-latency packet switching of Ethernet traffic across a SONET network while providing a greater degree of reliability through SONET self-healing protection services. This Ethernet capability enables network operators to provide multiple 10/100 Mbps access drops for high-capacity customer LAN interconnects, Internet traffic, and cable modem traffic aggregation. It enables the efficient transport and co-existence of traditional TDM traffic with packet-switched data traffic.

Each E100T-G card supports standards-based, wire-speed, Layer 2 Ethernet switching between its Ethernet interfaces. The IEEE 802.1Q tag logically isolates traffic (typically subscribers). IEEE 802.1Q also supports multiple classes of service.


Note When making an STS-12c Ethernet circuit, the E-Series cards must be configured as single-card EtherSwitch.


5.3.1 Slot Compatibility

You can install the E100T-G card in Slots 1 to 6 and 12 to 17. Multiple E-Series Ethernet cards installed in an ONS 15454 can act independently or as a single Ethernet switch. You can create logical SONET ports by provisioning a number of STS channels to the packet switch entity within the ONS 15454. Logical ports can be created with a bandwidth granularity of STS-1. The ONS 15454 supports STS-1, STS-3c, STS-6c, or STS-12c circuit sizes.

5.3.2 E100T-G Card-Level Indicators

The E100T-G card faceplate has two card-level LED indicators, described in Table 5-5 .

 

Table 5-5 E100T-G Card-Level Indicators

Card-Level Indicators
Description

FAIL LED (Red)

The red FAIL LED indicates that the card processor is not ready or that a catastrophic software failure occurred on the E100T-G card. As part of the boot sequence, the FAIL LED is turned on until the software deems the card operational.

ACT LED (Green)

The green ACT LED provides the operational status of the E100T-G. If the ACT LED is green it indicates that the E100T-G card is active and the software is operational.

SF LED

Not used.

5.3.3 E100T-G Port-Level Indicators

The E100T-G card has 12 pairs of LEDs (one pair for each port) to indicate port conditions ( Table 5-6 ). You can find the status of the E100T-G card port using the LCD screen on the ONS 15454 fan-tray assembly. Use the LCD to view the status of any port or card slot; the screen displays the number and severity of alarms for a given port or slot.

 

Table 5-6 E100T-G Port-Level Indicators

LED State
Description

Yellow (Active)

Port is active (transmitting or receiving data). By default, indicates the transmitter is active but can be software controlled to indicate link status, duplex status, or receiver active.

Solid Green (Link)

Link is established. By default, indicates the link for this port is up, but can be software controlled to indicate duplex status, operating speed, or collision.

5.3.4 Cross-Connect Compatibility

The E100T-G card is compatible with the XCVT, XC10G and XC-VXC-10G cards.

5.4 E1000-2 Card


Note For hardware specifications, see the “E1000-2 Card Specifications” section.


The ONS 15454 uses E1000-2 cards for Gigabit Ethernet (1000 Mbps). The E1000-2 card provides two IEEE-compliant, 1000-Mbps ports for high-capacity customer LAN interconnections. Each port supports full-duplex operation.

The E1000-2 card uses GBIC modular receptacles for the optical interfaces. For details, see the “Ethernet Card GBICs and SFPs” section.

E1000-2 Faceplate and Block Diagram shows the card faceplate and a block diagram of the card.

Figure 5-3 E1000-2 Faceplate and Block Diagram

 

The E1000-2 Gigabit Ethernet card provides high-throughput, low-latency packet switching of Ethernet traffic across a SONET network while providing a greater degree of reliability through SONET self-healing protection services. This enables network operators to provide multiple 1000-Mbps access drops for high-capacity customer LAN interconnects. It enables efficient transport and co-existence of traditional TDM traffic with packet-switched data traffic.

Each E1000-2 card supports standards-based, Layer 2 Ethernet switching between its Ethernet interfaces and SONET interfaces on the ONS 15454. The IEEE 802.1Q VLAN tag logically isolates traffic (typically subscribers).

Multiple E-Series Ethernet cards installed in an ONS 15454 can act together as a single switching entity or as independent single switches supporting a variety of SONET port configurations.

You can create logical SONET ports by provisioning STS channels to the packet switch entity within the ONS 15454. Logical ports can be created with a bandwidth granularity of STS-1. The ONS 15454 supports STS-1, STS-3c, STS-6c, or STS-12c circuit sizes.


Note When making an STS-12c circuit, the E-Series cards must be configured as single-card EtherSwitch.


5.4.1 Slot Compatibility

You can install the E1000-2 card in Slots 1 to 6 and 12 to 17. The E1000-2 is compatible with the XCVT card but not the XC10G or and XC-VXC-10G cards. The E1000-2-G is compatible with the XC10G and XC-VXC-10G.

5.4.2 E1000-2 Card-Level Indicators

The E1000-2 card faceplate has two card-level LED indicators, described in Table 5-7 .

 

Table 5-7 E1000-2 Card-Level Indicators

Card-Level Indicators
Description

FAIL LED (Red)

The red FAIL LED indicates that the card processor is not ready or that a catastrophic software failure occurred on the E1000-2 card. As part of the boot sequence, the FAIL LED is turned on until the software deems the card operational.

ACT LED (Green)

The green ACT LED provides the operational status of the E1000-2. When the ACT LED is green it indicates that the E1000-2 card is active and the software is operational.

SF LED

Not used.

5.4.3 E1000-2 Port-Level Indicators

The E1000-2 card has one bicolor LED per port ( Table 5-8 ). When the LED is solid green, it indicates that carrier is detected, meaning an active network cable is installed. When the LED is off, it indicates that an active network cable is not plugged into the port, or the card is carrying unidirectional traffic. When the LED flashes amber, it does so at a rate proportional to the level of traffic being received and transmitted over the port.

 

Table 5-8 E1000-2 Port-Level Indicators

LED State
Description

Amber

The port is active (transmitting and receiving data).

Solid green

The link is established.

Off

The connection is inactive, or traffic is unidirectional.

5.4.4 Cross-Connect Compatibility

The E1000-2 is compatible with XCVT cards. The XC10G and XC-VXC-10G cards require the E1000-2-G card.

5.5 E1000-2-G Card


Note For hardware specifications, see the “E1000-2-G Card Specifications” section.


The ONS 15454 uses E1000-2-G cards for Gigabit Ethernet (1000 Mbps). The E1000-2-G card provides two IEEE-compliant, 1000-Mbps ports for high-capacity customer LAN interconnections. Each port supports full-duplex operation.

The E1000-2-G card uses GBIC modular receptacles for the optical interfaces. For details, see the “Ethernet Card GBICs and SFPs” section.

Figure 5-4 shows the card faceplate and a block diagram of the card.

Figure 5-4 E1000-2-G Faceplate and Block Diagram

 

The E1000-2-G Gigabit Ethernet card provides high-throughput, low-latency packet switching of Ethernet traffic across a SONET network while providing a greater degree of reliability through SONET self-healing protection services. This enables network operators to provide multiple 1000-Mbps access drops for high-capacity customer LAN interconnects. It enables efficient transport and co-existence of traditional TDM traffic with packet-switched data traffic.

Each E1000-2-G card supports standards-based, Layer 2 Ethernet switching between its Ethernet interfaces and SONET interfaces on the ONS 15454. The IEEE 802.1Q VLAN tag logically isolates traffic (typically subscribers).

Multiple E-Series Ethernet cards installed in an ONS 15454 can act together as a single switching entity or as independent single switches supporting a variety of SONET port configurations.

You can create logical SONET ports by provisioning STS channels to the packet switch entity within the ONS 15454. Logical ports can be created with a bandwidth granularity of STS-1. The ONS 15454 supports STS-1, STS-3c, STS-6c, or STS-12c circuit sizes.


Note When making an STS-12c Ethernet circuit, the E-Series cards must be configured as a single-card EtherSwitch.


5.5.1 E1000-2-G Card-Level Indicators

The E1000-2-G card faceplate has two card-level LED indicators, described in Table 5-9 .

 

Table 5-9 E1000-2-G Card-Level Indicators

Card-Level Indicators
Description

FAIL LED (Red)

The red FAIL LED indicates that the card processor is not ready or that a catastrophic software failure occurred on the E1000-2-G card. As part of the boot sequence, the FAIL LED is turned on until the software deems the card operational.

ACT LED (Green)

The green ACT LED provides the operational status of the E1000-2-G. If the ACT LED is green it indicates that the E1000-2-G card is active and the software is operational.

SF LED

The SF LED is not used in the current release.

5.5.2 E1000-2-G Port-Level Indicators

The E1000-2-G card has one bicolor LED per port ( Table 5-10 ). When the green LINK LED is on, carrier is detected, meaning an active network cable is installed. When the green LINK LED is off, an active network cable is not plugged into the port, or the card is carrying unidirectional traffic. The amber port ACT LED flashes at a rate proportional to the level of traffic being received and transmitted over the port.

 

Table 5-10 E1000-2-G Port-Level Indicators

LED State
Description

Amber

The port is active (transmitting and receiving data).

Solid green

The link is established.

Off

The connection is inactive, or traffic is unidirectional.

5.5.3 Cross-Connect Compatibility

The E1000-2-G is compatible with the XCVT, XC10G, and XC-VXC-10G cards. You can install the card in Slots 1 to 6 and 12 to 17.

5.6 G1K-4 Card


Note For hardware specifications, see the “G1K-4 Card Specifications” section.


The G1K-4 card is the functional equivalent of the earlier G1000-4 card and provides four ports of IEEE-compliant, 1000-Mbps interfaces. Each interface supports full-duplex operation for a maximum bandwidth of 1 Gbps or 2 Gbps bidirectional per port, and 2.5 Gbps or 5 Gbps bidirectional per card. Each port autonegotiates for full duplex and IEEE 802.3x flow control. The G1K-4 card uses GBIC modular receptacles for the optical interfaces. For details, see the “Ethernet Card GBICs and SFPs” section.

G1K-4 Faceplate and Block Diagram shows the card faceplate and the block diagram of the card.

Figure 5-5 G1K-4 Faceplate and Block Diagram

 

The G1K-4 Gigabit Ethernet card provides high-throughput, low-latency transport of Ethernet encapsulated traffic (IP and other Layer 2 or Layer 3 protocols) across a SONET network while providing a greater degree of reliability through SONET self-healing protection services. Carrier-class Ethernet transport is achieved by hitless (< 50 ms) performance in the event of any failures or protection switches (such as 1+1 APS, path protection, BLSR, or optical equipment protection) and by full provisioning and manageability, as in SONET service. Full provisioning support is possible through CTC or CTM. Each G1K-4 card performs independently of the other cards in the same shelf.

5.6.1 STS-24c Restriction

Due to hardware constraints, the card imposes an additional restriction on the combinations of circuits that can be dropped onto a G-Series card. These restrictions are transparently enforced by the ONS 15454, and you do not need to keep track of restricted circuit combinations.

When a single STS-24c terminates on a card, the remaining circuits on that card can be another single STS-24c or any combination of circuits of STS-12c size or less that add up to no more than 12 STSs (that is a total of 36 STSs on the card).

If STS-24c circuits are not being dropped on the card, the full 48 STSs bandwidth can be used with no restrictions (for example, using either a single STS-48c or 4 STS-12c circuits).


Note The STS-24c restriction only applies when a single STS-24c circuit is dropped; therefore, you can easily minimize the impact of this restriction. Group the STS-24c circuits together on a card separate from circuits of other sizes. The grouped circuits can be dropped on other G-Series cards on the ONS 15454.


5.6.2 G1K-4 Compatibility

T he G1K-4 card operates with the XCVT, XC10G or XC-VXC-10G cards. With the XC10G or XC-VXC-10G cards, you can install the G1K-4 card in Slots 1 to 6 and 12 to 17, for a total shelf capacity of 48 Gigabit Ethernet ports. (The practical limit is 40 ports because at least two slots are typically populated by optical cards such as OC-192). When used with the XCVT cards, the G1K-4 is limited to Slots 5, 6, 12, and 13.

5.6.3 G1K-4 Card-Level Indicators

The G1K-4 card faceplate has two card-level LED indicators, described in Table 5-11 .

 

Table 5-11 G1K-4 C ard-Level Indicators

Card-Level LEDs
Description

F AIL LED (Red)

The red FAIL LED indicates that the card processor is not ready o r that a c atastrophic software failure occurred on the G1K-4 c ard. As part of the boot sequence, the FAIL LED is turned on , and it goes off when t he software is deem ed o perational.

The red FAIL LED blinks when the card is loading software.

A CT L ED (Green)

The green ACT LED provides the operational status of the G1K-4. If the ACT LED is green, it indicates that the G1K-4 c ard is active and the software is operational.

5.6.4 G1K-4 Port-Level Indicators

The G1K-4 card has four bicolor LEDs (one LED per port). Table 5-12 describes the status that each color represents.

 

Table 5-12 G1K-4 Port- Level Indicators

Port- Level LED Status
Description

Off

No link exists to the Ethernet port.

Steady amber

A link exists to the Ethernet port, but traffic flow is inhibited. For example, a lack of circuit setup, an error on the line, or a nonenabled port might inhibit traffic flow.

Solid green

A link exists to the Ethernet port, but no traffic is carried on the port.

Flashing green

A link exists to the Ethernet port, and traffic is carried on the port. The LED flash rate reflects the traffic rate for the port.

5.7 ML100T-12 Card


Note For hardware specifications, see the “ML100T-12 Card Specifications” section.


The ML100T-12 card provides 12 ports of IEEE 802.3-compliant, 10/100 interfaces. Each interface supports full-duplex operation for a maximum bandwidth of 200 Mbps per port and 2.488 Gbps per card. Each port independently detects the speed of an attached device (autosenses) and automatically connects at the appropriate speed. The ports autoconfigure to operate at either half or full duplex and can determine whether to enable or disable flow control. For ML-Series configuration information, see the Cisco ONS 15454 and Cisco ONS 15454 SDH Ethernet Card Software Feature and Configuration Guide .

Figure 5-6 shows the card faceplate and block diagram.


Caution Shielded twisted-pair cabling should be used for inter-building applications.

Figure 5-6 ML100T-12 Faceplate and Block Diagram

 

The card features two virtual packet over SONET (POS) ports with a maximum combined bandwidth of STS-48. The ports function in a manner similar to OC-N card ports, and each port carries an STS circuit with a size of STS-1, STS-3c, STS-6c, STS-9c, STS-12c, or STS-24c. To configure an ML-Series card SONET STS circuit, refer to the “Create Circuits and VT Tunnels” chapter of the Cisco ONS 15454 Procedure Guide .

The ML-Series POS ports supports virtual concatenation (VCAT) of SONET circuits and a software link capacity adjustment scheme (SW-LCAS). The ML-Series card supports a maximum of two VCAT groups with each group corresponding to one of the POS ports. Each VCAT group must be provisioned with two circuit members. An ML-Series card supports STS-1c-2v, STS-3c-2v and STS-12c-2v. To configure an ML-Series card SONET VCAT circuit, refer to the “Create Circuits and VT Tunnels” chapter of the Cisco ONS 15454 Procedure Guide .

5.7.1 ML100T-12 Card-Level Indicators

The ML00T-12 card supports two card-level LED indicators. The card-level indicators are described in Table 5-13 .

 

Table 5-13 ML100T-12 Card-Level Indicators

Card-Level LEDs
Description

FAIL LED (Red)

The red FAIL LED indicates that the card processor is not ready or that a catastrophic software failure occurred on the ML100T-12 card. As part of the boot sequence, the FAIL LED is turned on until the software deems the card operational.

ACT LED (Green)

The green ACT LED provides the operational status of the ML100T-12. If the ACT LED is green, it indicates that the ML100T-12 card is active and the software is operational.

5.7.2 ML100T-12 Port-Level Indicators

The ML100T-12 card provides a pair of LEDs for each Fast Ethernet port: an amber LED for activity (ACT) and a green LED for LINK. The port-level indicators are described in Table 5-14 .

 

Table 5-14 ML100T-12 Port-Level Indicators

Port-Level Indicators
Description

ACT LED (Amber)

A steady amber LED indicates a link is detected, but there is an issue inhibiting traffic. A blinking amber LED means traffic is flowing.

LINK LED (Green)

A steady green LED indicates that a link is detected, but there is no traffic. A blinking green LED flashes at a rate proportional to the level of traffic being received and transmitted over the port.

Both ACT and LINK LED

Unlit green and amber LEDs indicate no traffic.

5.7.3 Cross-Connect and Slot Compatibility

The ML100T-12 card works in Slots 1 to 6 or 12 to 17 with the XC10G or XC-VXC-10G card. It works only in Slots 5, 6, 12, or 13 with the XCVT card.

5.8 ML100X-8 Card


Note For hardware specifications, see the “ML100X-8 Card Specifications” section.


The ML100X-8 card provides eight ports with 100BaseFX interfaces. The FX interfaces support one of two connectors, an LX SFP or an FX SFP. The LX SFP is a 100 Mbps 802.3-compliant SFP that operates over a pair of single-mode optical fibers and includes LC connectors. The FX SFP is a 100 Mbps 802.3- compliant SFP that operates over a pair of multimode optical fibers and includes LC connectors. For more information on SFPs, see the “Ethernet Card GBICs and SFPs” section.

Each interface supports full-duplex operation for autonegotiation and a maximum bandwidth of 200 Mbps per port and 2.488 Gbps per card. For ML-Series configuration information, see the Cisco ONS 15454 and Cisco ONS 15454 SDH Ethernet Card Software Feature and Configuration Guide .

Figure 5-7 shows the card faceplate and block diagram.

Figure 5-7 ML100X-8 Faceplate and Block Diagram

 

The card features two virtual packet over SONET (POS) ports with a maximum combined bandwidth of STS-48. The ports function in a manner similar to OC-N card ports, and each port carries an STS circuit with a size of STS-1, STS-3c, STS-6c, STS-9c, STS-12c, or STS-24c. To configure an ML-Series card SONET STS circuit, refer to the “Create Circuits and VT Tunnels” chapter of the Cisco ONS 15454 Procedure Guide .

The ML-Series POS ports supports virtual concatenation (VCAT) of SONET circuits and a software link capacity adjustment scheme (SW-LCAS). The ML-Series cards support a maximum of two VCAT groups with each group corresponding to one of the POS ports. Each VCAT group must be provisioned with two circuit members. An ML-Series card supports STS-1c-2v, STS-3c-2v and STS-12c-2v. To configure an ML-Series-card SONET VCAT circuit, refer to the “Create Circuits and VT Tunnels” chapter of the Cisco ONS 15454 Procedure Guide .

5.8.1 ML100X-8 Card-Level Indicators

The ML100X-8 card supports two card-level LED indicators. Table 5-15 describes the card-level indicators.

 

Table 5-15 ML100X-8 Card-Level Indicators

Card-Level LEDs
Description

FAIL LED (Red)

The red FAIL LED indicates that the card processor is not ready or that a catastrophic software failure occurred on the ML100-FX card. As part of the boot sequence, the FAIL LED is turned on until the software deems the card operational.

ACT LED (Green)

The green ACT LED provides the operational status of the ML100-FX. If the ACT LED is green, it indicates that the ML100-FX card is active and the software is operational.

5.8.2 ML100X-8 Port-Level Indicators

The ML100X-8 card provides a pair of LEDs for each Fast Ethernet port: an amber LED for activity (ACT) and a green LED for LINK. Table 5-16 describes the port-level indicators.

 

Table 5-16 ML100X-8 Port-Level Indicators

Port-Level Indicators
Description

ACT LED (Amber)

A steady amber LED indicates a link is detected, but there is an issue inhibiting traffic. A blinking amber LED means traffic is flowing.

LINK LED (Green)

A steady green LED indicates that a link is detected, but there is no traffic. A blinking green LED flashes at a rate proportional to the level of traffic being received and transmitted over the port.

Both ACT and LINK LED

Unlit green and amber LEDs indicate no traffic.

5.8.3 Cross-Connect and Slot Compatibility

The ML100X-8 card operates in Slots 1 to 6 or 12 to 17 with the XC10G or XC-VXC-10G cards. It operates only in Slots 5, 6, 12, or 13 with the XCVT card.

5.9 ML1000-2 Card


Note For hardware specifications, see the “ML1000-2 Card Specifications” section.


The ML1000-2 card provides two ports of IEEE-compliant, 1000-Mbps interfaces. Each interface supports full-duplex operation for a maximum bandwidth of 2 Gbps per port and 4 Gbps per card. Each port autoconfigures for full duplex and IEEE 802.3x flow control.

SFP modules are offered as separate orderable products for maximum customer flexibility. For details, see the “Ethernet Card GBICs and SFPs” section.

Figure 5-8 shows the ML1000-2 card faceplate and block diagram.

Figure 5-8 ML1000-2 Faceplate and Block Diagram

 

The card features two virtual packet over SONET (POS) ports with a maximum combined bandwidth of STS-48. The ports function in a manner similar to OC-N card ports, and each port carries an STS circuit with a size of STS-1, STS-3c, STS-6c, STS-9c, STS-12c, or STS-24c. To configure an ML-Series card SONET STS circuit, refer to the “Create Circuits and VT Tunnels” chapter of the Cisco ONS 15454 Procedure Guide .

The ML-Series POS ports supports VCAT of SONET circuits and a software link capacity adjustment scheme (SW-LCAS). The ML-Series card supports a maximum of two VCAT groups with each group corresponding to one of the POS ports. Each VCAT group must be provisioned with two circuit members. An ML-Series card supports STS-1c-2v, STS-3c-2v and STS-12c-2v. To configure an ML-Series card SONET VCAT circuit, refer to the “Create Circuits and VT Tunnels” chapter of the Cisco ONS 15454 Procedure Guide .

5.9.1 ML1000-2 Card-Level Indicators

The ML1000-2 card faceplate has two card-level LED indicators, described in Table 5-17 .

 

Table 5-17 ML1000-2 Card-Level Indicators

Card-Level LEDs
Description

SF LED (Red)

The red FAIL LED indicates that the card processor is not ready or that a catastrophic software failure occurred on the ML1000-2 card. As part of the boot sequence, the FAIL LED is turned on until the software deems the card operational.

ACT LED (Green)

The green ACT LED provides the operational status of the ML1000-2. When the ACT LED is green, it indicates that the ML1000-2 card is active and the software is operational.

5.9.2 ML1000-2 Port-Level Indicators

The ML1000-2 card has three LEDs for each of the two Gigabit Ethernet ports, described in Table 5-18 .

 

Table 5-18 ML1000-2 Port-Level Indicators

Port-Level Indicators
Description

ACT LED (Amber)

A steady amber LED indicates a link is detected, but there is an issue inhibiting traffic. A blinking amber LED means traffic flowing.

LINK LED (Green)

A steady green LED indicates that a link is detected, but there is no traffic. A blinking green LED flashes at a rate proportional to the level of traffic being received and transmitted over the port.

Both ACT and LINK LED

Unlit green and amber LEDs indicate no traffic.

5.9.3 Cross-Connect and Slot Compatibility

The ML1000-2 card is compatible in Slots 1 to 6 or 12 to 17 with the XC10G or XC-VXC-10G card. It is only compatible in Slots 5, 6, 12, or 13 with the XCVT card.

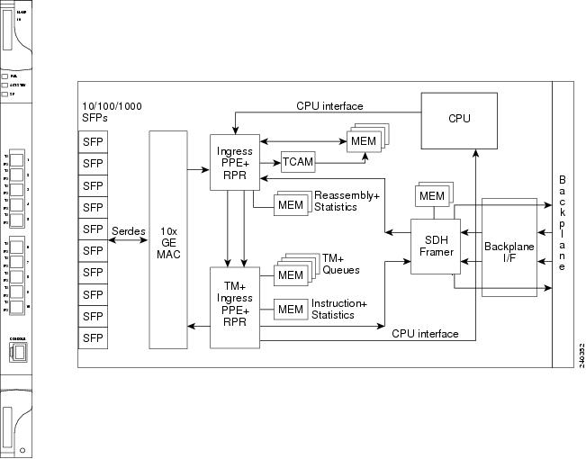
5.10 ML-MR-10 Card


Note For hardware specifications, see the “ML-MR-10 Card Specifications” section.


The ML-MR-10 card is a ten-port multilayer Ethernet card. The Ethernet ports support speeds of 10 Mbps, 100 Mbps, or 1000 Mbps through pluggable SFPs. SFP modules are offered as separate orderable products for flexibility. For details, see the “Ethernet Card GBICs and SFPs” section.

The ML-MR-10 card has two RPR ports, which function in a manner similar to OC-N card ports. Each Ethernet port carries an STS circuit with a size of STS-12c, STS-24c, STS-48c, or STS-96c. The two RPR port interfaces combine to support a resilient packet ring (RPR) interface. The ML-MR-10 supports only frame-mapped generic framing procedure (GFP-F) encapsulation for SONET. In addition to this, the ML-MR-10 can be configured to support up to 26 POS ports, each one terminating a SONET GFP-F encapsulated circuit.

To configure a ML-MR-10 card SONET STS circuit, refer to the “Create Circuits and Tunnels” chapter in the Cisco ONS 15454 Procedure Guide .

Cisco IOS is used to provision the Layer 2 functions of the card. The ML-MR-10 card provides management for Layer 1 operations through CTC. You can use CTM for Layer 1 and Layer 2 monitoring and fault detection, and TL1 supports card inventory and equipment alarming.

Figure 5-9 shows the ML-MR-10 card faceplate and block diagram.

Figure 5-9 ML-MR-10 Faceplate and Block Diagram

 

The ML-MR-10 card supports 1:1 protection at the port level. It also supports 1:1 card protection with redundant cards installed. For more information on ML-MR-10 card protection, refer to the Cisco ONS 15454 and Cisco ONS 15454 SDH Ethernet Card Software Feature and Configuration Guide.

The ML-MR-10 card supports the Version Up feature, which allows a user to independently upgrade ML-MR-10 cards as part of an overall software upgrade process. With this feature enabled, the user first upgrades all the cards in the node that are not ML-MR-10 cards, then in a second pass updates the ML-MR-10 cards. For more information on the Version Up feature, refer to the Cisco ONS 15454 and Cisco ONS 15454 SDH Ethernet Card Software Feature and Configuration Guide.

The ML-MR-10 card supports an Ethernet Virtual Connection (EVC), which is an instance of an association of two or more user network interfaces (UNI) for Ethernet services. For more information on EVC, refer to the Cisco ONS 15454 and Cisco ONS 15454 SDH Ethernet Card Software Feature and Configuration Guide.

5.10.1 ML-MR-10 Card-Level Indicators

The ML-MR-10 card faceplate has two card-level LED indicators, described in Table 5-23 .

 

Table 5-19 ML-MR-10 Card-Level Indicators

Card-Level LEDs
Description

FAIL LED (Red)

The red FAIL LED indicates that the card processor is not ready or that a catastrophic software failure occurred on the ML-MR-10 card. As part of the boot sequence, the FAIL LED is turned on until the software deems the card operational.

ACT LED (Green)

The green ACT LED provides the operational status of the ML-MR-10 card. When the ACT LED is green, it indicates that the ML-MR-10 card is active and the software is operational.

5.10.2 ML-MR-10 Port-Level Indicators

The ML-MR-10 card provides a pair of LEDs for each Ethernet port: an amber LED for activity (ACT) and a green LED for link status (LINK). Table 5-24 describes the status that each color represents.

 

Table 5-20 ML-MR-10 Port-Level Indicators

Port-Level Indicators
Description

Off

No link exists to the Ethernet port.

Steady amber

A link exists to the Ethernet port, but traffic flow is inhibited. For example, a lack of circuit setup, an error on the line, or a disabled port might inhibit traffic flow.

Solid green

A link exists to the Ethernet port, but no traffic is carried on the port.

Flashing green

A link exists to the Ethernet port, and traffic is carried on the port. The LED flash rate reflects the traffic rate for that port.

5.10.3 Cross-Connect and Slot Compatibility

The ML-MR-10 card can be installed in Slots 1 to 6 and 12 to 17 when used with the XC10G and XC-VXC-10G cards. It is not compatible with the XCVT card.


Caution Fan-tray assembly 15454-CC-FTA (ANSI shelf) must be installed in a shelf where an ML-MR-10 card is installed.

5.10.4 ML-MR-10 Card-Differential Delay

The differential delay has been hardcoded to 55ms for high-order circuits in high speed slots and 175ms for low-order circuits in high speed slots. For all other slots and circuit combinations, it has been hardcoded to 135ms.

5.11 CE-100T-8 Card


Note For hardware specifications, see the “CE-100T-8 Card Specifications” section.


The CE-100T-8 card provides eight RJ-45 10/100 Mbps Ethernet ports and an RJ-45 console port on the card faceplate. The CE-100T-8 card provides mapping of 10/100 Mbps Ethernet traffic into SONET STS-12 payloads, making use of low-order (VT1.5) virtual concatenation, high-order (STS-1) virtual concatenation, GFP, and point-to-point protocol/high-level data link control (PPP/HDLC) framing protocols.

The CE-100T-8 card also supports the link capacity adjustment scheme (LCAS), which allows hitless dynamic adjustment of SONET link bandwidth. The CE-100T-8 card’s LCAS is hardware-based, but the CE-100T-8 also supports SW-LCAS. This makes it compatible with the ONS 15454 SDH ML-Series card, which supports only SW-LCAS and does not support the standard hardware-based LCAS. SW-LCAS is supported when a circuit from the CE-100T-8 terminates on the ONS 15454 SDH ML-Series card.


Note The SW-LCAS is not supported on CE-100T-8 cards for interoperation with the CE-MR-10, CE-MR-6, and ML-MR-10 cards.


The circuit types supported are:

  • HO-CCAT
  • LO-VCAT with no HW-LCAS
  • LO-VCAT with HW-LCAS
  • STS-1-2v SW-LCAS with ML only

Each 10/100 Ethernet port can be mapped to a SONET channel in increments of VT1.5 or STS-1 granularity, allowing efficient transport of Ethernet and IP over the SONET infrastructure.

Figure 5-10 shows the CE-100T-8 card faceplate and block diagram.

Figure 5-10 CE-100T-8 Faceplate and Block Diagram

 

The following paragraphs describe the general functions of the CE-100T-8 card and relate to the block diagram.

In the ingress direction, (Ethernet-to-SONET), the PHY, which performs all of the physical layer interface functions for 10/100 Mbps Ethernet, sends the frame to the network processor for queuing in the respective packet buffer memory. The network processor performs packet processing, packet switching, and classification. The Ethernet frames are then passed to the Ethermap where Ethernet traffic is terminated and is encapsulated using HDLC or GFP framing on a per port basis. The encapsulated Ethernet frames are then mapped into a configurable number of virtual concatenated low and high order payloads, such as VT1.5 synchronous payload envelope (SPE), STS-1 SPE, or a contiguous concatenated payload such as STS-3c SPE. Up to 64 VT1.5 SPEs or 3 STS-1 SPEs can be virtually concatenated. The SONET SPE carrying encapsulated Ethernet frames are passed onto the qMDM FPGA, where four STS-3 frames are multiplexed to form a STS-12 frame for transport over the SONET network by means of the Bridging Convergence Transmission (BTC) ASIC.

In the Egress direction (SONET-to-Ethernet), the FPGA extracts four STS-3 SPEs from the STS-12 frame it receives from the BTC and sends each of the STS-3s to the ET3 mappers. The STS-3 SONET SPE carrying GFP or PPP/HDLC encapsulated Ethernet frames is then extracted and buffered in Ethermap’s external memory. This memory is used for providing alignment and differential delay compensation for the received low-order and high-order virtual concatenated payloads. After alignment and delay compensation have been done, the Ethernet frames are decapsulated with one of the framing protocols (GFP or HDLC). Decapsulated Ethernet frames are then passed onto the network processor for QoS queuing and traffic scheduling. The network processor switches the frame to one of the corresponding PHY channels and then to the Ethernet port for transmission to the external client(s).

For information on the CE-100T-8 QoS features, refer to the “CE-100T-8 Operations” chapter of the Cisco ONS 15454 and Cisco ONS 15454 SDH Ethernet Card Software Feature and Configuration Guide.

5.11.1 CE-100T-8 Card-Level Indicators

The CE-100T-8 card faceplate has two card-level LED indicators, described in Table 5-21 .

 

Table 5-21 CE-100T-8 Card-Level Indicators

Card-Level LEDs
Description

SF LED (Red)

The red FAIL LED indicates that the card processor is not ready or that a catastrophic software failure occurred on the CE-100T-8 card. As part of the boot sequence, the FAIL LED is turned on until the software deems the card operational.

ACT LED (Green)

The green ACT LED provides the operational status of the CE-100T-8. When the ACT LED is green, it indicates that the CE-100T-8 card is active and the software is operational.

5.11.2 CE-100T-8 Port-Level Indicators

The CE-100T-8 card has two LEDs embedded into each of the eight Ethernet port RJ-45 connectors. The LEDs are described in Table 5-22 .

 

Table 5-22 CE-100T-8 Port-Level Indicators

Port-Level Indicators
Description

ACT LED (Amber)

A steady amber LED indicates a link is detected, but there is an issue inhibiting traffic. A blinking amber LED means traffic flowing.

LINK LED (Green)

A steady green LED indicates that a link is detected, but there is no traffic. A blinking green LED flashes at a rate proportional to the level of traffic being received and transmitted over the port.

Both ACT and LINK LED OFF

Unlit green and amber LEDs indicate no traffic.

5.11.3 Cross-Connect and Slot Compatibility

The CE-100T-8 card is compatible in Slots 1 to 6 or 12 to 17 with the XC10G, XC-VXC-10G, or XCVT cards.

5.12 CE-1000-4 Card


Note For hardware specifications, see the “CE-1000-4 Card Specifications” section.


The CE-1000-4 card uses pluggable GBICs to transport Ethernet traffic over a SONET network. The CE-1000-4 provides four IEEE 802.3-compliant, 1000-Mbps Gigabit Ethernet ports at the ingress. At the egress, the CE-1000-4 card provides an integrated Ethernet over SONET mapper with four virtual ports to transfer Ethernet packets over a SONET network.

The Ethernet ports automatically configure to operate at either half or full duplex and can determine whether to enable or disable flow control. The Ethernet ports can also be oversubscribed using flow control.

The Ethernet frames are encapsulated using the ITU-T generic framing procedure (GFP) (with or without CRC) or LEX, the point-to-point protocol (PPP) with high-level data link control (HDLC). The CE-1000-4 card can interoperate with G1K-4 cards (using LEX encapsulation), CE-100T-8 cards (using LEX or GFP-F), and ML-Series cards (using LEX or GFP-F).

The Ethernet frames can be mapped into:

  • T1X1 G.707-based high-order virtual concatenated (HO VCAT) payloads:

STS-3c

STS-1

  • Contiguously concatenated (CCAT) SONET payloads:

Standard CCAT sizes (STS-1, STS-3c, STS-12c, STS-24c, STS-48c)

Non-standard CCAT sizes (STS-6c, STS-9c, STS-18c).

To configure a CE-1000-4 card SONET STS or VCAT circuit, refer to the “Create Circuits and Tunnels” chapter in the Cisco ONS 15454 Procedure Guide .

The CE-1000-4 card provides multiple management options through Cisco Transport Controller (CTC), Cisco Transport Manager (CTM), Transaction Language 1 (TL1), and Simple Network Management Protocol (SNMP).

The CE-1000-4 card supports the software link capacity adjustment scheme (SW-LCAS). This makes it compatible with the ONS 15454 CE-100T-8 and ML-Series cards. The CE-1000-4 card supports VCAT groups (VCGs) that are reconfigurable when SW-LCAS is enabled (flexible VCGs). The CE-1000-4 card does not support the standard hardware-based LCAS.

The following guidelines apply to flexible VCGs:

  • Members can be added or removed from VCGs.
  • Members can be put into or out of service.
  • Cross-connects can be added or removed from VCGs.
  • Errored members will be automatically removed from VCGs.
  • Adding or removing members from the VCG is service affecting.
  • Adding or removing cross connects from the VCG is not service affecting if the associated members are not in group.

The CE-1000-4 card supports a non link capacity adjustment scheme (no-LCAS). This also makes it compatible with the ONS 15454 CE-100T-8 and ML-Series cards. The CE-1000-4 card supports VCAT groups (VCGs) that are fixed and not reconfigurable when no-LCAS is enabled (fixed VCGs).

The following guidelines apply to fixed VCGs:

  • Members can be added or removed from VCGs using CTC or TL1.
  • Members cannot be put into or out of service unless the force command mode is instantiated.

Note This is possible with CTC as it assumes the force command mode by default. However, to put members into or out of service using TL1, the force command mode must be set.


  • Cross-connects can be added or removed from VCGs using CTC or TL1. This is service affecting as long as the VCG size (TXCOUNT) is not realigned with the loss of connections.

The CE-1000-4 card supports VCAT differential delay and provides these associated features:

  • Supports a maximum VCG differential delay of 122 ms in each direction.
  • Supports all protection schemes (path protection, two-fiber BLSR, four-fiber BLSR) on VCAT circuits that are split-fiber routed.
  • Supports 2-fiber on VCAT circuits that are common-fiber routed.
  • Differential delay compensation is automatically enabled on VCAT circuits that are diverse (split fiber) routed and disabled on VCAT circuits that are common-fiber routed.

Figure 5-11 shows the CE-1000-4 card faceplate and block diagram.

Figure 5-11 CE-1000-4 Faceplate and Block Diagram

 

5.12.1 CE-1000-4 Card-Level Indicators

The CE-1000-4 card faceplate has two card-level LED indicators, described in Table 5-23 .

 

Table 5-23 CE-1000-4 Card-Level Indicators

Card-Level LEDs
Description

FAIL LED (Red)

The red FAIL LED indicates that the card processor is not ready or that a catastrophic software failure occurred on the CE-1000-4 card. As part of the boot sequence, the FAIL LED is turned on until the software deems the card operational.

ACT LED (Green)

The green ACT LED provides the operational status of the CE-1000-4 card. When the ACT LED is green, it indicates that the CE-1000-4 card is active and the software is operational.


Note If the CE-1000-4 card is inserted in a slot that has been preprovisioned for a different type of card, the red FAIL LED and the green ACT LED will flash alternately until the configuration mismatch is resolved.


5.12.2 CE-1000-4 Port-Level Indicators

The CE-1000-4 card provides a pair of LEDs for each Gigabit Ethernet port: an amber LED for activity (ACT) and a green LED for link status (LINK). Table 5-24 describes the status that each color represents.

 

Table 5-24 CE-1000-4 Port-Level Indicators

Port-Level Indicators
Description

Off

No link exists to the Ethernet port.

Steady amber

A link exists to the Ethernet port, but traffic flow is inhibited. For example, a lack of circuit setup, an error on the line, or a disabled port might inhibit traffic flow.

Solid green

A link exists to the Ethernet port, but no traffic is carried on the port.

Flashing green

A link exists to the Ethernet port, and traffic is carried on the port. The LED flash rate reflects the traffic rate for that port.

5.12.3 Cross-Connect and Slot Compatibility

The CE-1000-4 card can be installed in Slots 1 to 6 and 12 to 17 when used with the XC10G and XC-VXC-10G cards. When the shelf uses the XCVT card, the CE-1000-4 card can only be installed in Slots 5, 6, 12, and 13.

5.13 CE-MR-10 Card


Note For hardware specifications, see the “CE-MR-10 Card Specifications” section.


The CE-MR-10 card provides ten IEEE 802.3-compliant 10/100/1000-Mbps Gigabit Ethernet ports at the ingress. At the egress, the CE-MR-10 card provides an integrated Ethernet-over-SONET mapper with ten virtual ports to transfer Ethernet packets over a SONET network.

The CE-MR-10 card uses pluggable SFPs to transport Ethernet traffic over a SONET network. SFP modules are offered as separate orderable products for flexibility. For details, see the “Ethernet Card GBICs and SFPs” section.

The Ethernet frames are encapsulated using the ITU-T generic framing procedure (GFP) (with or without CRC) or LEX, the Point-to-Point Protocol (PPP) with high-level data link control (HDLC).

The Ethernet ports automatically configure to operate at either half or full duplex and can determine whether to enable or disable flow control. The Ethernet ports can also be oversubscribed using flow control.

The CE-MR-10 card supports the link capacity adjustment scheme (LCAS), which allows hitless dynamic adjustment of SONET link bandwidth. The CE-MR-10 card's LCAS is hardware-based, but the CE-MR-10 also supports software LCAS (SW-LCAS). This makes it compatible with ML-Series cards, which support only SW-LCAS, along with G-Series and CE-Series cards. The CE-MR-10 card also supports the non link capacity adjustment scheme (non-LCAS). The CE-MR-10 card supports both flexible and fixed VCAT groups (VCG).


Note The SW-LCAS is not supported on CE-MR-10 cards for interoperation with the CE-100T-8 and ML-MR-10 cards.



Note The CE-MR-10 card does not support interoperation between the LCAS and non-LCAS circuits.


The Ethernet frames can be mapped into:

  • T1X1 G.707-based high-order virtual concatenated (HO VCAT) payloads

STS-3c-nv, where n is 1 to 7

STS-1-nv, where n is 1 to 21

  • T1X1 G.707-based low-order virtual concatenated (LO VCAT) payloads

VT1.5-nv, where n is 1 to 64

  • Contiguously concatenated (CCAT) SONET payloads

Standard CCAT sizes (STS-1, STS-3c, STS-12c, STS-24c, and STS-48c)

Non-standard CCAT sizes (STS-6c and STS-9c)

To configure a CE-MR-10 card circuit, refer to the “Create Circuits and Tunnels” chapter in the Cisco ONS 15454 Procedure Guide .

The CE-MR-10 card provides multiple management options through CTC, CTM, TL1, and SNMP.

Figure 5-12 shows the CE-MR-10 card faceplate and block diagram.

Figure 5-12 CE-MR-10 Faceplate and Block Diagram

 


Note The backplane capacity of the CE-MR-10 card is 10 Gigabit Ethernet ports in slots 5, 6, 12, and 13 and 2.5 Gigabit Ethernet ports in slots 1 to 4 and 14 to 17.


5.13.1 CE-MR-10 Card-Level Indicators

The CE-MR-10 card faceplate has two card-level LED indicators, described in Table 5-25 .

 

Table 5-25 CE-MR-10 Card-Level Indicators

Card-Level LEDs
Description

FAIL LED (Red)

The red FAIL LED indicates that the card processor is not ready or that a catastrophic software failure occurred on the card. As part of the boot sequence, the FAIL LED is turned on until the software deems the card operational.

ACT LED (Green)

The green ACT LED provides the operational status of the CE-1000-4 card. When the ACT LED is green, it indicates that the CE-1000-4 card is active and the software is operational.

5.13.2 CE-MR-10 Port-Level Indicators

The CE-MR-10 card provides a pair of LEDs for each port: an amber LED for activity (ACT) and a green LED for link status (LINK).

Table 5-26 describes the status that each color represents.

 

Table 5-26 CE-MR-10 Port-Level Indicators

Port-Level Indicators
Description

Off

No link exists to the Ethernet port.

Steady amber

A link exists to the Ethernet port, but traffic flow is inhibited. For example, a lack of circuit setup, an error on the line, or a disabled port might inhibit traffic flow.

Solid green

A link exists to the Ethernet port, but no traffic is carried on the port.

Flashing green

A link exists to the Ethernet port, and traffic is carried on the port. The LED flash rate reflects the traffic rate for that port.

5.13.3 Cross-Connect and Slot Compatibility

The CE-MR-10 card can be installed in Slots 1 to 6 and 12 to 17 when used with the XC10G and XC-VXC-10G cards. It is not compatible with the XVT card.


Caution Fan-tray assembly 15454-CC-FTA (ANSI shelf) must be installed in a shelf where a CE-MR-10 card is installed.

5.13.4 CE-MR-10 Card- Differential Delay

The differential delay has been hardcoded to 55ms for high-order circuits in high speed slots and 175ms for low-order circuits in high speed slots. For all other slots and circuit combinations, it has been hardcoded to 135ms.

5.14 Ethernet Card GBICs and SFPs

This section describes the GBICs and SFPs used with the Ethernet cards.

The ONS 15454 Ethernet cards use industry standard SFPs and GBIC modular receptacles. The ML-MR-10, ML100X-8, ML1000-2, and CE-MR-10 cards use standard Cisco SFPs. The Gigabit E-Series, G-1K-4, and CE-1000-4 cards use standard Cisco GBICs. With Software Release 4.1 and later, G-Series cards can also be equipped with dense wavelength division multiplexing (DWDM) and coarse wavelength division multiplexing (CWDM) GBICs to function as Gigabit Ethernet transponders.

For all Ethernet cards, the type of GBIC or SFP plugged into the card is displayed in CTC and TL1. Cisco offers SFPs and GBICs as separate orderable products.

5.14.1 Compatibility by Card

Table 5-27 shows the GBICs for the E1000-2-G, G1K-4, or CE-1000-4 cards.


Note The GBICs are very similar in appearance. Check the GBIC label carefully before installing it.


 

Table 5-27 Available GBICs

GBIC
Associated Cards
Application
Fiber
Product Number

1000BASE-SX

E1000-2-G
G1K-4
CE-1000-4

Short reach

Multimode fiber up to 550 m long

15454E-GBIC-SX=
15454-GBIC-SX
ONS-GC-GE-SX

1000BASE-LX

E1000-2-G
G1K-4
CE-1000-4

Long reach

Single-mode fiber up to 5 km long

15454E-GBIC-LX=
15454-GBIC-LX
ONS-GC-GE-LX

1000BASE-ZX

G1K-4
CE-1000-4

Extra long reach

Single-mode fiber up to 70 km long

15454E-GBIC-ZX=
15454-GBIC-ZX
ONS-GC-GE-ZX

Table 5-28 shows the available SFPs and XFPs for Ethernet cards.

 

Table 5-28 Available SFPs and XFPs

SFP/XFP
Associated Cards
Application
Fiber
Product Number

1000BASE-SX

ML1000-2

Short reach

Multimode fiber up to 550 m long

ONS-SC-GE-SX

ML1000-2
ML-MR-10
CE-MR-10

Short reach

850 nm multimode fiber up to 500 m long

ONS-SI-GE-SX

1000BASE-LX

ML1000-2

Long reach

Single-mode fiber up to 5 km long

ONS-SC-GE-LX

ML1000-2
ML-MR-10
CE-MR-10

Long reach

1310 nm single-mode fiber up to 10 km long

ONS-SI-GE-LX

1000BASE-ZX

ML1000-2
ML-MR-10
CE-MR-10

Extra long reach

1550 nm single-mode fiber

ONS-SI-GE-ZX

100BASE-FX

ML100X-8

Short reach

1310 nm multimode fiber up to 2 km long

ONS-SE-100-FX

ML100X-8
ML-MR-10
CE-MR-10

Short reach

1310 nm multimode fiber

ONS-SI-100-FX

100BASE-LX10

ML100X-8

Long reach

1310 nm single-mode fiber

ONS-SE-100-LX10

ML100X-8
ML-MR-10
CE-MR-10

Long reach

1310 nm single-mode fiber

ONS-SI-100-LX10

10/100/1000BASE-T

ML-MR-10
CE-MR-10

Short reach

RJ45

ONS-SE-ZE-EL

100BASE-BX

ML100X-8
ML-MR-10
CE-MR-10

Short reach

1550 nm RX

ONS-SE-100-BX10U

100BASE-BX

ML100X-8
ML-MR-10
CE-MR-10

Short reach

1310 nm RX

ONS-SE-100-BX10D

E1/DS1 over Fast Ethernet

ML-MR-10
CE-MR-10

ONS-SC-E1-T1-PW
(Release 9.2 only)

E3/DS3 PDH over Fast Ethernet

ML-MR-10
CE-MR-10

ONS-SC-E3-T3-PW
(Release 9.2 only)

5.14.2 Speed-Duplex Combinations on SFPs

Table 5-29 through Table 5-33 provides information on the speed-duplex combination supported on different SFP types for ML-MR-10 and CE-MR-10 cards.

Table 5-29 Speed-Duplex Matrix for Electrical 10/100/1000Base-T SFPs

Speed Configuration
Duplex Configuration
(Y- Supported, N-Not supported)
Full
Half
Auto
10 Mbps

Y

Y

Y

100 Mbps

Y

Y

Y

1000 Mbps

Y

N

Y

Auto

Y

Y

Y

Table 5-30 Speed-Duplex Matrix for Optical 1000BaseSX/LX/ZX SFPs

Speed Configuration
Duplex Configuration
(Y- Supported, N-Not supported)
Full
Half
Auto
10 Mbps

N

N

N

100 Mbps

N

N

N

1000 Mbps

Y

N

Y

Auto

Y

N

Y

Table 5-31 Speed-Duplex Matrix for Optical 100Base FX/LX10/BX-D/BX-U SFPs

Speed Configuration
Duplex Configuration
(Y- Supported, N-Not supported)
Full
Half
Auto
10 Mbps

N

N

N

100 Mbps

Y

N

N

1000 Mbps

N

N

N

Auto

N

N

N

Table 5-32 Speed-Duplex Matrix for E1/DS1 over Fast Ethernet SFP

Speed Configuration
Duplex Configuration
(Y- Supported, N-Not supported)
Full
Half
Auto
10 Mbps

N

N

N

100 Mbps

Y

N

N

1000 Mbps

N

N

N

Auto

N

N

N

Table 5-33 Speed-Duplex Matrix for E3/DS3 PDH over Fast Ethernet SFP

Speed Configuration
Duplex Configuration
(Y- Supported, N-Not supported)
Full
Half
Auto
10 Mbps

N

N

N

100 Mbps

Y

N

N

1000 Mbps

N

N

N

Auto

N

N

N

5.14.3 GBIC Description

GBICs are integrated fiber optic transceivers that provide high-speed serial links from a port or slot to the network. Various latching mechanisms can be utilized on the GBIC pluggable modules. There is no correlation between the type of latch and the model type (such as SX or LX/LH) or technology type (such as Gigabit Ethernet). See the label on the GBIC for technology type and model. One GBIC model has two clips (one on each side of the GBIC) that secure the GBIC in the slot on the Ethernet card; the other has a locking handle. Both types are shown in Figure 5-13.

GBIC dimensions are:

  • Height 0.39 in. (1 cm)
  • Width 1.18 in. (3 cm)
  • Depth 2.56 in. (6.5 cm)

GBIC temperature ranges are:

  • COM—Commercial operating temperature range –5 degrees C to 70 degrees C (23 degrees F to 158 degrees F)
  • EXT—Extended operating temperature range –5 degrees C to 85 degrees C (23 degrees F to 185 degrees F)
  • IND—Industrial operating temperature range –40 degrees C to 85 degrees C (-40 degrees F to 185 degrees F)

Figure 5-13 GBICs with Clips (left) and with a Handle (right)

 

5.14.4 G1K-4 DWDM and CWDM GBICs

DWDM (15454-GBIC-xx.x, 15454E-GBIC-xx.x) and CWDM (15454-GBIC-xxxx, 15454E-GBIC-xxxx) GBICs operate in an ONS 15454 G-Series card when the card is configured in Gigabit Ethernet Transponding mode or in Ethernet over SONET mode. DWDM and CWDM GBICs are both wavelength division multiplexing (WDM) technologies and operate over single-mode fibers with SC connectors. Cisco CWDM GBIC technology uses a 20 nm wavelength grid and Cisco ONS 15454 DWDM GBIC technology uses a 1 nm wavelength grid. CTC displays the specific wavelengths of the installed CWDM or DWDM GBICs. DWDM wavelengths are spaced closer together and require more precise lasers than CWDM. The DWDM spectrum allows for optical signal amplification. For more information on G-Series card transponding mode, refer to the Cisco ONS 15454 and Cisco ONS 15454 SDH Ethernet Card Software Feature and Configuration Guide .

The DWDM and CWDM GBICs receive across the full 1300 nm and 1500 nm bands, which includes all CWDM, DWDM, LX/LH, ZX wavelengths, but transmit on one specified wavelength. This capability can be exploited in some of the G-Series transponding modes by receiving wavelengths that do not match the specific transmission wavelength.


Note G1K-4 cards with the Common Language Equipment Identification (CLEI) code of WM5IRWPCAA (manufactured after August 2003) support CWDM and DWDM GBICs. G1K-4 cards manufactured prior to August 2003 do not support CWDM or DWDM GBICs.


The ONS 15454-supported CWDM GBICs reach up to 100 to 120 km over single-mode fiber and support eight wavelengths as shown in Table 5-34 .

 

Table 5-34 Supported Wavelengths for CWDM GBICs

CWDM GBIC Wavelengths

1470 nm

1490 nm

1510 nm

1530 nm

1550 nm

1570 nm

1590 nm

1610 nm

Corresponding GBIC Colors

Gray

Violet

Blue

Green

Yellow

Orange

Red

Brown

Band

47

49

51

53

55

57

59

61

The ONS 15454-supported DWDM GBICs reach up to 100 to 120 km over single-mode fiber and support 32 different wavelengths in the red and blue bands. Paired with optical amplifiers, such as the Cisco ONS 15216, the DWDM GBICs allow maximum unregenerated spans of approximately 300 km ( Table 5-35 ).

 

Table 5-35 Supported Wavelengths for DWDM GBICs

Blue Band

1530.33 nm

1531.12 nm

1531.90 nm

1532.68 nm

1534.25 nm

1535.04 nm

1535.82 nm

1536.61 nm

1538.19 nm

1538.98 nm

1539.77 nm

1540.56 nm

1542.14 nm

1542.94 nm

1543.73 nm

1544.53 nm

Red Band

1546.12 nm

1546.92 nm

1547.72 nm

1548.51 nm

1550.12 nm

1550.92 nm

1551.72 nm

1552.52 nm

1554.13 nm

1554.94 nm

1555.75 nm

1556.55 nm

1558.17 nm

1558.98 nm

1559.79 nm

1560.61 nm

CWDM or DWDM GBICs for the G-Series card come in set wavelengths and are not provisionable. The wavelengths are printed on each GBIC, for example, CWDM-GBIC-1490. The user must insert the specific GBIC transmitting the wavelength required to match the input of the CWDM/DWDM device for successful operation (Figure 5-14). Follow your site plan or network diagram for the required wavelengths.

Figure 5-14 CWDM GBIC with Wavelength Appropriate for Fiber-Connected Device

 

A G-Series card equipped with CWDM or DWDM GBICs supports the delivery of unprotected Gigabit Ethernet service over Metro DWDM (Figure 5-15). It can be used in short-haul and long-haul applications.

Figure 5-15 G-Series with CWDM/DWDM GBICs in Cable Network

 

5.14.5 SFP Description

SFPs are integrated fiber-optic transceivers that provide high-speed serial links from a port or slot to the network. Various latching mechanisms can be utilized on the SFP modules. There is no correlation between the type of latch and the model type (such as SX or LX/LH) or technology type (such as Gigabit Ethernet). See the label on the SFP for technology type and model. One type of latch available is a mylar tab (Figure 5-16), a second type of latch available is an actuator/button (Figure 5-17), and a third type of latch is a bail clasp (Figure 5-18).

SFP dimensions are:

  • Height 0.03 in. (8.5 mm)
  • Width 0.53 in. (13.4 mm)
  • Depth 2.22 in. (56.5 mm)

SFP temperature ranges for are:

  • COM—Commercial operating temperature range –5 degrees C to 70 degrees C (23 degrees F to 158 degrees F)
  • EXT—Extended operating temperature range –5 degrees C to 85 degrees C (23 degrees F to 185 degrees F)
  • IND—Industrial operating temperature range –40 degrees C to 85 degrees C (-40 degrees F to 185 degrees F)

Figure 5-16 Mylar Tab SFP

 

Figure 5-17 Actuator/Button SFP

 

Figure 5-18 Bail Clasp SFP