この製品のマニュアルセットは、偏向のない言語を使用するように配慮されています。このマニュアルセットでの偏向のない言語とは、年齢、障害、性別、人種的アイデンティティ、民族的アイデンティティ、性的指向、社会経済的地位、およびインターセクショナリティに基づく差別を意味しない言語として定義されています。製品ソフトウェアのユーザーインターフェイスにハードコードされている言語、RFP のドキュメントに基づいて使用されている言語、または参照されているサードパーティ製品で使用されている言語によりドキュメントに例外が存在する場合があります。シスコのインクルーシブランゲージに対する取り組みの詳細は、こちらをご覧ください。
このドキュメントは、米国シスコ発行ドキュメントの参考和訳です。リンク情報につきましては、日本語版掲載時点で、英語版にアップデートがあり、リンク先のページが移動/変更されている場合がありますことをご了承ください。あくまでも参考和訳となりますので、正式な内容については米国サイトのドキュメントを参照ください。
この章では、1560 アクセス ポイントおよびアクセサリの設置方法について説明します。ここで説明する内容は、次のとおりです。
アクセス ポイントを開梱するには、次の手順に従ってください。
ステップ 3 “パッケージの内容”に記載されているすべての品目が揃っていることを確認します。内容物が破損または不足している場合は、シスコの営業担当者にご連絡ください。
注文内容に応じて、シスコ製のオプション ツールとハードウェアに示す追加品が含まれています。
設置に必要な追加ハードウェアついては、設置に必要な追加のツールとハードウェアを参照してください。
AP 設置のさまざまな段階で、次のようなツールおよび資料が必要になります。これらは、別途準備していだく必要があります。
アクセス ポイント は無線デバイスであるため、スループットと範囲の低下をもたらす一般的な干渉の影響を受けやすい性質があります。最高のパフォーマンスを得るため、次の基本ガイドラインに従ってください。
http://www.cisco.com/c/en/us/products/collateral/routers/3200-series-rugged-integrated-services-routers-isr/data_sheet_c78-647116.html
(注
) パス ロスの計算とアクセス ポイントの設置間隔の決定については、RF 計画の専門家に相談してください。
この設置プロセスを開始する前に、以下の確認を完了してください。
http://www.cisco.com/c/en/us/support/docs/wireless-mobility/wireless-lan-wlan/97066-dhcp-option-43-00.html
アクセス ポイント は、高いビルの屋根の突出部や街灯柱などの屋外環境に設置するよう設計されています。システム コンポーネント、コネクタ、インジケータ、ケーブル、システム相互接続、および接地に精通するために、図 2-1 を入念に確認してください。
図 2-1 一般的なアクセス ポイントの設置におけるコンポーネント
|
|
|
||
|
|
シールド付き屋外用イーサネット |
|
|
|
|
|
||
|
|
|
||
|
|
|
|
|
ここでは、アクセス ポイントの設置手順について説明します。アクセス ポイントを設置する担当者は、ワイヤレス アクセスポイント、ブリッジング技術、アース手法について十分に理解していることが必要です。
1560 シリーズ アクセス ポイントは、壁、柱、またはタワーに取り付けることができます。使用可能な取り付けキットを次の表に示します。
|
|
|
|---|---|
(注) • アクセス ポイントを垂直に取り付ける場合、必ず LED インジケータが下向きになる方向にアクセス ポイントを取り付けてください。
AIR-ACC1530-PMK1= 取り付けキットには、壁面取り付けまたは柱取り付け用の取り付けブラケットが含まれます。
取り付けブラケットをテンプレートとして使用し、設置用の取り付け穴の位置に印を付けます。取り付けブラケットを設置した後、アクセス ポイントをブラケットに取り付けます。
表 2-1 に、設置に必要な資材の一覧を示します。
|
|
|
|---|---|
アース ラグ用の圧着工具(CD-720-1 ダイ付きの Panduit CT-720)(http://www.panduit.com) |
|
アクセス ポイントを壁に垂直に取り付ける手順は、次のとおりです。
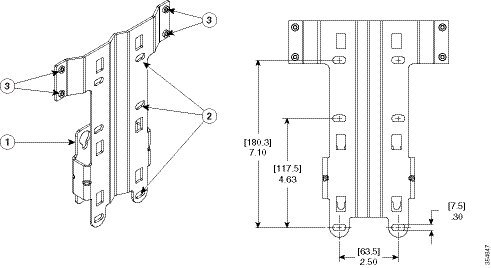
ステップ 1 取り付けブラケットをテンプレートとして使用し、取り付ける壁に 4 つのネジ穴位置の印を付けます。取り付けブラケットのネジ穴位置を図 2-2 に示します。取り付けブラケットの寸法を図 2-3 に示します。
ステップ 2 4 つのネジと、必要に応じてウォール アンカーを使用して、マウント プレートを取り付け面に取り付けます。これらのネジとアンカーは別途手配していただく必要があります。
(注
) 化粧しっくい、セメント、ドライウォールにアクセス ポイントを取り付ける場合は、屋外仕様の合板の背板を使用することができます。
(注
) 取り付ける壁、付属のねじ、およびウォール アンカーは、22.7 kg(50 ポンド)の静荷重耐力が必要です。
ステップ 3 アクセス ポイントの背面の 4 つのサポート ボルト穴のそれぞれに M6 X 12 mm ボルトを取り付けます。ボルトを完全には締め付けず、3.3 mm(0.13 インチ)程度のすき間を残してください。
ステップ 4 アクセス ポイント背面の 4 つの支持ボルトが取り付けブラケット上のキーホール スロットに合うように、アクセス ポイントと取り付けブラケットの位置を合わせます。
ステップ 5 取り付けブラケット上のキーホール スロットにしっかり固定されるまでアクセス ポイントをスライドさせます。
(注
) アクセス ポイントは、ベースのステータス LED が下になるように取り付ける必要があります。
ステップ 6 10 mm レンチを使用して、アクセス ポイントをブラケットに固定する 4 つのボルトを 40 lbf-in のトルクで締め付けます。
ステップ 7 アンテナの取り付け(外部アンテナ モデルの場合のみ)、データ ケーブルの接続、アクセス ポイントの接地、アクセス ポイントの設定および電力投入に進みます。
|
|
|
||
|
|
|
AIR-ACC1560-PMK1= 取り付けキットには、壁面取り付けまたは柱取り付け用の取り付けブラケット、アクセス ポイント、電源が含まれます。
取り付けブラケットをテンプレートとして使用し、設置用の取り付け穴の位置に印を付けます。取り付けブラケットを設置した後、アクセス ポイントをブラケットに取り付けます。
表 2-1 に、設置に必要な資材の一覧を示します。
|
|
|
|---|---|
アース ラグ用の圧着工具(CD-720-1 ダイ付きの Panduit CT-720)(http://www.panduit.com) |
|
アクセス ポイントを壁に垂直に取り付ける手順は、次のとおりです。
ステップ 1 取り付けブラケットをテンプレートとして使用し、取り付ける壁に 6 つのネジ穴位置の印を付けます。取り付けブラケットのネジ穴位置および取り付けブラケットの寸法を図 2-4 に示します。
ステップ 2 6 つのネジと、必要に応じてウォール アンカーを使用して、マウント プレートを取り付け面に取り付けます。これらのネジとアンカーは別途手配していただく必要があります。
(注
) 化粧しっくい、セメント、ドライウォールにアクセス ポイントを取り付ける場合は、屋外仕様の合板の背板を使用することができます。
(注
) 取り付ける壁、付属のねじ、およびウォール アンカーは、22.7 kg(50 ポンド)の静荷重耐力が必要です。
ステップ 3 アクセス ポイントの背面の 4 つのサポート ボルト穴のそれぞれに M6 X 12 mm ボルトを取り付けます。ボルトを完全には締め付けず、3.3 mm(0.13 インチ)程度のすき間を残してください。
ステップ 4 アクセス ポイント背面の 4 つの支持ボルトが取り付けブラケット上のキーホール スロットに合うように、アクセス ポイントと取り付けブラケットの位置を合わせます。
ステップ 5 取り付けブラケット上のキーホール スロットにしっかり固定されるまでアクセス ポイントをスライドさせます。
(注
) アクセス ポイントは、ベースのステータス LED が下になるように取り付ける必要があります。
ステップ 6 10 mm レンチを使用して、アクセス ポイントをブラケットに固定する 4 つのボルトを 40 lbf-in のトルクで締め付けます。
ステップ 7 アンテナの取り付け(外部アンテナ モデルの場合のみ)、データ ケーブルの接続、アクセス ポイントの接地、アクセス ポイントの設定および電力投入に進みます。
図 2-4 AP および電源を壁または柱に取り付けるための取り付けブラケット
|
|
|
||
|
|
ブラケットを壁に固定するためのブラケットの取り付け穴(6 つのうちの 3 つ)。直径 1/4" または 6 mm までのボルトに対応します。 |
|
AIR-ACC1530-PMK1= 取り付けキットには、壁面取り付けと柱取り付けの両方に使用可能な取り付けブラケットが含まれます。このキットを使用して、柱やマスト、街灯などにアクセス ポイントを取り付けることができます。このキットは、直径が 2 ~ 8 インチの金属製、木製、またはファイバーグラス製の柱に使用できます。
アース ラグ用の圧着工具(CD-720-1 ダイ付きの Panduit CT-720)(http://www.panduit.com) |
|
アクセス ポイントを垂直の柱に取り付ける手順は、次のとおりです。
ステップ 1 アクセス ポイントを取り付ける支柱上の位置を選択します。直径が 2 ~ 8 インチ(5.1 ~ 20.1 cm)の柱にアクセス ポイントを取り付けることができます。
(注
) 街路灯電源タップ アダプタを使用する場合は、屋外照明コントロールの 3 フィート(1 m)以内にアクセス ポイントを配置します。AC/DC アダプタは街灯の支柱に取り付ける場合に必要になります。
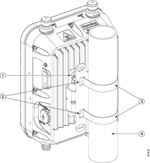
ステップ 2 ブラケットを柱に合わせて保持し、取り付けブラケットの上下の取り付けスロットに 2 本のバンド ストラップを通します(図 2-5 参照)。
ステップ 3 柱の周りにバンド ストラップを巻き付けてロックし、レンチを使用してクランプを軽く締め付けます。ブラケットが柱から落ちない程度の力で締め付けてください。
ステップ 4 アクセス ポイントの背面横の 4 つのボルト穴のそれぞれに M6 ボルトを取り付けます。ボルトは完全に締めないでください。0.13"(3.3 mm)の間隔を保つようにしてください。
ステップ 5 アクセス ポイント上の 4 つのボルトをブラケット キーホール スロットに配置します。アクセス ポイントがスロットに正しく設置されているかどうかを確認してください(図 2-5 参照)。
(注
) アクセス ポイントは、ベースのステータス LED が下になるように取り付ける必要があります。
ステップ 6 10 mm レンチを使用して、アクセス ポイントをブラケットに接続する 4 つのボルトを 40 lbf-in のトルクで締めます。
ステップ 7 アクセス ポイントを最終的な場所に配置します。アクセス ポイントが柱からスライドしないようにレンチでバンド クランプを締めます。クランプが固定されていて AP が動かないことを確認します。
ステップ 8 アンテナの取り付け(外部アンテナ モデルの場合のみ)、データ ケーブルの接続、アクセス ポイントの接地、アクセス ポイントの設定および電力投入に進みます。
|
|
|
||
|
|
|
AIR-ACC1560-PMK1= 固定取り付けキットには、壁面取り付けと柱取り付けの両方に使用可能な取り付けブラケット、アクセス ポイント、電源キットが含まれます。この取り付けキットは、直径が 2 ~ 8 インチの金属製、木製、ファイバグラス製の柱に対応します。
アース ラグ用の圧着工具(CD-720-1 ダイ付きの Panduit CT-720)(http://www.panduit.com) |
|
アクセス ポイントを垂直の支柱や街路灯に取り付けるには、次の手順を実行します。
ステップ 1 アクセス ポイントを取り付ける支柱上の位置を選択します。直径が 2 ~ 8 インチ(5.1 ~ 20.1 cm)の柱にアクセス ポイントを取り付けることができます。
(注
) 街路灯電源タップ アダプタを使用する場合は、屋外照明コントロールの 3 フィート(1 m)以内にアクセス ポイントを配置します。AC/DC アダプタは街灯の支柱に取り付ける場合に必要になります。
ステップ 2 ブラケットを柱に合わせて保持し、取り付けブラケットの上下の取り付けスロットに 3 本のバンド ストラップを通します(図 2-6 参照)。
ステップ 3 柱の周りにバンド ストラップを巻き付けてロックし、レンチを使用してクランプを軽く締め付けます。ブラケットが柱から落ちない程度の力で締め付けてください。
ステップ 4 アクセス ポイントの背面横の 4 つのボルト穴のそれぞれに M6 ボルトを取り付けます。ボルトは完全に締めないでください。0.13"(3.3 mm)の間隔を保つようにしてください。
ステップ 5 アクセス ポイント上の 4 つのボルトをブラケット キーホール スロットに配置します。アクセス ポイントがスロットに正しく設置されているかどうかを確認してください(図 2-6 参照)。
(注
) アクセス ポイントは、ベースのステータス LED が下になるように取り付ける必要があります。
ステップ 6 10 mm レンチを使用して、アクセス ポイントをブラケットに接続する 4 つのボルトを 40 lbf-in のトルクで締めます。
ステップ 7 電源を #8-32 ネジ 4 本でブラケットに取り付けます。
ステップ 8 アクセス ポイントを最終的な場所に配置します。レンチを使ってバンド クランプを締め付けます。クランプが固定されていて AP が動かないことを確認します。
ステップ 9 アクセス ポイントのアース接続に進みます。
|
|
|
||
|
|
|
||
|
|
|
オプションのピボット取り付けキット AIR-ACC1530-PMK2= には、壁面取り付けと柱取り付けの両方に使用可能なピボット取り付けブラケットが含まれます。このキットでは、AP の位置を、AP の垂直方向に沿って角度を変えて調整することができます。
表 2-5 ピボット取り付けキットを使用した壁面への取り付け用の資材
アース ラグ用の圧着工具(CD-720-1 ダイ付きの Panduit CT-720)(http://www.panduit.com) |
|
アクセス ポイントを壁に垂直に取り付ける手順は、次のとおりです。
ステップ 1 ピボット キットを分解します(まだピボット キットを分解していない場合)。を参照してください。図 2-7
ステップ 2 取り付けブラケットのウォールプレート エンドをテンプレートとして使用し、取り付け面の 4 つのネジ穴の位置に印を付けます。取り付けブラケットのネジ穴の位置(最大のネジ穴サイズ 6 mm)については、図 2-7 を参照してください。
ピボット取り付けブラケットの寸法については、図 2-8 を参照してください。
ステップ 3 4 つのネジと、必要に応じてウォール アンカーを使用して、取り付けブラケットのウォールプレート エンドを取り付け面に取り付けます。これらのネジとアンカーは別途手配していただく必要があります。
(注
) 化粧しっくい、セメント、ドライウォールにアクセス ポイントを取り付ける場合は、屋外仕様の合板の背板を使用することができます。
(注
) 取り付ける壁、付属のねじ、およびウォール アンカーは、22.7 kg(50 ポンド)の静荷重耐力が必要です。
ステップ 4 ブラケットの AP プレート エンドをアクセス ポイント背面にあるネジ穴の位置に合わせます。
ステップ 5 4 本の M8 X 12 mm ボルトと 10 mm ボックス レンチまたはソケット レンチを使用して、ブラケット プレートを AP に固定します。ボルトを 40 lbf-in のトルクで締め付けます。
ステップ 6 90.0 mm の長さの M8 ネジとピボット ブラケットに付属の金具を使用して、AP とブラケット プレートを壁に取り付けたウォール プレートにボルトで取り付けます。この組み立て手順については、図 2-7 を参照してください。アセンブリは完全に締め付けないでください。
(注
) アクセス ポイントは、ベースのステータス LED が下になるように取り付ける必要があります。
ステップ 7 必要に応じて AP の角度を変え、13 mm レンチを使用して 90.0 mm の M8 ロング ネジを完全に締め付けます。
ステップ 8 アンテナの取り付け(外部アンテナ モデルの場合のみ)、データ ケーブルの接続、アクセス ポイントの接地、アクセス ポイントの設定および電力投入に進みます。
|
|
|
||
|
|
|
|
|
|
||
|
|
|
柱取り付けネジのクランプをピボット ブラケット ベース プレートに固定するための 80.0 mm M8 ネジ、ワッシャー、スプリング ワッシャー。 |
|
|
|
|
図 2-10 ピボット取り付けキットに取り付けられた状態の AP
オプションのピボット取り付けキット AIR-ACC1530-PMK2= には、壁面取り付けと柱取り付けの両方に使用可能なピボット取り付けブラケットが含まれます。このキットを使用して、柱やマスト、街灯などにアクセス ポイントを取り付けることができます。このキットは、直径が 2 ~ 8 インチの金属製、木製、またはファイバーグラス製の柱に使用できます。
AIR-ACC1530-PMK2= ピボット取り付けキットでは、AP の位置を、AP の垂直方向に沿って角度を変えて調整することができます。
|
|
|
|---|---|
アース ラグ用の圧着工具 Panduit CT0720(CD-720-1 ダイ付き)(http://www.panduit.com) |
|
ステップ 1 アクセス ポイントを取り付ける支柱上の位置を選択します。アクセス ポイントは 2 ~ 8 インチ(5.1 ~ 40.6 cm)の直径を持つ任意の柱に取り付けることができます。
(注
) 街路灯電源タップ アダプタを使用する場合は、屋外照明コントロールの 3 フィート(1 m)以内にアクセス ポイントを配置します。
ステップ 2 ピボット キットを分解します(まだピボット キットを分解していない場合)。を参照してください。図 2-7
ステップ 3 調整可能なバンド クランプ一式またはネジ クランプ(ネジ クランプは直径 3 インチ以下の柱に使用可能)を使用してピボット ブラケット ベース プレートを柱に固定します。
ステップ 4 スチール バンド クランプやネジ クランプを締め付ける前に、必要に応じて柱クランプ ブラケットと柱の位置合わせを行います。ブラケット ベース プレートが正しい位置に保持され、柱に沿って滑り落ちるのを防ぐ程度の強さで締め付けます。完全に締め付けるのは、アクセス ポイントの取り付けと位置調節が終了した後です。
ステップ 5 ブラケットの AP プレート エンドをアクセス ポイント背面にあるネジ穴の位置に合わせます。
ステップ 6 4 本の M8 X 12 mm ボルトと 10 mm ボックス レンチまたはソケット レンチを使用して、ブラケット プレートを AP に固定します。ボルトを 40 lbf-in のトルクで締め付けます。
ステップ 7 90.0 mm の長さの M8 ネジとピボット ブラケットに付属の金具を使用して、AP とブラケット プレートを柱に取り付けたベース プレートにボルトで取り付けます。この組み立て手順については、図 2-12 を参照してください。アセンブリは完全に締め付けないでください。
(注
) アクセス ポイントは、ベースのステータス LED が下になるように取り付ける必要があります。
ステップ 8 必要に応じて AP の角度を変えて位置を調節し、13 mm レンチを使用して 90.0 mm の M8 ロング ネジを完全に締め付けた後、柱のクランプを締め付けます。
ステップ 9 アンテナの取り付け(外部アンテナ モデルの場合のみ)、データ ケーブルの接続、アクセス ポイントの接地、アクセス ポイントの設定および電力投入に進みます。
図 2-11 柱取り付けクランプ付きのピボット取り付けキット
|
|
アクセス ポイントの取り付け穴(4 つのうちの 1 つ)。これがブラケットの AP プレート エンドであり、アクセス ポイント背面に固定されます。 |
|
|
|
|
これがピボット ブラケットのベース プレートであり、柱に固定されます。 バンド クランプを使用した柱への取り付けについて、図 2-12 に示します。 |
|
図 2-12 ピボット取り付けブラケットを使用して壁面に取り付けられた AP
|
|
|
||
|
|
|
The AIR-ACC1530-PMK2= ピボット柱取り付けキットには、図 2-14 のように AP を水平マウントできる水平マウント プレートが含まれます。水平マウントにより、全方向性アンテナのカバレッジが向上します。
|
|
|
|---|---|
アース ラグ用の圧着工具 Panduit CT0720(CD-720-1 ダイ付き)(http://www.panduit.com) |
|
AIR-ACC1530-PMK2= を使用して AP を水平マウントするには、次の手順を実行します。
ステップ 1 前述の手順に示されるように、ピボット ブラケットを壁または柱に取り付けます。ただし、ピボット ブラケット プレートはアクセス ポイントに直接取り付けないでください。
ステップ 2 4 本の M6 X 12 mm ボルトを使用して、水平アダプタ プレートをピボット ブラケット プレートに固定します。
ステップ 3 残りの 4 つの M6 X 12 mm ボルトを使用して、水平マウント プレートのもう一方の側を AP に取り付けます。組み立て図については、図 2-13 を参照してください。
ステップ 4 10 mm レンチまたはソケットを使用して、M6 ボルトすべてを 40 lbf-in(4.5 Nm)で締めます。
ステップ 5 必要に応じてアクセス ポイントの位置と方向を調節し、13 mm レンチまたはソケットを使用して取り付けキットのボルトを締め付けます。図 2-14 を参照してください。
図 2-13 ピボット ブラケットの各パーツと水平マウント プレートの組み立て図
|
|
|
||
|
|
|
図 2-14 オプションの水平マウント プレートを使用して水平に取り付けられたアクセス ポイント
カバー AIR-ACC1560-CVR= を取り付けられます。このカバーは、太陽光の遮へいとしても機能します。カバーは、すべての接続が確立する前または後に設置できます。ただし、リモート ケーブル付きアンテナを取り付ける場合には、アンテナ ケーブルを AP に取り付ける前にシールドを取り付ける必要があります。
ステップ 1 この手順は、AP1562D モデルのみに該当します。
カバー AIR-ACC1560-CVR= には、AP1562I および AP1562E の AP モデルに取り付けるためのアダプタが工場で取り付けられています。AP1562D の AP モデルにカバーを取り付ける場合には、このアダプタを取り外す必要があります。そのためには次を実行します。
a.
大型のマイナス ドライバを開口部に差し込みます(図 2-15 参照)。
b.
てこの原理を使ってアダプタを持ち上げ、アダプタが飛び出すまで、マイナス ドライバをさらに押し込みます。
ステップ 2 図 2-16 で示されるようにカバーを AP の上にスライドさせます。
ステップ 3 カバーの各側の 2 つの穴を、AP の対応する側のネジ穴と位置を合わせます。
ステップ 4 #8-32 ネジをカバーのネジ穴に通して AP に取り付けます。10 lb-in で締めます。
図 2-15 AP1562D の場合のみ:カバーからアダプタを取り外す
|
|
|||
|
|
|
(注
) 5 GHz UNII-1 帯域で動作する場合、すべての全方向性アンテナは垂直に設置され、すべての指向性アンテナはメインビームが水平方向に平行または傾けて設置される必要があります。
表 2-8 は、1562E アクセス ポイントによってサポートされる外部アンテナを示し、各モデルに対して必要な数を提供しています。
|
|
|
|
|
|---|---|---|---|
これらのアンテナの取り付け手順および詳細情報については、次のアンテナ ガイドを参照してください。
http://www.cisco.com/c/en/us/support/wireless/aironet-antennas-accessories/products-installation-guides-list.html
アンテナを取り付けるときは、安全に関する注意事項に従います。安全性については、“アンテナを取り付ける際の安全上の注意” sectionを参照してください。
シスコは、サード パーティ製アンテナをサポートしません。サード パーティ製アンテナの RF 接続とコンプライアンスについてはユーザの責任となります。シスコは、サード パーティ製アンテナを推奨しておらず、Cisco Technical Assistance Center ではサードパーティ製アンテナに対していかなるサポートも提供できません。シスコの FCC Part 15 コンプライアンスは、シスコのアンテナまたはシスコのアンテナと同じ設計とゲインを持つアンテナでのみ保証されます。
1562 シリーズの Cisco Flexible Antenna Port 機能は、デュアル バンドまたはシングルバンドのアンテナを同じ AP でサポートできます。これは、ワイヤレス LAN コントローラから CLI コマンドを使用して設定できます。
デュアル バンド ポートを設定するには、ベースの 2 つのアンテナ ポート(ポート 1 とポート 2)を使用して、デュアル バンドの全方向性または指向性アンテナに接続します。
シングルバンド ポートを設定するには、2 つの独立した 2.4 GHz アンテナ ポートと 2 つの 5 GHz アンテナ ポートを使用します。
アンテナの選択は製品の構成で決定されます。1562E アンテナは壁、柱、およびタワーに設置できます。サポートされるアンテナの一覧については、常に『注文ガイド』を参照してください。
1562E アクセス ポイントは、屋外使用向けに設計された各種のアンテナをサポートし、2.4 GHz および 5 GHz 周波数帯域の無線で動作します。1562E は、次のセクションに記載されている外部アンテナをサポートします。
デュアル バンド全方向性アンテナ(別名「スティック」アンテナ)は、2.4 GHz および 5 GHz の周波数帯域で動作する無線で Cisco Aironet 屋外アクセス ポイントとの屋外使用に向けて設計されています(図 2-17)。このアンテナの基本機能は次のとおりです。
このアンテナは全方向性ブロードキャスト パターンを作成よう設計されています。このパターンを実現するには、ラジエータ素子側に障害物がないようアクセス ポイントを取り付けてください。
このアンテナの詳細については、『Cisco Aironet Dual-Band Omnidirectional Antenna (AIR-ANT2547V-N, AIR-ANT2547VG-N)』マニュアルを参照してください。アンテナを取り付けるときは、安全に関する注意事項に従います。安全性については、“アンテナを取り付ける際の安全上の注意” sectionを参照してください。
図 2-17 Cisco Aironet デュアル バンド全方向性アンテナをモデル AIR-AP1562E-x-K9 のみに取り付けた状態
|
|
|
Cisco Aironet 2.4-GHz/5-GHz 8-dBi 指向性アンテナは、2.4 GHz および 5 GHz の両方の周波数帯域で動作する無線で Cisco Aironet 屋外アクセス ポイントとの屋外使用に向けて設計されています。このアンテナは、両方の帯域で 8-dBi のゲインがあります。
このアンテナの詳細については、『 Cisco Aironet 2.4-GHz/5-GHz 8-dBi Directional Antenna (AIR-ANT2588P3M-N) 』ドキュメントを参照してください。アンテナの取り付け時には、安全上の注意事項のすべてに従ってください(“アンテナを取り付ける際の安全上の注意” sectionを参照)。
図 2-18 Cisco Aironet 2.4 GHz/5 GHz 8-dBi 指向性アンテナ(モデル AIR-AP1562E-x-K9 のみへの設置)
(注
) AIR-ANT2588P3M-N と Cisco Aironet 1560 シリーズ AP を設置する場合には、最も外側のアンテナ ポート(図 2-19 の記号 1)を AP のデュアル バンドのアンテナ ポートに接続してください。
図 2-19 AP のデュアル バンド ポートに接続するアンテナ ポート
Cisco Aironet 5-GHz 14-dBi 2 ポート指向性アンテナは、5 GHz の周波数帯域で動作する無線で Cisco Aironet 屋外アクセス ポイントとの屋外使用に向けて設計されています。このアンテナは 5 GHz 帯域の 14-dBi です。
詳細については、次の URL にある『Cisco Aironet 5-GHz 14-dBi Directional Antenna』ドキュメントを参照してください。
http://www.cisco.com/c/en/us/td/docs/wireless/antenna/installation/guide/ant5114p2m-n.html.
このアンテナの詳細については、『 Cisco Aironet 5-GHz 14-dBi Directional Antenna (AIR-ANT5114P2M-N) 』ドキュメントを参照してください。アンテナの取り付け時には、安全上の注意事項のすべてに従ってください(“アンテナを取り付ける際の安全上の注意” sectionを参照)。
図 2-20 Cisco Aironet 5-GHz 14-dBi 指向性アンテナ(モデル AIR-AP1562E-x-K9 のみへの設置)
Cisco Aironet 2.4-GHz 13-dBi 2 ポート指向性アンテナは、2.4 GHz の周波数帯域で動作する無線で Cisco Aironet 屋外アクセス ポイントとの屋外使用に向けて設計されています。このアンテナは 2.4 GHz の周波数帯域で 13-dBi ゲインです。
このアンテナの詳細については、 『Cisco Aironet 2.4-GHz 13-dBi Directional Antenna (AIR-ANT2413P2M-N)』 ドキュメントを参照してください。アンテナの取り付け時には、安全上の注意事項のすべてに従ってください(“アンテナを取り付ける際の安全上の注意” sectionを参照)。
図 2-21 Cisco Aironet 2.4-GHz 13-dBi 指向性アンテナ(モデル AIR-AP1562E-x-K9 のみへの設置)
Cisco Aironet 2.4-GHz 5 dBi 全方向性アンテナは、2.4 GHz の周波数帯域で動作する無線で Cisco Aironet 屋外アクセス ポイントとの屋外使用に向けて設計されています。このアンテナは 2.4 GHz の周波数帯域で 5-dBi ゲインです。
このアンテナの詳細については、『Cisco Aironet 5-dBI Omnidirectional Antenna (AIR-ANT2450V-N)』を参照してください。アンテナを取り付けるときは、安全に関する注意事項に従います。安全性については、“アンテナを取り付ける際の安全上の注意” sectionを参照してください。
図 2-22 Cisco Aironet 2.4 GHz 5 dBi 全方向性アンテナ(モデル AIR-AP1562E-x-K9 のみへの設置)
Cisco Aironet 2.4-GHz 8 dBi 全方向性アンテナは、2.4 GHz の周波数帯域で動作する無線で Cisco Aironet 屋外アクセス ポイントとの屋外使用に向けて設計されています。このアンテナは 2.4 GHz の周波数帯域で 8-dBi ゲインです。
このアンテナの詳細については、『 Cisco Aironet 8-dBi Omnidirectional Antenna (AIR-ANT2480V-N) 』を参照してください。アンテナの取り付け時には、安全上の注意事項のすべてに従ってください(“アンテナを取り付ける際の安全上の注意” sectionを参照)。
図 2-23 Cisco Aironet 2.4 GHz 8 dBi 全方向性アンテナ(モデル AIR-AP1562E-x-K9i のみへの設置)
Cisco Aironet 5-GHz 8-dBi 指向性アンテナは、5 GHz の周波数帯域で動作する無線で Cisco Aironet 屋外アクセス ポイントとの屋外使用に向けて設計されています。このアンテナは 5 GHz の周波数帯域で 8-dBi ゲインです。
このアンテナの詳細については、『 Cisco Aironet 8-dBi Omnidirectional Antenna (AIR-ANT5180V-N) 』を参照してください。アンテナの取り付け時には、安全上の注意事項のすべてに従ってください(“アンテナを取り付ける際の安全上の注意” sectionを参照)。
図 2-24 Cisco Aironet 5-GHz 8-dBi 指向性アンテナ - モデル AIR-AP1562E-x-K9 にのみ設置
AIR-ACCAMK-2= ブラケットを使用して、指向性アンテナをアクセスポイントに直接取り付けることができます。を参照してください。図 2-25
図 2-25 指向性アンテナの取り付けブラケット AIR-ACCAMK-2= の図
|
|
|
||
|
|
|
過電圧の過渡電流は、雷による静電放電、スイッチ プロセス、電線との直接接触、または地電流を介して生成される可能性があります。Cisco Aironet AIR-ACC245LA-N Lightning Arrestor は、憂慮すべき干渉電圧の振幅と持続期間を制限し、インラインの装置、システム、およびコンポーネントの過電圧抵抗を向上させます。これらの取り付け手順に従って避雷器を取り付けると、電位が調整されるため、保護されるシステム内で並列信号線への誘導障害が回避されます。
保護されるエリアの壁をフィードスルーするように、避雷器を隔壁マウント方式で取り付けることを推奨します。
アース接続とボンディング接続を適切に行うことは、最も重要なことです。避雷器をアース接続する場合は、次の点を考慮してください。
この避雷器は、屋外アンテナに接続されたアンテナ ケーブルと Cisco Aironet 無線デバイスの間に取り付けるように設計されています。避雷器は屋内にも屋外にも設置できます。また、外部 N コネクタを持つ無線デバイスに直接接続できます。また、インラインでも、フィードスルー モジュールとしても取り付けられます。フィードスルーとして取り付ける場合、避雷器を収納するため、5/8 インチ(16 mm)の穴が必要です。
(注
) この避雷器は避雷器キットの一部です。キットには避雷器とアース ラグが含まれます。
(注
) 避雷器を取り付けるときは、地域の避雷器取り付けに適用される規制またはベスト プラクティスに従ってください。
避雷器を屋外に設置する場合は、付属のアース ラグおよび頑丈なワイヤ(#6 硬銅線)を使用して、適切なアース接続が可能なアース棒などに接続します。接続をできるだけ短くする必要があります。
|
|
|
||
|
|
|
||
|
|
|||
同軸ケーブルでは、周波数が高くなると効率が失われるため、信号損失につながります。信号損失の量はケーブル長によっても決まるため(ケーブルが長いほど、損失が増える)、ケーブルはできるだけ短くする必要があります。
アクセス ポイントは、電源に接続する前にアース接続する必要があります。
屋外に設置する場合には、次の手順に従って本体を適切にアースする必要があります。
ステップ 1 6 AWG の絶縁アース線を使用する場合は、アース ラグに接続できるように絶縁被覆をはがします。
ステップ 2 適切な圧着工具を使用して、絶縁被覆を取り除いた 6 AWG のアース線をアース ラグに圧着します。
(注
) アース ラグおよび使用するハードウェアは、地域および国の電気規格に準拠する必要があります。
ステップ 3 付属の耐食剤を開け、アース線のネジ穴がある金属表面(「アース パッド」)に適当な量を塗布します(図 2-27 参照)。
ステップ 4 付属の 2 本のプラス ネジ(M4 X 10mm)を使用し、ロック ワッシャを併用してアース ラグを アクセス ポイント のアース ネジ穴に接続します(図 2-27 を参照)。アース ネジを 22 ~ 24 lb-in(2.49 ~ 2.71 Nm)で締めます。
ステップ 5 必要に応じて、アース線のもう一方の端の絶縁被覆を取り除いて、接地ロッドなどの信頼できる接地点または接地された金属製の街路灯の柱の適切な接地点に接続します。
|
|
|||
1560 アクセス ポイントには、インライン パワー インジェクタまたは適切に電力が供給されるスイッチ ポートから PoE 入力を通して電源が供給されます。設定および規制ドメインによっては、フル稼働に必要な電力は UPoE です。
1562I では、UPoE パワー スイッチ ポートやパワー インジェクタが、高い 2.4 GHz 送信電力(規制ドメイン:-A, -D, -F, -K, -N, -Q, -T, -Z)が可能な規制ドメインの 2.4 GHz 無線での 3 X 3 MIMO フル稼働に対して必要です。1562I が PoE+(802.3at 電源)スイッチ ポートから電力を供給される場合、アクセス ポイントは自動的に 2.4 GHz のトランスミッタの 1 つを無効にし、無線は 2 X 2 MIMO モードで動作します。
|
|
|
|
|
|
|
|
|---|---|---|---|---|---|---|
|
2.AIR-PWRINJ6 パワー インジェクタは、屋内環境でのみ使用できます。そのため、インジェクタからのケーブルは、保護された場所から、屋外に設置されたアクセス ポイントまで延ばす必要があります。 |
1560 シリーズ アクセス ポイントは、以下のパワー インジェクタをサポートします。
パワー インジェクタは、イーサネット ケーブル経由でアクセス ポイントに 56 VDC の電源を供給し、スイッチからアクセス ポイントまでの全長 100 m(328 フィート)のエンドツーエンド イーサネット ケーブルをサポートします。
アクセス ポイントがオプションのパワー インジェクタで動作している場合は、次の手順に従って取り付けを完了してください。
ステップ 1 PoE をアクセス ポイントに供給する前に、アクセス ポイントが接地済みであることを確認します(“アクセス ポイントのアース接続” sectionを参照)。
ステップ 2 取り付けに必要なコンポーネントについては、“標準的なアクセス ポイント設置コンポーネント” sectionを参照してください。
ステップ 3 CAT5e 以上のイーサネット ケーブルを有線 LAN ネットワークからパワー インジェクタに接続します。
警告
火災の危険性を抑えるため、必ず 26 AWG 以上の太さの電話線コードを使用してください。ステートメント 1023
(注
) 設置者には、このタイプのパワー インジェクタによるアクセス ポイントへの電源供給が、地方または国の安全検査と通信機器の基準を満たしていることを確認する責任があります。
ヒント ブリッジ トラフィックを転送するには、パワー インジェクタとコントローラの間にスイッチを追加します。詳細については、『Cisco Wireless Mesh Access Points, Design and Deployment Guide, Release 7.0』を参照してください。
ステップ 4 アクセス ポイントの電源を入れる前に、アクセス ポイントにアンテナが接続され、アースが取り付けられていることを確認します。
ステップ 5 シールド付き屋外用イーサネット ケーブル(CAT5e 以上)で、パワー インジェクタとアクセス ポイントの PoE 入力コネクタ間を接続します。
ステップ 6 イーサネット ケーブルをアクセス ポイントの PoE 入力ポートに接続します。“アクセス ポイントへのイーサネット ケーブルの接続” sectionを参照してください。
アクセス ポイントを DC 電源で動作させるときは、DC 電源が切り離されても装置に問題が発生しないことを確認する必要があります。装置の DC 電源コネクタが取り外されても、装置の電源が失われないようにする必要があります。
警告
装置は、必ず、IEC 60950 に基づいた安全基準の安全超低電圧(SELV)の要件に準拠する DC 電源に接続してください。ステートメント 1033
DC 電源ケーブルを接続する際、次の工具および資材はユーザが用意する必要があります。
DC 電源ケーブルをアクセス ポイントに接続する手順は、次のとおりです。
ステップ 1 DC 電源をアクセス ポイントに接続する前に、アクセス ポイントがアースされていることを確認します。“アクセス ポイントのアース接続” sectionを参照してください。
ステップ 2 DC 電源を含めて、アクセス ポイントのすべての電源をオフにします。
警告
この装置には複数の電源装置接続が存在する場合があります。すべての接続を取り外し、装置の電源を遮断する必要があります。ステートメント 1028
ステップ 3 大型のプラス ドライバまたはマイナス ドライバを使用して、DC 電源入力ポートからカバー プラグを取り外します。ポートを再接続する必要がないことが確かでないかぎり、プラグおよびゴム製シールを廃棄しないでください。(DC 電源コネクタの位置については、図 2-28 を参照してください)。
図 2-28 AP の右側にある DC 電源入力ポートの位置
|
|
|
ステップ 4 ケーブル グランドのスレッド ロック用シーリング ナットを逆時計回りに回して、取り外さずに緩めます。(図 2-29 参照)。
(注
) ケーブル グランドがゴム製シールを持ち、破損がないことを確認してください。
警告
ケーブル グランドの適切な取り付けに失敗した場合、ケーブル グリップからの漏れが発生します。
|
|
|
||
|
|
|
||
|
|
|
(注
) ケーブル グランドでは直径 0.20 ~ 0.35 インチ(0.51 ~ 0.89 cm)のケーブルを使用できます。
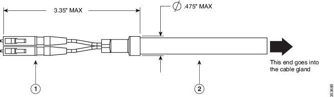
ステップ 5 DC 電源ケーブルの未処理側をケーブル グランドの丸い側に差し込み(図 2-29 を参照)、アダプタからケーブルを 6 インチ程度引き出します。
警告
DC 電源ケーブルを取り付けるする場合は、ケーブル グランドおよびゴム製ガスケットが適切に取り付けられていることを確認し、ラックへの水漏れを防いでください。図 2-29 および図 2-32 を参照してください。
ステップ 6 DC ケーブルの外被を約 1 インチ剥がして導線をむき出しにしてから、それぞれの導線の絶縁材を約 0.5 インチ(12 mm)剥がします。
ステップ 7 オレンジ色のバネ式の固定つまみを押し込んで、導線(図 2-30 を参照)を 2 位置端子ブロック コネクタ(シスコ部品番号 29-100226-01、図 2-31)に挿入してから、つまみを放します。導線を引っ張ってそれがしっかり固定されていることを確認します。
図 2-30 矢印で示すように、固定つまみを押し込んで配線する
|
|
|
||
|
|
|
ステップ 9 2 ピン ターミナル ストリップをアクセス ポイント ケースの DC 電源用開口部から挿入し、内部コネクタに慎重に差し込みます(図 2-32 を参照)。
(注
) 端子ストリップの極性がラックの極性マーキングに正しく一致することを確認します(図 2-33 を参照)
図 2-32 ターミナル ストリップをアクセス ポイント ケースの DC 電源用開口部に挿入
|
|
アクセス ポイント ケースの DC 電源用開口部。図 2-33 も参照してください。 |
|
図 2-33 アクセス ポイント ケースの DC 電源用開口部
ステップ 10 ゴム製シール付きのケーブル グランドをアクセス ポイントに向けてスライドさせ、本体のネジ側の端をアクセス ポイントに固定し、ネジを手で締めます。
ステップ 11 調整レンチまたは 28 mm レンチを使用して本体のネジ側の端を 15 lb-in で締めます。
ステップ 12 調整レンチを使用して、スレッド ロック用シーリング ナットを 15 lb-in で締めます。
ステップ 13 アクセス ポイントの電源を入れる前に、アンテナがアクセス ポイントに接続されていることを確認します。
アクセス ポイントは、街路灯の柱に取り付け、オプションの街路灯電源タップおよび AC/DC 電源アダプタ AIR-PWRADPT-RGD1= を使用して、街路灯屋外光コントロールから電力を供給することができます。
AC/DC 電源アダプタは街路灯のタップから 1560 DC コネクタにインラインで使用されます。AC 電源タップは AC/DC 電源アダプタでのみ使用できます。
街路灯電源タップ アダプタ以外の AC 電源からアクセス ポイントに電源を供給する場合は、以下の条件を満たす必要があります。
1.
装置の AC 電源コネクタを取り外さなくても、AC 電源を装置から切り離すことができます。
2.
すべての AC 電源プラグおよび AC レセプタクルが、水およびその他の屋外要素から保護されていること。NEC の Article 406 に記述されているように、装置に電力を供給する AC レセプタクルおよび AC 電源プラグの保護に適した UL 認定の防水筐体を使用できます。
3.
アクセス ポイントを屋外または水に濡れたり湿度の多い場所に設置する場合は、アクセス ポイントに電力を供給する AC 分岐回路に、National Electrical Code(NEC)Article 210 の要求に従った漏電遮断器(GFCI)を備える必要があります。
警告
容易にアクセス可能な二極切断装置を固定配線に組み込む必要があります。ステートメント 1022
警告
街路灯アダプタを、カテゴリ 3 のポールトップ電源に接続するときは十分注意してください。注意を怠ると、感電や落下のおそれがあります。ステートメント 363
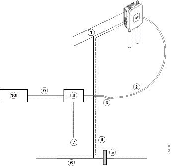
街灯柱に AP を設置する際の概略図を、図 2-34 および図 2-35 に示します。街灯柱にアクセス ポイントを取り付ける手順は、次のとおりです。
警告
この装置には複数の電源装置接続が存在する場合があります。すべての接続を取り外し、装置の電源を遮断する必要があります。ステートメント 1028
ステップ 3 屋外照明コントロールの電源がオフであることを確認し、屋外照明コントロールを取り付け具から取り外します。
ステップ 4 フィールド終端装置を介して、街路灯電源タップ アダプタをアクセス ポイント AC/DC 電源アダプタに接続します。
(注) • アクセス ポイントは、屋外照明コントロールの 3 フィート(1 m)以内に設置する必要があります。
ステップ 5 6 AWG アース線を使用して、アクセス ポイントから街灯柱にアースします。詳細については、アクセス ポイントのアース接続を参照してください。
ステップ 6 街路灯の電源タップ アダプタを屋外照明コントロール取り付け具に接続します。
ステップ 7 アンテナがアクセス ポイントに接続されていることを確認します。
ステップ 8 該当する回路で屋外照明コントロール取り付け具への電源をオンにします。そうすることで、アクセス ポイントの電源がオンになります。
|
|
|
AC/DC 電源アダプタを必ずアースしてください。AC/DC 電源アダプタの動作定格は 100 ~ 277 VAC 50/60 Hz です。 |
|
|
|
|
(注
) 図 2-34 での街路灯への配置に示すように、AP の配置には代替の AP 取り付けキットが必要です。
AP のすべてのモデルで、イーサネット ポートと Small Form-Factor Pluggable(SFP)ポート経由のデータ接続がサポートされています。ただし、イーサネット ポートと SFP ポートの両方をデータ用として同時に使用することはできません。
SFP が検出され、アクティブである場合、イーサネット ポートは切断されます。SFP が検出されない場合、イーサネット ポートの接続状態が維持されます。
SFP ポートを使用して光ファイバ ケーブル経由でデータを配信する場合、AP には DC 電源、電源アダプタ、またはパワー インジェクタから電源を供給する必要があります。
イーサネットの設置の詳細については、アクセス ポイントへのイーサネット ケーブルの接続を参照してください。
光ファイバ ケーブルの設置の詳細については、AP への光ファイバ ケーブルの接続を参照してください。
シールド付きイーサネット ケーブルをアクセス ポイントに接続する手順は、次のとおりです。
ステップ 1 パワー インジェクタの電源を切り離し、アクセス ポイントのすべての電源がオフになっていることを確認します。
警告
この装置には複数の電源装置接続が存在する場合があります。すべての接続を取り外し、装置の電源を遮断する必要があります。ステートメント 1028
ステップ 2 6 AWG のアース線がアクセス ポイントに接続されていることを確認します(“アクセス ポイントのアース接続” sectionを参照)。
ステップ 3 大型のプラス ドライバまたはマイナス ドライバを使用して、アクセス ポイントからカバー プラグを取り外します。ポートを再接続する必要がないことが確かでないかぎり、プラグおよびゴム製シールを廃棄しないでください(場所に関しては図 2-36 を参照してください)。
|
|
|
ステップ 4 ケーブル グランドのスレッド ロック用シーリング ナットを逆時計回りに回して、取り外さずに緩めます。(図 2-37 を参照)。
(注
) ケーブル グランドがゴム製シールを持ち、破損がないことを確認してください。
警告
ケーブル グランドおよびゴム製ガスケットの適切な取り付けに失敗した場合、ケーブル グリップからの漏れが発生します。
|
|
|
||
|
|
|
||
|
|
|
ステップ 5 イーサネット ケーブルの非終端側をケーブル グランドのシーリング ナット側の端に差し込み(図 2-37 を参照)、ケーブルをアダプタから数インチ引き出します。
ステップ 6 イーサネット ケーブル取り付け工具を使用して、イーサネット ケーブルの終端されていない側に RJ-45 コネクタを取り付けます。
警告
火災の危険性を抑えるため、必ず 26 AWG 以上の太さの電話線コードを使用してください。ステートメント 1023
警告
RJ-45 コネクタを取り付ける場合は、ケーブル グランドおよびゴム製ガスケットが適切に取り付けられていることを確認し、ラックへの水漏れを防いでください。図 2-37 および図 2-38 を参照してください。
ステップ 7 アクセス ポイントのイーサネット ポート開口部に RJ-45 ケーブル コネクタを慎重に差し込み、内部のイーサネット コネクタに接続します(図 2-38 を参照)。
図 2-38 ケースのイーサネット ポート開口部への RJ-45 コネクタの差し込み
|
|
|
RJ-45 コネクタ、シールド付き屋外定格イーサネット(CAT5e 以上)ケーブル使用(イーサネット ケーブルのケーブル グランドの部分図)。 |
ステップ 8 ゴム製シール付きのケーブル グランドをアクセス ポイントに向けてスライドさせ、本体のネジ側の端をアクセス ポイントに固定し、ネジを手で締めます。
ステップ 9 調整レンチまたは 28 mm レンチを使用して本体のネジ側の端をラックに固定します。15 lb-in で締めます。
ステップ 10 調整レンチを使用して、スレッド ロック用シーリング ナットを 15 lb-in で締めます。
ステップ 11 アクセス ポイントの電源を入れる前に、アンテナがアクセス ポイントに接続されていることを確認します。
ステップ 12 イーサネット ケーブルを適切に引き回し、余分なケーブルを切り落とします。
ステップ 13 ケーブルの一方の終端されていない側に RJ-45 コネクタを取り付け、パワー インジェクタに差し込みます。
シスコが提供している光ファイバ キットを使用すれば、アクセス ポイントで光ファイバ ネットワーク接続をサポートできます。
AP に光ファイバ ケーブルを取り付けるには、次の資材が必要です。
SFP ポート(AP のベースに "4" というラベルが付けられている)に光ファイバ ネットワーク ケーブルを接続できます。Small Form-Factor Pluggable(SFP)トランシーバ モジュールは、SFP ポートにケーブルを接続するために使用されます。SFP ポートは、Power-over-Cable オプションとバックホール オーバー ファイバ オプションの両方を提供します。SFP トランシーバ モジュールとケーブルを取り付けるには、次の手順を実行します。
ステップ 1 すべての電源がアクセス ポイントから切り離されていることを確認します。
ステップ 2 この手順で示すガイドラインに従って、SFP ポートからカバー プラグを取り外します。
SFP ポートのカバー プラグは、1 回のみ取り外し、SFP アダプタと交換するよう設計されています。このプラグにゴム製の O リングはありませんが、製造時にスレッド シール テープを使用してねじ山に固定されています。プラグを取り外すときは、六角ボルトの頭部がつぶれていないことを確認する必要があります。そのためには次を実行します。
a.
塗料にひっかき傷が付かないよう、AP は背面を(ヒート フィンの上に載るように)固定されパディングされた面に置きます。
b.
AP の表面を手で押し下げて AP をしっかりと固定し、次の手順に進みます。
c.
5/8 インチ(16 mm)の 6 点ソケット レンチを使用して、六角ボルト頭部の SFP ポート プラグを緩めます。ゆっくりと慎重に、ソケット レンチを反時計回りに回して、プラグを緩めます。これには、25 フィート ポンド(34 Nm)のトルクが必要です。
理想的ではありませんが、5/8 インチ(16 mm)の 12 点ソケット レンチも使用できます。ソケット レンチを使用できない場合のみ、自在スパナを使用します。六角ボルトの頭部がつぶれるため、このタスクにはパイプ レンチまたはモンキー レンチを使用しないでください。
ステップ 3 SFP モジュールを SFP ポートに挿入し、正しく固定されていることを確認します。
ステップ 4 ケーブル グランドのナット(ケーブル グランドの丸い先端)を反時計回りに回して緩めますが、取り外さないでください。
ステップ 5 光ファイバ ケーブルをその未終端の側からケーブル グランドに通します。図 2-39 および図 2-40 を参照してください。
グランドが SC または LC 光ファイバ コネクタの近くに来るまでケーブルをグランドを通して這わせます。このとき、ケーブル グランドのナットは緩めたままにしておく必要があります。
(注
) SC または LC 光ファイバ コネクタは、ケーブル グランドを通すには大きすぎます。そのため、ケーブルは未終端の側からグランドを通して這わせる必要があります(ケーブルがかなり長い場合でも)。
ステップ 6 ケーブルの SC または LC 光ファイバ コネクタ側を SFP モジュール アダプタに挿入します。まだ、ケーブル グランドをアダプタに取り付けないでください。図 2-41 を参照してください。
ステップ 7 SC または LC 光ファイバ コネクタを SFP モジュールに挿入し、それが固定されていることを確認します。図 2-41 を参照してください。
ステップ 8 アダプタの管用ネジの周りに封止剤を加えるかテープを貼ってから、それを AP シャーシに取り付けます。
ステップ 9 ケーブル グランド ナットを緩めたまま、ケーブル グランドのネジ側を SFP モジュール アダプタに慎重に差し込んで、手で締め付けます。調整レンチを使用して、ケーブル グランドのネジ側を 6 ~ 7 lb.ft(8.1 ~ 9.5 Nm)まで締め付けます。
ステップ 10 光ファイバ ケーブルの周りにしっかり固定されるまでケーブル グランド ナットを締め付けます。調整レンチまたはスパナを使用して、2.7 ~ 3.2 lb.ft(3.66 ~ 4.34 Nm)まで締め付けます。
|
|
|
|
|
|
図 2-41 AP に接続された光ファイバ ケーブルの分解図
|
|
|
||
|
|
|
コントローラへの有線イーサネット、光ファイバ、またはケーブル ネットワークに接続していない AP に電源を投入すると、そのアクセス ポイントは、Cisco Adaptive Wireless Path Protocol(AWPP)を使用してコントローラへの有線ネットワークに接続されているルート アクセス ポート(RAP)への最適なパスを持つ、別のメッシュ アクセス ポイントにバインドします。アクセス ポイント は、電源が投入されると検出要求を送信します。コントローラの アクセス ポイント が適切に設定されている場合は、コントローラからアクセス ポイントに検出応答が返されます。これが行われた場合、アクセス ポイント は接続要求をコントローラに送信し、コントローラは接続確認応答を返します。次に、アクセス ポイントは、コントローラへの Control And Provisioning of Wireless Access Points(CAPWAP)接続を確立し、コントローラで設定された共有秘密キーを取得します。