この製品のマニュアルセットは、偏向のない言語を使用するように配慮されています。このマニュアルセットでの偏向のない言語とは、年齢、障害、性別、人種的アイデンティティ、民族的アイデンティティ、性的指向、社会経済的地位、およびインターセクショナリティに基づく差別を意味しない言語として定義されています。製品ソフトウェアのユーザーインターフェイスにハードコードされている言語、RFP のドキュメントに基づいて使用されている言語、または参照されているサードパーティ製品で使用されている言語によりドキュメントに例外が存在する場合があります。シスコのインクルーシブランゲージに対する取り組みの詳細は、こちらをご覧ください。
このドキュメントは、米国シスコ発行ドキュメントの参考和訳です。リンク情報につきましては、日本語版掲載時点で、英語版にアップデートがあり、リンク先のページが移動/変更されている場合がありますことをご了承ください。あくまでも参考和訳となりますので、正式な内容については米国サイトのドキュメントを参照ください。
このマニュアルでは、Cisco 4000 シリーズ サービス統合型ルータ(ISR)に内部モジュールおよび現場交換可能ユニット(FRU)を装着およびアップグレードする方法について説明します。装着とアップグレードについての情報は、次の項にあります。
内部コンポーネントの設置および交換の手順については、“サポートされるモジュール” sectionを参照してください。
警告
設置手順を読んでから、システムを電源に接続してください。ステートメント 1004
警告
この装置の設置、交換、または保守は、訓練を受けた相応の資格のある人が行ってください。ステートメント 1030
警告
この装置の設置および保守は、保守担当者(AS/NZS 3260 で定義)が行ってください。この装置を誤って汎用コンセントに接続すると危険な場合があります。主電源コネクタの電源を抜く前、ハウジングが開いている間、または主電源コネクタの電源を抜く前でハウジングが開いている間に、通信回線を切断する必要があります。ステートメント 1043
警告
オン/オフ スイッチのあるシステムで作業をするときは、事前に電源をオフにし、電源コードを取り外してください。ステートメント 1
警告
この装置には複数の電源装置接続が存在する場合があります。すべての接続を取り外し、装置の電源を遮断する必要があります。ステートメント 1028
警告
この装置は、アースさせる必要があります。絶対にアース導体を破損させたり、アース線が正しく取り付けられていない装置を稼働させたりしないでください。アースが適切かどうかはっきりしない場合には、電気検査機関または電気技術者に確認してください。ステートメント 1024
警告
ユニットの電源がオフかオンかに関係なく、WAN ポートには危険なネットワーク間電圧があります。感電を防ぐため、WAN ポートの近くで作業するときは注意してください。ケーブルの接続を外すときは、ユニット側ではない方から先に取り外してください。ステートメント 1026
警告
TNV に接触しないように、シャーシを開く前に電話線を取り外してください。ステートメント 1041
警告
電力系統に接続された装置で作業する場合は、事前に、指輪、ネックレス、腕時計などの装身具を外してください。金属は電源やアースに接触すると、過熱して重度のやけどを引き起こしたり、金属類が端子に焼き付いたりすることがあります。ステートメント 43
警告
バスタブ、洗面台、台所のシンク、洗濯機の周辺や、湿度の高い地下室、スイミング プールの近くなど、水のある場所の近くでは、この製品を使用しないでください。ステートメント 1035
警告
防水設計されていない電話ジャックは、湿気の多い場所に取り付けないでください。ステートメント 1036
警告
電話回線がネットワーク インターフェイスから切り離されている場合以外、絶縁されていない電話ケーブルや端子には、触れないでください。ステートメント 1037
警告
雷雨時には電話(コードレス型を除く)を使用しないでください。雷によって感電する危険性があります。ステートメント 1038
警告
ガス漏れを報告するには、ガス漏れの近くで電話を使用しないでください。ステートメント 1039
警告
バッテリが適正に交換されなかった場合、爆発の危険があります。交換用バッテリは元のバッテリと同じものか、製造元が推奨する同等のタイプのものを使用してください。使用済みのバッテリは、製造元の指示に従って廃棄してください。ステートメント 1015
警告
ブランクの前面プレートおよびカバー パネルには、3 つの重要な機能があります。シャーシ内の危険な電圧および電流による感電を防ぐこと、他の装置への電磁干渉(EMI)の影響を防ぐこと、およびシャーシ内の冷気の流れを適切な状態に保つことです。システムは、必ずすべてのカード、前面プレート、前面カバー、および背面カバーを正しく取り付けた状態で運用してください。ステートメント 1029
警告
装置が設置されている建物の外部に接続する場合は、認定された回線保護機能内蔵のネットワーク終端装置を介してポートを接続してください。
T1 SFP ステートメント 1044
ルータでサポートされているモジュールを 表 6-1 に示します。
ルータの内部モジュールにアクセスするには、最初にシャーシ カバーを取り外す必要があります。ルータのシャーシ カバーを取り外して交換する手順については、シャーシ カバーの付け直しを参照してください。
Cisco 4000 シリーズ ISR には着脱式のカバーがあります。
警告
TNV に接触しないように、シャーシを開く前に電話線を取り外してください。ステートメント 1041
(注
) 次の作業には、No.2 プラス ドライバを使用します。
手順 1 モジュールの交換の前に、“安全上の警告” sectionを熟読し、電源を切断します。
手順 2 ルータの電源がオフで、電源から外されていることを確認します。冗長電源を使用している場合、冗長電源の接続を外します。
手順 4 ルータ カバーの背面にある 3 個のカバーのネジを外します。図 6-1 を参照してください。
手順 6 シャーシの前面(ベゼル)の端に沿ってカバーを手前に引き、スロットを開けます。図 6-1 を参照してください。
手順 1 モジュールの交換の前に、安全上の警告を熟読し、電源を切断します。
手順 2 ルータの電源がオフで、電源から外されていることを確認します。冗長電源を使用している場合、冗長電源の接続を外します。
手順 4 カバーを 45 度の角度で持ち、シャーシの前面(ベゼル)の端に沿って、カバーのタブをスロットに挿入します。図 6-1 を参照してください。
手順 5 シャーシの中央に合わせてカバーを持ち、シャーシに降ろします。
図 6-1 ルータへのカバーの装着(Cisco ISR 4451-Xを示しています)
|
|
図 6-2 に、ルータのマザー ボードでの内部モジュールの位置を示します。内部モジュールには、Cisco ISR 4451-X の DIMM、PVDM4、および PoE ドーター カードなどがあります。図 6-25 に、Integrated Services Card(ISC)スロットを含む使用可能なスロットの位置を示します。
図 6-2 Cisco ISR 4451-X のモジュールの位置
|
|
|
||
|
|
|
||
|
|
|
||
|
|
|
図 6-3 は、すべてのパーツとモジュールの位置を含む Cisco ISR 4351 シャーシの内観を示しています。
図 6-3 Cisco ISR 4351 シャーシ内のモジュールの位置
|
|
|
||
|
|
|
||
|
|
|
||
|
|
|
||
|
|
|
図 6-4 に、Cisco 4331 ISR ルータのマザー ボードでの内部モジュールの位置を示します。内部モジュールには、Cisco 4331 ISR の DIMM、PVDM4、および PoE ドーター カードなどがあります。図 6-26 に、Integrated Services Card(ISC)スロットを含む使用可能なスロットの位置を示します。
図 6-4 は、Cisco 4331 ISR のシャーシの内観(パーツとモジュールの位置を含む)を示しています。
図 6-4 Cisco 4331 ISR シャーシのモジュールの位置
|
|
|
||
|
|
|
||
|
|
|
||
|
|
SM-X スロット1 |
|
|
|
|
|
||
|
|
|
|
1.Gi0/0 は、銅線または光ファイバのいずれかとして設定できます。Gi0/1 は銅線/RJ45、Gi0/2 は光ファイバ/SFP です。 |
ここでは、NIM-SSD と NIM-SSD を取り外して交換する方法について説明します。ここでは、次の項目について説明します。
ソリッド ステート ドライブ(SSD)キャリア カード ネットワーク インターフェイス モジュール(NIM)により、プラットフォーム NIM スロットで SSD がサポートされます。プラットフォームにフラッシュ ストレージを提供し、デュアル 2.5"(最大 7 mm)SATA SSD をサポートします。キャリア カードはルータの NIM のスロットに装着可能です。ルータは、SSD キャリア カード NIM を 1 枚のみサポートします。
(注
) SSD キャリア カード NIM の設定については、『Software Configuration Guide for the Cisco 4000 シリーズ ISR』の「Network Interface Modules」を参照してください。
SSD キャリア カード NIM(図 6-5)の機能は次のとおりです。
図 6-5 に、SSD NIM の前面パネルを示します。
表 6-2 では、図 6-5 で示されている NIM-SSD の LED を説明しています。
|
|
|
|
|
|---|---|---|---|
図 6-6 は、SSD キャリア カード NIM の背面図です。こちら側をルータに装着します。
表 6-3 に SSD キャリア カード NIM の仕様を示します。
|
|
|
|---|---|
|
|
|
|
|
|
|
|
|
(注 |
|
|
|
|
図 6-7 は、シリアル番号とラベルの位置が付いた SSD キャリア カード NIM の上部を示しています。
図 6-7 シリアル ナンバーの付いた SSD キャリア カード NIM の上面図
ルータには、内部フラッシュ ディスクの形式で不揮発性ストレージを提供するソリッド ステート ドライブ(SSD)が 2 台含まれています。ルータの前面パネルの SSD LED は、ハード ドライブの動作を示します。
SSD キャリア カード NIM は、SFF 2.5" SATA2 または SATA3(7 mm 以下)SSD をサポートします。
図 6-8 は、NIM キャリア カードに挿入可能な SSD ドライブの上面図を示しています。図 6-9 は、SSD を 2 台搭載した NIM キャリア カードです。
図 6-9 2 台のソリッド ステート ドライブ搭載の NIM-SSD
キャリア NIM に 1 台または 2 台の SSD ドライブを挿入する手順は、次のとおりです。
装着前に、NIM-SSD カードの電源をオフにする必要があります。電源をオフにするには EXEC モードで hw-module subslot slot / subslot stop コマンドを使用します。
手順 1 NIM-SSD で、SSD カード スロット カバーを留めてある非脱落型ネジを緩めます(図 6-10)。
|
|
手順 2 SSD カード スロット カバーを開き、図 6-11 のように SSD を入れるスロットを露出します。
|
|
手順 4 SSD は、コネクタ側を下に、シリアル番号側を上にして、コネクタの端から挿入します(図 6-8)。
手順 5 2 台目の SSD がある場合は、図 6-9 のように上のスロットに挿入します。
手順 6 SSD の上から、SSD カード スロット カバーを閉めます。
手順 7 SSD のカード スロット カバーの非脱落型ネジを締めます。
NIM キャリアからの SSD カードを取り出す手順は、次のとおりです。
(注
) 取り外す前に、NIM-SSD カードの電源をオフにする必要があります。電源をオフにするには EXEC モードで hw-module subslot slot / subslot stop コマンドを使用します。
手順 1 NIM-SSD で、NIM-SSD スロット カバーを留めている非脱落型ネジを緩めます。
手順 2 SSD カード スロット カバーを開き、SSD が入っているスロットを露出します。
手順 3 SSD を 1 つずつ取り出すには、図 6-12 のように、各 SSD の前面にある 2 つのタブを引き出します。
手順 4 SSD の上から、SSD カード スロット カバーを閉めます。
手順 5 SSD のカード スロット カバーの非脱落型ネジを締めます。
|
|
NIM-SSD をルータ NIM スロットに挿入する場合、またはスロットから取り外す場合には、この章の“Cisco NIM-SSD または NIM-HDD の取り外しと交換”を参照してください。
NIM-HDD は、Cisco ISR 4400 および Cisco ISR 4300 ルータのハードディスク ドライブ(HDD)接続をサポートするために使われるネットワーク インターフェイス モジュールです。
(注
) 電源が SSD/HDD コネクタから供給されているときに、ドライブを挿入/取り外しできます。
(注
) アクティブな読み取り/書き込み操作中のドライブの取り外しはサポートされていません。NIM-HDD を交換する前には、ドライブがシャットダウンしていることを必ず確認してください。
図 6-15 に示した NIM シャーシに挿入可能な HDD カードを 図 6-14 に示します。図 6-16 に、Cisco NIM-HDD 全体を示します。
表 6-4 に、NIM-HDD の LED の説明を示します。
|
|
|
|
|---|---|---|
ここでは NIM-SSD または NIM-HDD をルータ シャーシから取り外し、新しい外部 NIM-SSD または NIM-HDD に交換する方法を説明します。
NIM を非アクティブ化してから再度アクティブ化するには、『Software Configuration Guide for the Cisco 4400 and Cisco 4300 Series ISRs』の「 Deactivating and Reactivating a SSD Carrier Card NIM 」を参照してください。
警告
作業中は、カードの静電破壊を防ぐため、必ず静電気防止用リスト ストラップを着用してください。感電する危険があるので、手や金属工具がバックプレーンに直接触れないようにしてください。ステートメント 94
–
request platform hardware filesystem harddisk: offline
–
SSD ドライブがルータにインストールされている場合に確認するには、show platform コマンドを使用します。ISR4451-X プラットフォームに装着された NIM SSD に関するサンプル出力例を次に示します。
手順 1 アクセサリ キットに含まれている静電気防止用リスト ストラップの一端を手首に付けます。Cisco ISR 4451-X の入出力(I/O)側の右側の SSD スロットにあるネジ留め具(11)を緩めます。(図 6-17)。
図 6-17 ルータからの NIM-SSD または NIM-HDD の取り外し
|
|
手順 2 プラス ドライバを使用して、図 6-17 に示すように両側の非脱落型ネジを緩めます。
図 6-18 ルータからの NIM-SSD または NIM-HDD の取り外し
|
|
手順 3 2 本の非脱落型ネジを持ち、図 6-18 に示すように NIM ユニット全体をスライドさせます。
ルータで NIM-SSD または NIM-HDD を交換する手順は、次のとおりです。
手順 1 ルータ本体に NIM-SSD キャリア カードの位置を合わせます。
手順 2 2 本の手で、Cisco ISR 4451-X のスロットにスライドして戻します。
手順 3 図 6-18 のように、非脱落型ネジを締めます。
DIMM にアクセスするには、“サポートされるモジュール” sectionの説明に従ってシャーシ カバーを取り外します。
ルータの DIMM コネクタの位置については、“Cisco 4451 ISR 上のモジュールの、内部スロットおよび外部スロットの位置の確認” sectionを参照してください。
DIMM 挿入側には、挿入方向を間違えないように方向ノッチがあります。図 6-19 に、DIMM の方向ノッチを示します。
|
|
手順 1 モジュールの交換の前に、“安全上の警告” sectionの項を熟読し、電源を切断します。
手順 2 シャーシ カバーを取り外します。を参照してください“シャーシ カバーの付け直し” section。
手順 3 DIMM モジュールの位置を確認します。ルータの DIMM ソケットの位置については、“Cisco 4451 ISR 上のモジュールの、内部スロットおよび外部スロットの位置の確認” sectionを参照してください。
|
|
手順 4 DIMM から両端のラッチを引いて外し、DIMM を少し持ち上げます。図 6-20 のようにソケットから DIMM を引き出します。
手順 5 静電気防止用袋に DIMM を入れ、静電破壊から保護します。
手順 6 シャーシ カバーを元に戻します。“シャーシ カバーの付け直し” sectionを参照してください。
(注
) Cisco ISR 4400 シリーズおよび Cisco ISR 4300 シリーズ の DIMM は交換可能ではありません。
手順 1 モジュールの交換の前に、“安全上の警告” sectionの項を熟読し、電源を切断します。
手順 2 シャーシ カバーを取り外します。Cisco ISR 4451-X については、“シャーシ カバーの付け直し” sectionを参照してください。
手順 3 DIMM モジュールの位置を確認します。ルータの DIMM ソケットの位置については、“Cisco 4451 ISR 上のモジュールの、内部スロットおよび外部スロットの位置の確認” sectionを参照してください。
手順 4 DIMM コネクタの両方のラッチが開いていることを確認します。
手順 5 方向ノッチがコネクタの方向キーに合うように DIMM の向きをそろえます。図 6-21 を参照してください。
手順 6 コネクタに DIMM を片方ずつ挿入します。図 6-22 は、DIMM の取り扱いの際に、してはいけないことを示しています。
手順 7 ラッチが DIMM にはまるまで、DIMM をコネクタに慎重に押し込みます。両方のラッチが DIMM に対して閉じる位置に回転していることを確認します。図 6-23 を参照してください。
手順 8 シャーシ カバーを元に戻します。“シャーシ カバーの付け直し” sectionを参照してください。
ネットワーク インターフェイス モジュール(NIM)、サービス モジュール(SM-X)、シスコの E シリーズ サーバ モジュールは、マザーボードのさまざまなスロットにプラグイン可能です。SM-X はスペア部品として販売され、SM-X タイプを識別するラベルが付いています。SM-X の取り付け作業については、次の項を参照してください。
(注
) この項の手順は、NIM、SM-X、シスコ E シリーズ サーバ モジュールに適用されます。
SM-X を使用するには、指定以降のリリースの Cisco IOS XE ソフトウェアが必要です。
ルータで実行されている Cisco IOS ソフトウェアのバージョンを判断するには、ルータにログインし、 show version コマンドを入力します。
マザーボード上の SM-X または NIM のスロットの位置については、“Cisco 4451 ISR 上のモジュールの、内部スロットおよび外部スロットの位置の確認” sectionを参照してください。
手順 1 モジュールの交換の前に、“安全上の警告” sectionを熟読し、電源を切断します。
手順 2 SM-X スロットにアクセスします。さまざまな NIM および SM-X スロットの位置については、図 6-2 を参照してください。
手順 3 非脱落型ネジを緩めてスロット カバーを開きます。図 6-10 および図 6-11 を参照してください。
手順 4 マザーボードのコネクタから SM-X を引き出します。スロットと絶縁体ポストの破損を防ぐために、SM-X とマザーボードを平行に保ちます。
手順 5 静電気防止用袋に SM-X を入れ、静電破壊から保護します。
SM-X を装着するには、No. 2 のプラス ドライバまたはマイナス ドライバ、および 1/4 インチのナット ドライバまたはレンチを使用します。
手順 1 モジュールの交換の前に、“安全上の警告” sectionを熟読し、電源を切断します。
手順 2 SM-X を挿入する SM-X スロットを確認します。
手順 3 非脱落型ネジを緩めてスロット カバーを開きます。図 6-10 および図 6-11 を参照してください。
(注
) ボードがコネクタに装着されるまで、SM-X をしっかりと押し込みます。
手順 5 SM-X を通してアクセサリ キットのネジを絶縁体に挿入します。図 6-27 を参照してください。0.7 ~ 1.1 N-m(6 ~ 8 インチ ポンド)のトルクで、プラス ドライバを使用してネジを慎重に締めます。
手順 6 SM-X がシステム ボードに正しく装着されたことを確認します。
(注
) SM-X、NIM、シスコ E シリーズ サーバ モジュールの装着の詳細については、購入したモジュールのハードウェア設置ガイドを参照してください。
ルータでサポートされるすべての SM-X および NIM に関するリンクの一覧については、Documentation Roadmap for the Cisco 4000 シリーズ ISR を参照してください。
SM-X が正しく装着されたことを確認するには、show diag コマンドを使用します。次の例では、1 つの SM-X がシステムで認識されています。
ここでは、ルータで使用する PVDM4 の取り付け作業について説明します。この項は、次のサブセクションから構成されています。
PVDM4 コネクタがマザーボードにあります。図 6-24 は、PVDM4、ネジ、コネクタを示しています。PVDM4 のコネクタが、マザーボードの対応するコネクタと一致する必要があります。
手順 1 モジュールの交換の前に、“安全上の警告” sectionを熟読し、電源を切断します。
手順 2 ルータへの電源をオフにします。電源コードを差し込んだまま、ESD 電圧をアースします。
手順 4 ルータのメイン マザーボードの ISC スロットを見つけます。
手順 5 マザーボードで 3 個の絶縁ポストの位置を確認します。図 6-25 を参照してください。
手順 6 PVDM4 をシステム ボード上の ISC スロットに挿入します。
(注
) ボードがコネクタに装着されるまで、PVDM4 をしっかりと押し込みます。
手順 7 PVDM4 を通してアクセサリ キットのネジを絶縁体に挿入します。6 ~ 8 インチ ポンド(0.7 ~ 1.1 N-m)のトルクで、プラス ドライバを使用してネジを慎重に締めます。
手順 8 PVDM4 がシステム ボードに正しく装着されたことを確認します。
|
|
|
|
手順 1 ルータへの電源をオフにします。電源コードを差し込んだまま、ESD 電圧をアースします。
手順 3 マザーボードの PVDM4 の位置を確認します。図 6-25 を参照してください。
図 6-25 Cisco ISR 4451-X での PVDM4 の位置
|
|
|
||
|
|
|
手順 4 PVDM4 の 3 本のネジを緩め、取り外します。
手順 1 モジュールの交換の前に、“安全上の警告” sectionを熟読し、電源を切断します。
手順 2 ルータへの電源をオフにします。電源コードを差し込んだまま、ESD 電圧をアースします。
手順 4 ルータのメイン マザーボードの ISC スロットを見つけます。
手順 5 マザーボードで 3 個の絶縁ポストの位置を確認します。図 6-26 を参照してください。
手順 6 PVDM4 をシステム ボード上の ISC スロットに挿入します。
(注
) ボードがコネクタに装着されるまで、PVDM4 をしっかりと押し込みます。
手順 7 PVDM4 を通してアクセサリ キットのネジを絶縁体に挿入します。6 ~ 8 インチ ポンド(0.7 ~ 1.1 N-m)のトルクで、プラス ドライバを使用してネジを慎重に締めます。
手順 8 PVDM4 がシステム ボードに正しく装着されたことを確認します。
|
|
|
|
手順 1 ルータへの電源をオフにします。電源コードを差し込んだまま、ESD 電圧をアースします。
手順 3 マザーボードの PVDM4 の位置を確認します。図 6-26 を参照してください。
図 6-26 Cisco 4331 ISR の PVDM4 の位置
|
|
|
||
|
|
|
手順 4 PVDM4 の 3 本のネジを緩め、取り外します。
手順 1 ルータの電源をオフにするか、活性挿抜(OIR)コマンドを発行して、ルータのスロットへの電力をシャット ダウンします。電源コードを差し込んだまま、ESD 電圧をアースします。OIR の詳細については、付録『活性挿抜(OIR)およびホット スワップ』を参照してください。
手順 2 ネットワーク インターフェイス モジュールの 2 本の非脱落型ネジを緩めます。
手順 3 ネットワーク インターフェイス モジュールを取り外します。(図 6-27 を参照)。
図 6-27 PVDM4 搭載ネットワーク インターフェイス モジュール
|
|
手順 4 PVDM4 があるネットワーク インターフェイス モジュールの 3 個の絶縁ポストの位置を確認します。
手順 5 PVDM4 をコネクタおよび絶縁ポストの位置に合わせ、3 本のネジで PVDM4 を留めます。
手順 6 ネットワーク インターフェイス モジュールをルータに挿入し、非脱落型ネジを締めます。
手順 1 ルータの電源をオフにするか、活性挿抜(OIR)停止コマンドを発行して、ルータのスロットへの電力をシャット ダウンします。電源コードを差し込んだまま、ESD 電圧をアースします。OIR の詳細については、“OIR 手順” sectionを参照してください。
手順 2 ネットワーク インターフェイス モジュールの 2 本の非脱落型ネジを緩めます。
手順 3 PVDM4 を搭載したネットワーク インターフェイス モジュールを取り外します。(図 6-27 を参照)。
手順 4 PVDM4 の 3 本のネジと絶縁ポストを緩めます。
手順 5 ネットワーク インターフェイス モジュールから PVDM4 を持ち上げます。
手順 7 ネットワーク モジュールをただちに交換しない場合は、空のネットワーク モジュール スロットにブランク カバーを装着します。
手順 8 ネットワーク インターフェイス モジュールをルータに挿入し、非脱落型ネジを締めます。
Cisco 4000 シリーズ ISR には、構成または Cisco IOS XE 統合パッケージを保存するための1GB フラッシュ トークン メモリ スティック用のポートがあります。
(注
) シスコのルータは Cisco USB フラッシュ メモリ モジュールだけをサポートしています。
ルータから USB フラッシュ トークン メモリ スティックを取り外して交換する手順は、次のとおりです。
手順 1 USB ポートからメモリ スティックを引き抜きます。
手順 2 Cisco USB フラッシュ メモリ スティックを取り付けるには、図 6-28 に示すように、そのモジュールを USB ポート 0 または USB ポート 1 に差し込みます。フラッシュ メモリ モジュールは決まった方向にだけ差し込むことができます。また、ルータの電源が入っているかどうかに関係なく、いつでも取り付けや取り外しが可能です。
(注
) 図 6-28 は、メモリ スティックをポートに挿入する方法の一例にすぎません。実際のルータ前面プレートは示されていません。
図 6-28 ルータ フラッシュ トークン メモリ スティック
(注
) メモリ スティックの挿入または取り外しは、ルータの電源がオンでもオフでも行うことができます。
一部のルータには、交換可能な電源が装備されています。これらのモジュラ電源は、取り外しまたは装着がドライバを使用するだけでできます。
警告
ブランクの前面プレートおよびカバー パネルには、3 つの重要な機能があります。シャーシ内の危険な電圧および電流による感電を防ぐこと、他の装置への電磁干渉(EMI)の影響を防ぐこと、およびシャーシ内の冷気の流れを適切な状態に保つことです。システムは、必ずすべてのカード、前面プレート、前面カバー、および背面カバーを正しく取り付けた状態で運用してください。ステートメント 1029
警告
この装置には複数の電源装置接続が存在する場合があります。すべての接続を取り外し、装置の電源を遮断する必要があります。ステートメント 1028
警告
電源と電源インバーターを取り外す際には(特にブースト モードで動作している場合は)、注意が必要です。総消費電力が、1 台の電源だけで供給可能な電力を超えている場合、この状態で電源を取り外すとハードウェアが損傷する可能性があります。その結果、システムが不安定になったり使用できない状態になることがあります。
すべての電源には、簡単に取り外しと交換を行うことができる同じモジュラ フォーム ファクタがあり、ケーブル配線はありません。
|
|
|
||
|
|
|
||
|
|
|
1. |
|
手順 1 モジュールの交換の前に、“安全上の警告” sectionの項を熟読し、電源を切断します。
手順 2 ルータのベゼルを取り外します。ベゼルはスナップ ラッチで固定されています。ベゼルを取り外すには、上と下を持ってベゼルを引き出します。
手順 3 電源のサイドの簡易着脱留め金を引っ張り、てこのようにコネクタから外し、スライドさせてシャーシから取り出します。
|
|
|
||
|
|
|
||
|
|
|
DC 電源は、Cisco 4451-X ISR、Cisco 4431 ISR、Cisco ISR 4351 でのみサポートされています。
Cisco 4431 ISR では、入力コネクタとプラグは、フィールド配線対応 UL 486 で認識された UL である必要があります。接続の極性は左から右に負(-)、正(+)、アースです。
Cisco 4451-X ISR および Cisco 4351 ISR では、入力コネクタとプラグは、フィールド配線対応 UL 486 で認識された UL である必要があります。接続の極性は左から右に、アース、負(-)、正(+)です。
電源には、挿抜に使用するハンドルがあります。モジュールは、その長さからいって片手で支える必要があります。
Cisco 4431 ISR では、電源の DC 入力の範囲は – 48 ~ – 60 VDC で、最大出力は 350 W です。
Cisco 4451-X ISR および Cisco 4351 ISR では、電源の DC 入力の範囲は – 48 ~ – 60 VDC で、最大出力は 437 W です。
|
|
|
||
|
|
|
(注
) ルータは、ホットスワップ可能な冗長電源を備えています。
ここでは、Cisco 4431 ISR から DC 電源を取り外す方法について説明します。
Cisco 4431 ISR から DC 電源モジュールを取り外す手順は、次のとおりです。
手順 1 冗長電源がある場合は、電源スイッチがスタンバイの位置にあることを確認します。
(注
) 1 つの電源モジュールをホット スワップする場合は、電源スイッチをスタンバイの位置にする必要はありません。
手順 2 Cisco 4431 ISR では、電源装置の 2 つの端子ブロック配線コネクタ(マイナスとプラス)を緩めます。を参照してください。図 6-35 を参照してください。ISR4451-X および ISR4351:Cisco 4451 ISR と Cisco 4351 では、電源装置の 3 つの端子ブロック配線コネクタ(アース、マイナス、プラス)を緩めます。
手順 3 ルータからプラスチック ベゼルを取り外します。Cisco 4451-X ISR と Cisco 4351 ISR の場合は、このステップを省略できます。
手順 4 引き出しハンドルの方へ固定ラッチを押し、ハンドルを片手で握り、電源モジュールの重さをもう一方の手で支えながら、電源モジュールをスロットから引き出します。図 6-32 を参照してください。
|
|
|
警告
次の手順を実行する前に、DC 回路に電気が流れていないことを確認してください。ステートメント 1003
警告
この装置の設置、交換、または保守は、訓練を受けた相応の資格のある人が行ってください。ステートメント 1030
ここでは、DC 電源の入力電源の導線を Cisco 4431 ISR ルータの DC 入力電源に装着する方法について説明します。作業を始める前に、次の重要事項に留意してください。
Cisco 4431 ISRDC 電源では、電源の端末ブロック ヘッダーに端末ブロックが装着されています。
手順 1 冗長電源がある場合は、電源スイッチがスタンバイの位置にあることを確認します。
(注
) 1 つの電源モジュールをホット スワップする場合は、電源スイッチをスタンバイの位置にする必要はありません。
手順 2 電源モジュールを電源モジュール スロットに差し込み、スロットの奥にゆっくり押し込みます。正しく設置されている場合:
手順 3 導線の被覆を剥がして電源の端子ブロックで直接終端処理するか、または圧着式 Y 型ラグ端子を使用できます。ラグ端子を使用する場合は、製造元の手順に従って、導線でラグを終端処理してください。裸線を使って端末ブロックで直接終端処理する場合は、以下の手順に従います。ワイヤストリッパを使用して、DC 入力電源からの 2 本の導線の被膜を約 10 mm(0.39 インチ)+ 0.5 mm(0.02 インチ)取り除きます。14 AWG 絶縁線を使用することを推奨します。端子ブロックから導線が露出されたままになる可能性があるので、推奨されている長さ以上に被覆を剥がさないでください。図 6-33 に、被覆を剥がした DC 入力電源線を示します。
|
|
警告
DC 入力電源に接続された導線が露出していると、感電の危険性があります。DC 入力電源線の露出部分が端子ブロックからはみ出ていないことを確認してください。ステートメント 122
手順 4 端子ブロックを接続するプラスとマイナスの給電位置を特定します。配線順序は次のとおりです。
手順 5 ルータのベゼルを取り外します。図 6-34 を参照してください。ベゼルはスナップ ラッチで固定されています。ベゼルを取り外すには、上と下を持ってベゼルを引き出します。
|
|
|
手順 6 ベゼルの穴に導線を通します。ベゼルを取り付けます。
手順 7 露出した導線を端子ブロックに挿入します。プラスティック カバーの外側に導線が伸びていないことを確認します。端子ブロックから伸びる導線部分は、絶縁体で覆われている必要があります。
手順 8 ドライバを使用して、図 6-35 に示すように端子ブロックの非脱落型ネジを締めます。
|
|
|
手順 9 必要に応じて、残りの DC 入力電源の導線についてこの手順を繰り返します。
手順 10 タイ ラップを使用してラックに導線を固定し、少し導線に接触しても導線が端子ブロックから引っ張られないようにします。
手順 12 手順 1 でスタンバイ スイッチをスタンバイ位置に変更した場合は、スタンバイ スイッチをオンの位置にします。
Cisco 4331 ルータの電源モジュールを交換するには、次の手順を実行します。
手順 1 電源モジュールの交換を行う前に、“安全上の警告” sectionセクションを読んでシステムの電源を切ります。
手順 2 シャーシの上部から 4 個のカバー ネジを外します。
手順 3 2 個のネジをシャーシ カバーの両側から取り外し、ルータのシャーシからカバーを持ち上げます。図 6-42 を参照してください。
手順 4 ファン トレイを取り外します。“Cisco 4331 ISR でのファン トレイ交換” sectionの手順に従ってください。
手順 5 電源のケーブル コネクタを取り外します。図 6-36 を参照してください。
手順 6 電源モジュールをシャーシに固定している 2 個のネジを外します。
手順 7 電源タブを使用して、シャーシから電源モジュールを引き抜きます。図 6-36 を参照してください。
手順 8 交換用電源モジュールを挿入し、電源モジュールをスロットに合わせます。
手順 9 電源モジュールをシャーシに固定している 2 個のネジ(トルク 6 ~ 9 インチ ポンド)を締めます。図 6-36 を参照してください。
手順 11 ファン トレイを挿入し、スプリング ロックの留め具が引っかかるまでゆっくりと押し下げ、スロットに完全に装着します。“Cisco 4331 ISR でのファン トレイ交換” sectionの手順に従ってください。
手順 12 マザーボードのファン コネクタを接続します。図 6-43 を参照してください。
手順 13 システムの電源をオンにして、電源モジュールが正常に機能していることを確認します。
手順 14 シャーシのカバーを装着する前に、システムの電源をオフにします。
手順 15 シャーシの中央に合わせてカバーを持ち、シャーシに降ろします。
手順 16 シャーシ上部に 4 個のカバー ネジ(トルク 5 ~ 6 インチ ポンド)を取り付け、シャーシの両側に 2 個のカバーネジ(トルク 5 ~ 6 インチ ポンド)を取り付けます。図 6-42 を参照してください。
|
|
|
||
|
|
|
PoE コンバータ電源は、活性状態での挿入をサポートしています。PoE コンバータ電源は、活性状態での取り外しをサポートしていません。
オプションの PoE コンバータ PSU スロットには、出荷時にフィラーが取り付けられています。PoE コンバータ電源を装着するには、フィラーを取り外す必要があります。
(注
) PoE コンバータ電源を 1 台だけ使用する場合は、PoE コンバータ電源を PoE スロット 0 に装着する必要があります。
図 6-37 に、ベゼルおよびファン トレイの背後にある PoE コンバータ電源スロットの位置を示します。
図 6-37 ベゼルおよびファン トレイの取り外しと PoE スロットの位置の確認
|
|
|
||
|
|
|
手順 2 シャーシの固定ナットからネジを緩めます。詳細については、図 6-38 を参照してください。
手順 3 シャーシのフィラー タブからフィラーをゆっくりと引き出します。
|
|
|
||
|
|
|
||
|
|
|
手順 1 ルータ シャーシからベゼルとファン トレイを取り外します。ファン トレイの交換を参照してください。
手順 2 PoE コンバータ電源フィラーを取り外します。手順については、“PoE 電源スロット フィラーの取り外し”を参照してください。
手順 3 PoE コンバータ電源モジュールを挿入する前に、スロット ラッチを開きます。
手順 5 モジュールのネジを締め、ルータ シャーシにモジュールを固定します。詳細については、図 6-39 を参照してください。
手順 1 ルータ シャーシからベゼルとファン トレイを取り外します。
スロット ラッチを開きます。詳細については、図 6-39 を参照してください。
手順 3 PoE コンバータ電源フィラーを交換します。詳細については、“PoE 電源スロット フィラーの取り外し”を参照してください。
スロットを空のままにしておくことはできません。フィラーを装着する必要があります。PoE 電源スロット フィラーの装着手順は、次のとおりです。
手順 3 シャーシの固定ナットにネジを取り付けて締めます。詳細については、図 6-38 を参照してください。
|
|
|
||
|
|
|
||
|
|
|
警告
電源と電源インバーターを取り外す際には(特にブースト モードで動作している場合は)、注意が必要です。総消費電力が、1 台の電源だけで供給可能な電力を超えている場合、この状態で電源を取り外すとハードウェアが損傷する可能性があります。その結果、システムが不安定になったり使用できない状態になることがあります。
イーサネット スイッチ ネットワーク モジュールのあるルータで POE 電源をリロードまたは挿入しようとすると、次のメッセージが表示されます。
POE コンバータ電源が挿入されると、ルータでインライン電源装置が自動的に復元されます。POE 電源を挿入したら、正常に動作させるために、ルータのスイッチ モジュールのリセットが必要です。
POE 電源が 2 台ある場合は、電源はブースト モードまたはリダンダント モードで動作できます。ブースト モードでは、供給される合計電力は、2 台の電源容量の合計です。リダンダント モードでは、POE 電源の 1 台がエラーになると、もう 1 台の POE が電力を供給します。
Cisco 4000 シリーズ ISRには、現場交換可能ユニット(FRU)であるホット スワップ可能なファン トレイがあります。ファン トレイは 1 つのアセンブリにすべてのルータ ファンが含まれます。ファンに障害がある場合、マイナス ドライバまたはプラス ドライバを使用してトレイを交換します。
(注
) Cisco ISR4331 と Cisco ISR4321 には、ホットスワップ可能なファン トレイはありません。
(注
) ファン トレイをホットスワップする場合、ルータを動作温度以下に保つために、2 分以内で操作を完了することを推奨します。
手順 1 ベゼルを取り外します。ベゼルはスナップ ラッチで固定されています。ベゼルを取り外すには、上と下を持ってベゼルを引き出します。
手順 2 ファン トレイの 3 本の非脱落型ネジを完全に緩めます。
手順 4 取り付けるファン トレイを挿入し、3 本の非脱落型ネジを締めます。
|
|
|
|
|
|
手順 1 シャーシの上部から 4 個のカバー ネジを外します。
手順 2 2 個のネジをシャーシ カバーの両側から取り外し、ルータのシャーシからカバーを持ち上げます。図 6-42 を参照してください。
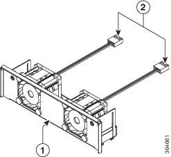
手順 3 マザーボードからファン コネクタを取り外します。図 6-43 を参照してください。
手順 4 ファン トレイ両側のスプリングロックを押し、スプリングロックを外します。
手順 5 ファン トレイを、スロットから外れるまで引き出します。図 6-42 を参照してください。
手順 6 交換用のファン トレイを挿入し、スプリング ロックの留め具が引っかかるまでゆっくりと押し下げ、スロットに完全に装着します。
手順 7 マザーボードのファン コネクタを接続します。図 6-43 を参照してください。
(注
) コネクタの極性/形状により、一方向のみに簡単に挿入できるようになっています。挿入する前に、コネクタを正しい方向に向けてください。方向が間違っていると、コネクタ ピンが損傷する可能性があります。
手順 8 システムの電源をオンにして、ファン トレイが正常に機能していることを確認します。
手順 9 シャーシのカバーを装着する前に、システムの電源をオフにします。
手順 10 シャーシの中央に合わせてカバーを持ち、シャーシに降ろします。
手順 11 シャーシ上部に 4 個のカバー ネジ(トルク 5 ~ 6 インチ ポンド)を取り付け、シャーシの両側に 2 個のカバーネジ(トルク 5 ~ 6 インチ ポンド)を取り付けます。図 6-42 を参照してください。
|
|
|
||
|
|
|
||
|
|
|
図 6-43 Cisco ISR 4331 ファン コネクタ
|
|
|
|
|
|
ここでは、ルータの CompactFlash(CF)メモリ カードの取り付けと交換について説明します。これは Cisco ISR 4451-X ルータだけに該当します。ここで説明する内容は、次のとおりです。
(注
) ルータの CompactFlash メモリ カードを交換する場合は、電源をオフにする必要があります。Cisco IOS XE ソフトウェア イメージを実行するためには、CompactFlash メモリ カードを挿入する必要があります。
CF メモリ カードは静電放電(ESD)によって破損しやすいコンポーネントです。静電破壊は、電子カードまたはコンポーネントの取り扱いが不適切な場合に発生します。ESD は故障または間欠的な障害を引き起こす可能性があります。
シャーシから CF メモリ カードを取り外す手順は、次のとおりです。
手順 1 モジュールの交換の前に、“安全上の警告” sectionの項を熟読し、電源を切断します。
手順 3 ファン トレイを取り外します。ファン トレイを取り外す手順については、“ファン トレイの交換” sectionを参照してください。
手順 4 CF のカバーを外すには、スロットにマイナス ドライバを差し入れ、テンショナに逆らって横方向に押し、カバー ドアを開けます
|
|
手順 5 CompactFlash メモリ カードの横にあるイジェクタ ボタンを押します。パネルから外れるように、イジェクタ ボタンを外側に動かします。
手順 6 もう一度イジェクタ ボタンを押します。これにより、CompactFlash メモリ カードが一部スロットからはみ出した状態になります。
手順 7 スロットから CF メモリ カードを引き出します。
手順 8 ボタンがベゼルと同じ高さになるまでイジェクタ ボタンを押します。
CompactFlash メモリ カードを取り付ける手順は、次のとおりです。
手順 1 モジュールの交換の前に、“安全上の警告” sectionを熟読し、電源を切断します。
手順 2 ファン トレイを取り外します。ファン トレイを取り外す手順については、“ファン トレイの交換” sectionを参照してください。
手順 3 ベゼルと同じ高さになるまでイジェクタ ボタンを押します。
(注
) イジェクタ ボタンがパネルから突き出ている場合、ベゼルと同じ高さになるまで押します。
手順 4 CompactFlash メモリ カードがしっかりと装着されるまでスロットに挿入します。イジェクタ ボタンはパネルと同じ高さのままです。
(注
) CompactFlash メモリ カードを挿入した後に、イジェクタ ボタンがパネルから突き出ている場合、CompactFlash メモリ カードを取り外し、カチッと音がするまでイジェクタ ボタンを押してから、CompactFlash メモリ カードを装着し直します。
手順 5 カバーのリップをシャーシに挿入してから元の位置に押し込んで、CompactFlash カバーを元に戻します。
ここでは、ルータのフラッシュ メモリ カードの取り付けと交換について説明します。ここで説明する内容は、次のとおりです。
フラッシュ メモリ カードは静電放電(ESD)によって破損しやすいコンポーネントです。静電破壊は、電子カードまたはコンポーネントの取り扱いが不適切な場合に発生することがあります。ESD は故障または間欠的な障害を引き起こす可能性があります。
フラッシュ メモリ カードを取り付ける手順は、次のとおりです。
手順 1 モジュールの交換の前に、“安全上の警告” sectionを熟読し、電源を切断します。
手順 2 シャーシ カバーを取り外します。シャーシ カバーを取り外す手順については、“シャーシ カバーの付け直し” sectionを参照してください。
手順 3 フラッシュ メモリ カード コネクタの上にフラッシュ メモリ カードを配置します(図 6-45 を参照)。
|
|
|
||
|
|
|
||
|
|
|
手順 4 付属のネジを締め(図 6-45 を参照)、フラッシュ メモリ カードを固定します。
手順 5 シャーシ カバーを元に戻します。“シャーシ カバーの付け直し” sectionを参照してください。
フラッシュ メモリ カードを取り外す手順は、次のとおりです。
手順 1 モジュールの交換の前に、“安全上の警告” sectionを熟読し、電源を切断します。
手順 2 シャーシ カバーを取り外します。シャーシ カバーを取り外す手順については、“シャーシ カバーの付け直し” sectionを参照してください。
手順 3 フラッシュ メモリ カードのネジを緩めます(図 6-45 を参照)。
手順 4 必要に応じて、新しいフラッシュ メモリ カードを取り付けます。フラッシュ メモリ カードの取り付けを参照してください。
手順 5 シャーシ カバーを元に戻します。“シャーシ カバーの付け直し” sectionを参照してください。
ここでは、Cisco ISR 4300 ルータで SSD mSATA ストレージ デバイスを取り付ける方法と交換する方法について説明します。
SSD mSATA ストレージ デバイスは静電放電(ESD)によって破損しやすいコンポーネントです。静電破壊は、電子カードまたはコンポーネントの取り扱いが不適切な場合に発生することがあります。ESD は故障または間欠的な障害を引き起こす可能性があります。
SSD mSATA ストレージ デバイスを取り付ける手順は、次のとおりです。
手順 1 モジュールの交換の前に、“安全上の警告” sectionを熟読し、電源を切断します。
手順 2 シャーシ カバーを取り外します。シャーシ カバーを取り外す手順については、“シャーシ カバーの付け直し” sectionを参照してください。
手順 3 SSD mSATA ストレージ デバイスを SSD mSATA コネクタの上に配置し、デバイスの接触端をコネクタ内の対応するソケットに揃えます。
手順 4 コネクタの表面と同じ位置になるまで、デバイスをコネクタに押し込みます。
手順 5 デバイスを押さえたまま、ネジでデバイスを固定します(図 6-46 を参照)。
図 6-46 フラッシュ メモリ カードと SSD mSATA ストレージ デバイスの位置
|
|
|
||
|
|
|
||
|
|
|
手順 6 シャーシ カバーを元に戻します。“シャーシ カバーの付け直し” sectionを参照してください。
SSD mSATA ストレージ デバイスを取り外す手順は、次のとおりです。
手順 1 モジュールの交換の前に、“安全上の警告” sectionを熟読し、電源を切断します。
手順 2 シャーシ カバーを取り外します。シャーシ カバーを取り外す手順については、“シャーシ カバーの付け直し” sectionを参照してください。
手順 3 シャーシに SSD mSATA ストレージ デバイスを固定しているネジを緩めます。図 6-45 を参照してください。
手順 5 必要に応じて、新しい SSD mSATA メモリ デバイスを取り付けます。SSD mSATA ストレージ デバイスの取り付けを参照してください。
手順 6 シャーシ カバーを元に戻します。“シャーシ カバーの付け直し” sectionを参照してください。
ここでは、光ギガビット イーサネット接続のために、オプションの小型フォーム ファクタ(SFP)モジュールをルータに取り付ける方法について説明します。
SFP モジュールはルータの背面パネルのスロットに装着します。Cisco IOS ソフトウェアで選択する場合、ポート gigabitethernet 0/0 に割り当てられます。デフォルトは組み込みの RJ-45 1000Base-T コネクタで、このポートでイネーブルにされています。
ルータでサポートされるのは、シスコによって認定された SFP モジュールのみです。 表 6-5 に、ルータでサポートされる SFP の一覧を示します。
互換性の問題については、『Cisco Transceiver Modules Compatibility Information』を参照してください。
|
|
|
(マイクロメートル) |
|
|
ディスタンス |
|---|---|---|---|---|---|
ヒント
シスコ認定の SFP を使用しているかどうかを判断するには、Cisco IOS プロンプトで show controller コマンドを使用します。
光 SFP は光ファイバ信号を生成するために少量のレーザー光を使用します。ケーブルがポートに接続されていない場合は常に、光の伝送を保ち、対象のポートを受信します。
警告
接続されていない光ファイバ ケーブルやコネクタからは目に見えないレーザー光が放射されている可能性があります。レーザー光を直視したり、光学機器を使用して直接見たりしないでください。ステートメント 1051
警告
本製品の最終処分は、各国のすべての法律および規制に従って行ってください。ステートメント 1040
ルータに SFP モジュールを取り付ける手順は、次のとおりです。
手順 1 モジュールの交換の前に、“安全上の警告” sectionの項を熟読し、電源を切断します。
手順 2 ルータ コネクタに SFP をスライドし、所定の位置に固定されるまで挿入します(図 6-47 を参照)。
ヒント
SFP が留め具式ラッチを使用している場合(図 6-47 を参照)、SFP モジュールの上にハンドルがある必要があります。
手順 3 ネットワーク ケーブルを SFP モジュールに接続します。
手順 1 モジュールの交換の前に、“安全上の警告” sectionの項を熟読し、電源を切断します。
警告
接続されていない光ファイバ ケーブルやコネクタからは目に見えないレーザー光が放射されている可能性があります。レーザー光を直視したり、光学機器を使用して直接見たりしないでください。ステートメント 1051
手順 3 SFP ラッチの接続を外します。図 6-48 を参照してください。
(注
) SFP ポートのモジュールのセキュリティを保護するために、SFP モジュールは多様なラッチ デザインを使用しています。ラッチ デザインは SFP のモデルまたはテクノロジーの種類に関係ありません。SFP のテクノロジーの種類とモデルについては、SFP の側面にあるラベルを参照してください。
|
|
|
||
|
|
|
ヒント
指が届かない場合、ペン、ドライバ、または他のまっすぐな道具を使用して、留め具のハンドルを慎重に外します。
内部 PoE ドーター カードを装着または交換する手順は、次のとおりです。
手順 1 モジュールの交換の前に、“安全上の警告” sectionを熟読し、電源を切断します。
手順 4 PoE カード スロットにアクセスします。を参照してください“シャーシ カバーの付け直し” section。
手順 5 取り外しまたは交換するカードの位置を確認します。マザーボード上での PoE カードの位置については、図 6-49 を参照してください。
図 6-49 PoE ドーター カードの位置(Cisco ISR 4451-X)
|
|
|||
手順 6 マザーボード上のコネクタから PoE ドーターカードを引き抜きます。
カードを交換する場合は、スロットに新しい PoE ドーター カードを挿入します。ネジを締めた後、マザーボードに電源コードを接続します。
手順 7 静電破壊を防止するために、取り外し後のカードを静電気防止用袋に入れます。