Feedback
|
Table Of Contents
Assembling a Pedestal Stand-Mounted Cisco TelePresence System 500-32
Assembling a Pedestal Stand-Mounted Cisco TelePresence System 500-32
May 29, 2013, OL-23420-01This chapter describes the tasks you perform to assemble your Cisco TelePresence System 500-32 (CTS-500-32) and includes the following sections:
•
CTS-500-32 Installation Video
Note
The display used in this product contains mercury. Dispose of according to local, state, and federal laws.
Required Tools and Resources
A #1 screwdriver is required to secure the base to the display assembly.
Two people are required to install this system.
CTS-500-32 Installation Video
A video that shows the entire hardware installation process is available at the following URL:
Assembling the CTS-500-32
Perform the following steps to assemble the CTS-500-32 for use.
Step 1
Perform the following pre-installation checks:
•
Determine that your system administrator has completed the following tasks:
–
Make sure that the area where your system is located has a high-speed network connection that can accommodate an RJ-45 Ethernet jack.
–
Make sure that the CTS-500-32 system is registered in Cisco Unified Communications Manager (Unified CM).
Note
Your administrator can register the system at a later time; however your system will not be functional until it is registered with Unified CM.
Step 2
Make a note of the parts that are included in the shipping carton.
Figure 2-1 shows the carton contents. The contents are labeled with orange stickers and the callouts in Figure 2-1 correspond to the numbers on the labels.
Figure 2-1 Carton Contents
Step 3
Remove the base from its carton and unscrew it from the plywood packing. The base is in carton 3.
WarningThe base and packaging weigh more than 50 pounds (22.7 kg); be sure to use at least two people when lifting or moving the base.
Figure 2-2 Removing the Base from the Carton and Plywood Packing
Step 4
Remove the protective film from the base and place the self-adhesive foot pads on the underside of the base. The base has recessed areas where you place the pads.
The base packaging contains two sets of foot pads; attach either the black set or the white set to the underside of the base. Use the following criteria to choose the correct set:
•
The black pads provide a very firm footing. Use these pads for a hard, non-carpeted floor, or for an installation where the system will not be moved.
•
The white pads do not grip the floor as firmly as the black pads, but allow the system to be moved more easily. For carpeted areas, or if you think that the system will be moved to a different location at a later time, use these pads.
Figure 2-3 Attaching the Foot Pads to the Base
Step 5
Using at least two people, complete the following tasks:
a.
Remove the column from its packaging, and remove the protective film from the column. The column is in carton 4.
b.
Set the column and base on the floor.
c.
Set the base perpendicular to the floor, with the pointed end of the base pointing upward.
d.
Slide the keyhole slots in the column to the posts in the base.
e.
Connect the column to the base with the screws using the included Allen wrench. Mount the column so that the rear of the column (with the connections on the bottom) faces the narrow part of the base.
Tip
After you remove the column from its carton, set the column on top of the carton. The column and base should line up.
Figure 2-4 Attaching the Column to the Base
Step 6
Remove the clips from the lower part of the display carton; then, remove the top cover from the display packaging.
Figure 2-5 Unpacking the Display
Step 7
Remove the protective film from around the display, then remove the rear display cover.
Figure 2-6 Removing the Rear Display Cover
Step 8
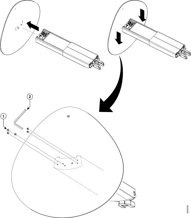
Set the column upright, place the display on top of the column, and tighten the two screws to attach the display to the column.
Note
If the display is not level, loosen the two screws and level the display, then retighten the screws.
Tip
To make sure that you are installing the display the correct way, make sure that the rear side of the display (the side with the codec) is on the same side as the power and signal connections on the column.
Figure 2-7 Placing and Securing the Display on the Column
Step 9
Remove the bubble wrap from the two cable bundles, then feed the bundles through the space between the codec and the display.
Tip
Use the twist-ties from the cable packaging in the accessory kit to tie the cable bundles together before routing them. You can also route the cables up one at a time.
Tip
View a detailed video of this step at the following URL:
http://www.cisco.com/en/US/docs/telepresence/cts_500/cts_500_32/assembly/guide/video/
cts50032_installation_640x360.html
The cable routing part of the video starts at 4 minutes and runs until the end of the video.Figure 2-8 Routing the Cables from the Column
Step 10
Connect the cables that are shown in the "Connect to Display Stand I/O Panel" legend in Figure 2-10.
Tip
Use the tape flags on the cables, and match the logo or text on the flag with the logo or text on the codec and display.
Tip
Use the cable ties located in the upper part of the display housing to neatly route the cables. Figure 2-9 shows the two cable ties. Press the cable tie release to loosen the cable tie, put the cables through the cable ties, and tighten the cable tie when you are finished. Do not overtighten the cable ties.
Note
The power cable connection for the display is on the top left of the cutout for the codec.
Figure 2-9 Connecting the Cables to the Display
Figure 2-10 Required Codec Cable Connections Between the Pedestal and the Display
Figure 2-11 Connection Diagram for CTS-500-32 Codec Showing All Connections (for Reference Only)
Step 11
Connect the power and signal cables.
The following numbers correspond to the called out numbers in the diagram.
1.
Cisco Unified IP Phone
2.
Uplink to network
3.
HD Video connection for presentation display, secondary display, or Digital Media Player (DMP) display1 2 3 4
4.
Audio connection for Auto Collaborate display
5.
On/Off switch
6.
Power cord
7.
VGA-to-VGA cable
8.
Audio Connection for shared presentations
1 Use this port to share presentations when you are not in a call. To share presentations during a call, use the VGA port and the VGA-to-VGA cable (callout 7).
2 Use only the HD Video cable that is provided by Cisco; HDMI cables do not work with the CTS-500-32.
3 You can use your CTS-500-32 as a primary or secondary data display for your PC when you are not in a conference; use this HD Video connection for that purpose.
4 To use this as a DMP input, swap the input connection on the codec labeled as "Auxiliary PC Video" in Figure 2-10 with the connection labeled "Auxiliary Input (ex.DMP") in Figure 2-11 and connect the HDMI connection on the stand base labeled "Aux" to the DMP. For more information about using a DMP with your CTS 500-32 system, see the "Options for the Cisco TelePresence System 500 32" section of the Cisco TelePresence Hardware Options and Upgrade Guide.
Figure 2-12 Lower Column Power and Signal Cables
Step 12
Attach the rear display cover.
Step 13
(Optional) Use the cable sheath to group the cables from the CTS-500-32 to the power and signal cable outlets.
Figure 2-13 Installing the Cable Sheath
Step 14
(Optional) To attach a headset to the CTS-500-32, open the access door on the side of the rear display cover and attach the headset to the RJ-11 connection on the codec.
Figure 2-14 Attaching a Headset to the CTS-500-32 (Optional)
Step 15
Connect the power cable from the display base to the wall, and connect the system to the network and Cisco Unified IP Phone.
Step 16
Make sure that your system is registered as a device in Cisco Unified Communications Manager.
Step 17
Continue to the Chapter 4 "First-Time Setup," to set up your system for use.
Feedback















