Table Of Contents
Building the Display Assembly
Parts List
Building the Display Assembly
Revised: March 25, 2009, OL-14521-01
Parts List
Key
|
Part Description
|
Part Number
|
Qty
|
Ctn
|
Notes
|
1
|
Display structure
|
700-23358-xx
|
3
|
35, 36, 37 (CTS3K-FUR- MAPLE) 32, 33, 34 (CTS3K-M-TABLE-G2)
|
|
2
|
Rear foot stabilizer
|
700-23360-xx
|
6
|
17
|
|
3
|
Front foot stabilizer
|
700-23359-xx
|
6
|
14, 15, 16
|
|
4
|
Leveling foot
|
51-4540-xx
|
12
|
1
|
|
5
|
Display shelf support left
|
700-23339-xx
|
3
|
40 (CTS3K-FUR- MAPLE) 39 (CTS3K-M-TABLE-G2)
|
|
6
|
Display shelf support right
|
700-23340-xx
|
3
|
40 (CTS3K-FUR- MAPLE) 39 (CTS3K-M-TABLE-G2)
|
|
7
|
Display tilt bracket
|
700-23363-xx
|
6
|
12
|
|
8
|
Codec safety tray
|
700-23341-xx
|
3
|
40 (CTS3K-FUR- MAPLE) 39 (CTS3K-M-TABLE-G2)
|
|
9
|
Camera assembly bracket
|
700-23346-xx
|
1
|
11
|
For center display structure only
|
10
|
Support crossbars
|
700-23361-xx
|
4
|
33 (CTS3K-FUR- MAPLE) 30 (CTS3K-M-TABLE-G2)
|
|
11
|
M8 x 70 mm screws
|
48-2274-xx
|
|
1
|
|
12
|
M8 washers
|
49-1165-xx
|
|
1
|
|
13
|
M8 x 20 mm screws
|
48-2273-xx
|
|
1
|
|
Caution 
The display structures are unstable during assembly. Use caution, and support all structures as required.
Warning
Only trained and qualified personnel should be allowed to install, replace, or service this equipment.
Note
The directions left and right refer to the assembly as you face the Plasma displays.
Step 1
Attach the Leveling feet to the Rear and Front Foot stabilizers.
Figure 2-1 Leveling feet
Note
The structure becomes heavier and more difficult to move during the building process. Figure 2-9 shows the correct positioning of the display structure; keep this in mind as you build the structure.
Step 2
Attach the Codec Safety trays to the Front Foot stabilizers.
Note
If you ordered a Presentation Codec, attach the larger tray that comes with the Presentation Codec package, part no. 700-25301-xx, in the center display. Refer to the Cisco TelePresence Hardware Options and Upgrade Guide for more information.
Figure 2-2 Codec Safety trays
Step 3
Attach the Rear and Front Foot stabilizers to the Display structures.
Figure 2-3 Rear and Front Foot stabilizers
Step 4
Attach the left and right Display Shelf supports to each Display structure.
Figure 2-4 Left and Right Display Shelf supports
Step 5
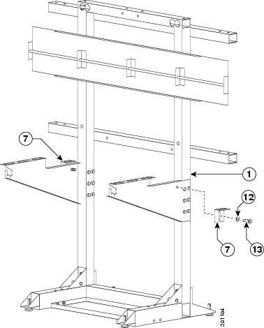
Attach the Display Tilt brackets to each Display structure.
Figure 2-5 Display Tilt brackets
Note
Do not tighten the Display Tilt brackets. You will need to adjust them to level the Plasma displays in Chapter 3, "Mounting and Leveling the Plasma Displays."
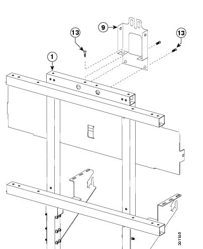
Step 6
Attach the Camera Assembly bracket to the center Display structure.
Figure 2-6 Camera Assembly bracket
Note
The Camera Assembly bracket attaches to the center Display structure.
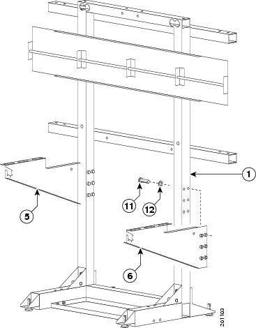
Step 7
Attach the upper and lower Support crossbars to the left and right Display structures.
Figure 2-7 Upper and Lower Support crossbars
Tip
Use the screw holes nearest the ends of the Support crossbars.
Step 8
Attach the upper and lower Support crossbars to the center Display structure.
Figure 2-8 Upper and Lower Support crossbars
Step 9
Position the three Display structures relative to the rear wall.
Figure 2-9 Positioning the Display Structures