Table Of Contents
Configuring Protocol Translation
Support for Terminal Connections and Protocol Translation
Change the Number of Supported Translation Sessions
Cisco's Implementation of Protocol Translation
Understand Tunneling of SLIP, PPP, and ARA
One-Step Tunneling of SLIP, PPP, and ARA
Two-Step Tunneling of SLIP and PPP
Two-Step Tunneling of ARA
Understand Two-Step Protocol Translation
Understand One-Step Protocol Translation
Configure Protocol Translation
Configure Two-Step Protocol Translation
Configure One-Step Protocol Translation
Configure Tunneling of SLIP, PPP, or ARA
Configure Two-Step Tunneling of SLIP or PPP
Configure One-Step Tunneling of SLIP or PPP
Enable Dynamic Address Assignment for Outgoing SLIP and PPP on VTY Lines
Assign IP Addresses Using DHCP
Assign IP Addresses Using Local IP Address Pooling
Configure One-Step Tunneling of ARA
Change the Number of Supported Translation Sessions
Create X.29 Access Lists
Create an Access List
Apply an Access List to a Virtual Line
Create an X.29 Profile Script
Define X.25 Host Names
Protocol Translation Application Examples
Assign Addresses Dynamically for PPP Example
Basic Configuration Example
Central Site Protocol Translation Example
Decreasing the Number of Translation Sessions Example
Increasing the Number of Translation Sessions Example
LAT-to-LAT over an IP WAN Example
LAT-to-LAT over Frame Relay or SMDS Example
LAT-to-LAT Translation over a WAN Example
LAT-to-LAT over an X.25 Translation Example
LAT-to-TCP Translation over a WAN Example
LAT-to-TCP over an X.25 Example
LAT-to-X.25 Host Example
Local IP Address Pool Example
Local LAT-to-TCP Translation Example
Local LAT-to-TCP Example
Standalone LAT-to-TCP Translation Example
Tunneling SLIP inside TCP Example
Tunneling PPP inside X.25 Example
X.25 PAD-to-LAT Example
X.25 PAD-to-TCP Example
X.29 Access List Example
X.3 Profile Example
Protocol Translation Session Examples
Using the One-Step Method for TCP-to-X.25 Host Connections
Changing Parameters and Settings Dynamically
Configuring Protocol Translation
This chapter describes how to configure protocol translation connections using Cisco IOS software. It assumes you understand how to use the configuration software. It provides procedures for specifying system-wide facilities, as well as application examples. Before continuing with this chapter, be sure that you are familiar with the information provided in the X.25, Telnet, Local Area Transport (LAT), TN3270, AppleTalk Remote Access (ARA), Serial Line Internet Protocol (SLIP) and Point-to-Point Protocol (PPP), and the XRemote configuration chapters in this publication.
For a complete explanation of the translate command, refer to the Access and Communication Servers Command Reference publication. For more information about making connections and establishing translation sessions, see the Cisco Access Connection Guide.
In the context of this chapter, a routing device set up to run protocol translation software is referred to as a protocol translator.
Note
Telnet is a remote terminal protocol that is part of the Transmission Control Protocol/Internet Protocol (TCP/IP) suite. The descriptions and examples in the following sections use the term TCP as a reference to Telnet functionality.
Support for Terminal Connections and Protocol Translation
A routing device set up for protocol translation uses the International Telecommunication Union Telecommunication Standardization Sector (ITU-T) Recommendation X.25 for transferring raw data over X.25 networks. The X.25 software supports both commercial and DDN versions. Protocol translators also support X.25 as a transport mechanism for IP, IPX, and ARA packets, and X.3- and X.29-based PAD connections. This X.25 connection allows transport of TCP/IP packets across the X.25 packet-switching network in the same way as would occur on a protocol translator.
Note
The ITU-T carries out the functions of the former Consultative Committee for International Telegraph and Telephone (CCITT).
Routing devices not running protocol translation do not support an X.25 PAD function, so they cannot communicate with hosts directly connected to the X.25 PDN. The Cisco IOS software encapsulates TCP/IP packets in X.25 packets for transfer over a packet-switching network. These packets can be received by routing devices. Only devices using protocol translation include PAD capabilities, but other devices can communicate with protocol translators using the TCP/IP or LAT protocols. Routing devices supporting protocol translation can translate TCP/IP and LAT into X.25, and then communicate with X.25 hosts. Routing devices running protocol translation support all PAD standards (X.28, X.29, and X.3). The connection to the packet-switching network is through a synchronous line.
Connections to a PAD are made using EXEC commands. You can configure PAD parameter profiles that can be used to set PAD parameters with other commands, and you can configure access lists to control X.25 network access. Both these features use the message fields defined in Recommendation X.29, which describes procedures for exchanging data between PADs or between a PAD and a DTE. By default, all PAD commands and related connections are enabled using the service pad global configuration command.
Change the Number of Supported Translation Sessions
Because each protocol translation session uses a virtual terminal (VTY) line, you need to increase the number of those lines to increase the number of protocol sessions. That is, if your routing device has ten VTY lines, you can have up to ten protocol translation sessions. The default number of VTY lines is 5 (lines 0 through 4). To increase the number of lines, and thus the maximum number of protocol translation sessions, perform the following tasks, as appropriate, in line configuration mode:
Task
|
Commands
|
Increase the number of protocol translation sessions.
|
line vty line-number
|
Decrease the number of protocol translation sessions.
|
no line vty line-number
|
Increasing the number of protocol translation sessions while routing is enabled can impact memory. The amount of memory available depends on the platform type, the amount of DRAM available, the activity of each session, and the speed of the link. If you are using the maximum number of sessions and have problems with memory, you might need to decrease the number of protocol translation sessions.
Cisco's Implementation of Protocol Translation
The protocol translation software attempts to provide transparent protocol translation between systems running disparate protocols. It enables terminal users on one network to access hosts on another network, despite differences in the native protocol stacks associated with the originating device and the target host.
A routing device supports virtual terminal connections in both directions between the protocols in the following list. You can configure the Cisco IOS software to translate automatically between them. This is called the one-step translation method.
•
X.25 and Local Area Transport (LAT)
•
X.25 and Telnet sessions using the Transmission Control Protocol (TCP)
•
LAT and TCP/Telnet
You can also use the one-step protocol translation facility to tunnel SLIP or PPP to IP and IPX networks or ARA to AppleTalk networks inside of X.25, LAT, or TCP/Telnet (on outgoing connections only).
The software supports limited connections in both directions between the following protocols. Connecting between these protocols requires that you first connect to a routing device supporting protocol translation, then to the host to which you want to connect. This is called the two-step translation method.
•
XRemote to X.25 PAD environments (XRemote must use the two-step method)
•
TN3270 to LAT, X.25, and TCP/Telnet (TN3270 must use the two-step method)
The following sections describe the process of tunneling SLIP and PPP using protocol translation, as well as the two-step and the one-step translation methods. See the end of this chapter for protocol translation application and session examples.
Understand Tunneling of SLIP, PPP, and ARA
Unlike other protocols, such as LAT, X.25, and TCP, which are actually translated when you use one-step protocol translation, SLIP, PPP, and ARA are not translated to the destination protocol. Instead, they are tunneled inside a LAT, X.25, or TCP tunnel to an IP or AppleTalk network. Nonetheless, you use the protocol translation facility to tunnel SLIP, PPP, or ARA to a destination running a different virtual terminal protocol (such as X.25).
You can also run IPX-PPP over X.25, TCP, or LAT when tunneling PPP on virtual terminal (VTY) lines.
One-Step Tunneling of SLIP, PPP, and ARA
To use one-step protocol translation to tunnel SLIP, PPP (or IPX-PPP), or ARA, you do not need to enter any preliminary commands. Simply use the translate command with the slip or ppp keywords for one-step SLIP or PPP connections or autocommand arap for one-step connections. Because ARA does not use addressing, you need to specify the autocommand keyword, then specify the string arap to tunnel ARA to an AppleTalk network.
Refer to the section "Understand One-Step Protocol Translation" in this chapter for more information about one-step protocol translation.
If you are tunneling PPP, SLIP, or ARA across X.25, you must also set up your X.3 profile correctly using the x25 profile command, as described in the section "Configure One-Step Tunneling of SLIP or PPP" later in this chapter. For more information about using the x25 profile command, refer to the chapter "Protocol Translation Configuration Commands" in the Remote Node and Terminal Services Command Reference.
Note
You must ensure that if the PAD is not configured to use the X.3 parameters by default that you specify using the pad [/profile name] command, it must be set to accept parameter changes from the X25 host.
Two-Step Tunneling of SLIP and PPP
To tunnel SLIP or PPP across an X.25 WAN to an IP network using the two-step protocol translation method, use the vty-async command, which enables you to run SLIP and PPP on VTY lines. Normally, SLIP and PPP function only on physical asynchronous interfaces. The vty-async command enables you to run SLIP and PPP on VTY lines, which permits you to tunnel from an incoming protocol to SLIP or PPP (or IPX-PPP).
To issue SLIP or PPP EXEC commands on VTY lines, refer to the section "Enable SLIP and PPP on Virtual Asynchronous Interfaces" in the chapter "Configuring SLIP and PPP."
If you are initiating an outgoing PPP session over X.25, you must also set up your X.3 profile correctly using the pad [/profile name] command, as described in the chapter "Remote Node and Terminal Connections using Protocol Translation" in the Cisco Access Connection Guide.
Note
You must ensure that if the PAD is not configured to use the X.3 parameters by default that you specify using the pad [/profile name] command, it must be set to accept parameter changes from the X25 host.
Two-Step Tunneling of ARA
To tunnel ARA using the two-step method, you configure ARA on one or more VTY lines, then configure automatic protocol startup. When a user connects to the VTY line and receives an EXEC prompt, ARA starts up automatically on the outgoing VTY line.
For more information about enabling two-step tunneling of ARA on VTY lines, refer to the section "Connect to an AppleTalk Network from a Client Running a Different Virtual Terminal Protocol" in the chapter "Configuring an AppleTalk Remote Access Server."
Understand Two-Step Protocol Translation
Use the two-step process when running protocol translation for one-time connections or when using your routing device as a general-purpose gateway between two types of networks (for example, X.25 PDN and TCP/IP). You must first configure the software for the transmission protocols that you will be using.
Note
You must use the two-step method for translations of TN3270 and XRemote.
With the two-step connection process, you can modify the parameters of either network connection, even while a session is in process. This process is similar to connecting a group of terminal lines from a PAD to a group of terminal lines from a TCP server. The difference is that you do not encounter the wiring complexity, unreliability, management problems, and performance bottlenecks that occur when two devices are connected via asynchronous serial lines.
Also, the two-step process allows another level of security over the one-step translation method when TACACS and password protection are enabled. These security features are described in the "Managing the System" chapter in this publication.
Understand One-Step Protocol Translation
Use the one-step method when network users repeatedly log on to the same remote network hosts through a routing device. This connection is more efficient and enables the device to have more knowledge of the protocols in use, because the routing device acts as a network connection rather than as a terminal.
The one-step method provides transparent protocol conversion. When connecting to the remote network host, the user enters the connection command to the remote network host, but does not need to specify protocol translation. The network administrator has already created a configuration that defines a connection and the protocols to be translated. The user performs one step to connect with the host.
When you make a one-step connection to the Cisco IOS software, the routing device determines which host the connection is for and which protocol that host is using. It then establishes a new network connection using the protocol required by that host.
A disadvantage of the one-step method is that the initiating computer or user does not know that two networking protocols are being used. This means that parameters of the foreign network protocols cannot be changed after connections are established. The exception to this limitation is any set of parameters common to both networking protocols. Any parameter common to both can be changed from the first host to the final destination.
To configure the one-step method of protocol translation, set up the following protocols and connection options in the configuration file:
•
The incoming connection—The configuration includes the protocol to be used—LAT, X.25, or TCP/IP (Telnet)—the address, and any options such as reverse charging or binary mode that are supported for the incoming connection.
•
The outgoing connection—The outgoing connection is defined in the same way as the incoming connection, except that SLIP, PPP (including IP and IPX on PPP sessions), and ARA are also supported.
•
The connection features global options
You can specify additional features for the connection that allows, for example, incoming call addresses to match access-list conditions or that limit the number of users that can make the connection.
Configure Protocol Translation
Specifically, this section describes how to perform the following tasks:
•
Configure Two-Step Protocol Translation
•
Configure One-Step Protocol Translation
Configure Two-Step Protocol Translation
To translate using the two-step method, perform the following task beginning in global configuration mode. The first step is required only if you are tunneling SLIP or PPP using the two-step protocol translation facility:
Task
|
Command
|
Step 1 Establish an incoming connection to the routing device running protocol translation.
|
{connect | lat | pad | telnet | tunnel}1
|
Step 2 Establish the outgoing connection from the routing device supporting protocol translation to another network host.
|
{connect | lat | pad | telnet | tunnel}1
|
Protocol translation software supports the two-step method in both directions for protocols other than SLIP and PPP (for example, from Telnet to PAD, and vice versa). SLIP and PPP are only supported on outgoing connections.
Configure One-Step Protocol Translation
To create one-step protocol translation connection specifications, perform the following task in global configuration mode:
Task
|
Command
|
Create the connection specifications for one-step protocol translation.
|
translate protocol incoming-address [in-options] protocol outgoing-address [out-options] [global-options]
|
Configure Tunneling of SLIP, PPP, or ARA
This section describes how to perform the following tasks:
•
Configure Two-Step Tunneling of SLIP or PPP
•
Configure One-Step Tunneling of SLIP or PPP
•
Configure One-Step Tunneling of ARA
You can also enable IPX over tunneled PPP sessions, as well.
Configure Two-Step Tunneling of SLIP or PPP
To tunnel SLIP or PPP using the two-step protocol translation facility, perform the following tasks, beginning in global configuration mode:
Task
|
Command
|
Step 1 Enable tunneling of SLIP and PPP using two-step protocol translation.
|
vty-async
|
Step 2 Exit from global configuration mode into EXEC mode.
|
exit
|
Step 3 Establish an incoming connection to the routing device running protocol translation.
|
{connect | lat | pad | telnet | tunnel}
|
Step 4 Establish the outgoing connection from the routing device supporting protocol translation to another network host.
|
{connect | slip | ppp | tunnel}
|
If you want to configure IPX over your PPP sessions on VTY lines, refer to the section "Enable IPX over PPP on Virtual Asynchronous Interfaces" in the chapter "Configuring SLIP or PPP."
To configure one-step tunneling of ARA on VTY lines, refer to the section "Connect to an AppleTalk Network from a Client Running a Different Virtual Terminal Protocol" in the chapter "Configuring an AppleTalk Remote Access Server."
Configure One-Step Tunneling of SLIP or PPP
To tunnel SLIP or PPP using the one-step protocol translation facility, perform the following task in global configuration mode:
Task
|
Command
|
If you tunneling PPP over X.25, create an X.3 Profile so that the router will interoperate with the PAD.
|
x29 profile name parameter:value [parameter:value]1
|
Create the connection specifications for one-step protocol translation.
|
translate protocol incoming-address [in-options] protocol outgoing-address [out-options] [global-options]
|
If you are configuring PPP over X.25, if you do not know what X.3 profile parameters to use, try the following (these parameters do not function in all cases; they are simply a place from which to start:
•
1:0, 2:0, 3:2, 4:1, 5:0, 6:0, 7:21, 8:0, 9:0, 10:0, 11:14, 12:0, 13:0, 14:0, 15:0, 16:127, 17:24, 18:18, 19:0, 20:0, 21:0, 22:0
For more information about creating an X.29 profile script, see the later section "Create an X.29 Profile Script." For an example of configuring PPP over X.25, refer to the later section "Tunneling PPP inside X.25 Example."
You can configure an outgoing session for IPX-PPP. To do so, issue the ipx loopback number option for the outgoing session. For information about this option, refer to the chapter "Protocol Translation Configuration Commands" in the Access and Communication Servers Command Reference.
To tunnel SLIP or PPP over X.25, LAT, or Telnet using the one-step method, you do not need to enter any additional commands, as you do when you tunnel SLIP or PPP using the two-step method. The translate command enables asynchronous protocol features on one VTY line at a time.
SLIP and PPP, including IPX-PPP, can be translated on outgoing connections only.
Enable Dynamic Address Assignment for Outgoing SLIP and PPP on VTY Lines
You can specify IP addresses dynamically from a Dynamic Host Configuration Protocol (DHCP) proxy client or a local IP address pool on outgoing SLIP and PPP sessions on VTY lines.
Assign IP Addresses Using DHCP
The DHCP client-proxy feature manages a pool of IP addresses available to PPP or SLIP dial-in clients without a known IP address. This allows a finite number of IP addresses to be reused quickly and efficiently by many clients. Additional benefits include the ability to maintain sessions, such as Telnet, even when a modem line fails. When the client is auto-dialed back into the routing device, the session can be resumed because the same IP address is reissued to the client by the routing device.
A DHCP proxy client is a Cisco routing device configured to arbitrate DHCP calls between a DHCP server and a DHCP client. For more information about DHCP proxy clients, refer to the section "Configure DHCP" in the "Configuring Interfaces" chapter.
Task
|
Command
|
Step 1 Specify that the routing device use the DHCP client-proxy.
|
ip address-pool dhcp-proxy-client
|
Step 2 Specify DHCP pooling for the SLIP or PPP client on the outgoing session.
|
translate protocol incoming-address [in-options] {slip | ppp} ip-pool name
|
The name argument is the name of the DHCP proxy client specified with the ip address-pool dhcp-proxy-client command.
Assign IP Addresses Using Local IP Address Pooling
You can make temporary IP addresses available for outgoing SLIP and PPP clients on outgoing sessions. To do so, you must first specify that the Cisco IOS software use a local IP address pool on all asynchronous interfaces and create one or more local IP address pools (refer to the section "Configure a Local IP Address Pool" in the chapter "Configuring Interfaces"). You then assign local pooling as part of the translate command. To assign IP addresses dynamically on a virtual asynchronous connection, perform the following task, beginning in global configuration mode:
Task
|
Command
|
Step 1 Specify that the routing device use a local IP address pool on all asynchronous interfaces.
|
ip address-pool local
|
Step 2 Create one or more local IP address pools.
|
ip local-pool name begin-ip-address-range [end-ip-address-range]
|
Step 3 Specify local pooling for the SLIP or PPP client on the outgoing session.
|
translate protocol incoming-address [in-options] slip | ppp ip-pool [scope-name name]
|
The scope-name option takes the name of any local IP address pool that has been defined using the ip local-pool command.
Configure One-Step Tunneling of ARA
To tunnel ARA using the one-step protocol translation facility, perform the following tasks, beginning in global configuration mode. The first four steps are required. The next seven steps (5 through 11) are optional:
Task
|
Command
|
Step 1 Turn on AppleTalk routing.
|
appletalk routing
|
Step 2 Use the protocol translation facility to enable an ARA tunnel across a remote network.
|
translate protocol incoming-address [in-options] autocommand arap
|
Step 3 Enter line configuration mode.
|
line vty line-number [ending-line-number]
|
Step 4 Enable ARA on one or more lines.
|
arap enable
|
Step 5 Set one or more dedicated ARA lines.
|
arap dedicated
|
Step 6 Set the session time limit.
|
arap timelimit [minutes]
|
Step 7 Set the disconnect warning time.
|
arap warningtime [minutes]
|
Step 8 Disallow guests.
|
arap noguest
|
Step 9 Require manual password entry.
|
arap require-manual-password
|
Step 10 Limit the zones the Macintosh user sees.
|
arap zonelist zone-access-list-number
|
Step 11 Control access to networks.
|
arap net-access-list net-access-list number
|
Change the Number of Supported Translation Sessions
The number of protocol translation sessions supported by the IOS Release 10.3 software depends on the routing device model. On a Cisco 4000 or Cisco 4500, the maximum number of protocol translation sessions is 180 whether or not routing is enabled. On a Cisco 2500 or Cisco 3000, the maximum number of protocol translation sessions is 100 sessions, or 32 sessions if routing is enabled.
The number of protocol translation sessions is tied to the number of virtual terminal lines set up on the software. If a routing device has ten virtual terminal lines, you can have up to ten protocol translation sessions. The default number of virtual terminal lines is five (lines 0 through 4). To increase the number of lines, and thus the maximum number of protocol translation sessions, perform the following task in line configuration mode:
Task
|
Command
|
Increase the number of virtual terminal lines, and thus, the maximum number of protocol translation sessions.
|
line vty number1
|
Decrease the number of virtual terminal lines, and thus, the maximum number of protocol translation sessions.
|
no line vty number
|
Note
Increasing the number of protocol translation sessions while routing or bridging is enabled can impact available memory. The amount of memory available depends on the platform type, the amount of DRAM available, the activity of each session, and the speed of the link. If you increase to the maximum number of sessions and have problems with memory, you might need to decrease the number of protocol translation sessions.
Create X.29 Access Lists
The protocol translation software provides access lists, which make it possible to limit access to a routing device supporting protocol translation software from certain X.25 hosts. Access lists take advantage of the message field defined by Recommendation X.29, which describes procedures for exchanging data between two PADs or between a PAD and a DTE device.
To define X.29 access lists, perform the following tasks:
Step 1
Create an access list.
Step 2
Apply an access list to a virtual line or include it in a translate command.
These tasks are described in the following sections.
When configuring protocol translation, you can specify an access-list number with each translate command. In the case of translation sessions that result from incoming PAD connections, the corresponding X.29 access list is used.
Create an Access List
To specify the access conditions, perform the following global configuration task:
Task
|
Command
|
Restrict incoming and outgoing connections between a particular virtual terminal line (into a Cisco device) and the addresses in an access list.
|
x29 access-list access-list-number {permit | deny} regular-expression
|
An access list can contain any number of lines. The lists are processed in the order in which you type the entries. The first match causes the permit or deny condition. If an X.121 address does not match any of the entries in the access list, access will be denied.
Apply an Access List to a Virtual Line
To apply an access list to a virtual line, perform the following tasks in line configuration mode:
Task
|
Command
|
Restrict incoming and outgoing connections between a particular virtual terminal line (into a Cisco device) and the addresses in an access list.
|
access-class number in1
|
The access-list number is used for incoming TCP access and incoming PAD access. For TCP access, the routing device using protocol translation uses the defined IP access lists. For incoming PAD connections, the same X.29 access list is used. If you want to have access restrictions on only one of the protocols, you can create an access list that permits all addresses for the other protocol.
Note
For an example of including an access list in a translate command, see the section "Tunneling PPP inside X.25 Example" at the end of this chapter.
Create an X.29 Profile Script
You can create an X.29 profile script for use by the translate command. When an X.25 connection is established, the routing device using protocol translation software acts as if an X.29 SET PARAMETER packet had been sent that contained the parameters and values set by this command.
To create an X.29 profile script, perform the following global configuration task:
Task
|
Command
|
Create an X.29 profile script.
|
x29 profile name parameter:value [parameter:value]
|
You can also create an X.29 profile script when connecting to a PAD using the pad [/profile name] command, which is described in the chapter "Remote Node and Terminal Connections using Protocol Translation" in the Cisco Access Connection Guide.
An X.29 profile script uses X.3 PAD parameters. For more information about PAD parameters, refer to the appendix "X.3 PAD Parameters" in the Remote Node and Terminal Services Command Reference.
Define X.25 Host Names
This section describes how to define symbolic host names. This means that instead of remembering a long numeric address for an X.25 host, you can refer to the X.25 host using this symbolic host name. To define a symbolic host name, perform the following task in global configuration mode:
Task
|
Command
|
Define a symbolic host name.
|
x25 host name x.121-address [cud call-user-data]
|
Protocol Translation Application Examples
This section provides protocol translation examples for the following applications:
•
Assign Addresses Dynamically for PPP Example
•
Basic Configuration Example
•
Central Site Protocol Translation Example
•
LAT-to-LAT over an IP WAN Example
•
LAT-to-LAT over Frame Relay or SMDS Example
•
LAT-to-LAT Translation over a WAN Example
•
LAT-to-LAT over an X.25 Translation Example
•
LAT-to-TCP Translation over a WAN Example
•
LAT-to-TCP over an X.25 Example
•
LAT-to-X.25 Host Example
•
Local IP Address Pool Example
•
Local LAT-to-TCP Translation Example
•
Local LAT-to-TCP Example
•
Standalone LAT-to-TCP Translation Example
•
Tunneling SLIP inside TCP Example
•
Tunneling PPP inside X.25 Example
•
X.25 PAD-to-LAT Example
•
X.25 PAD-to-TCP Example
•
X.29 Access List Example
•
X.3 Profile Example
Note
In the application illustrations throughout the remainder of this chapter, source and destination device icons used to illustrate the flow of translated information are shown with black type in outlined shapes. Other elements in the environment are shown with reverse type on solid black shapes.
Assign Addresses Dynamically for PPP Example
The following example shows how to configure the Cisco IOS software to assign an IP address dynamically to a PPP client using the one-step protocol translation facility.
! enable DHCP proxy-client status on the routing device
ip address-pool dhcp-proxy-client
! specify rockjaw as the DHCP server on the network.
translate x25 5467835 ppp ip-pool rockjaw keepalive 0
Basic Configuration Example
The following examples illustrate the basic global configuration commands and interface configuration commands for setting up routing device A (connected to Network A) and routing device B (connected to Network B), as illustrated in . Refer to the chapter "Configuring LAT," earlier in this publication, for more information about LAT. For information on configuring X.25, refer to the Routing Device Products Configuration Guide.
Figure 21-1 Diagram Showing Routing Devices with Protocol Translation Software
Note
The examples that follow focus on creating configurations that support one-step protocol translation. These connections can also be made using the two-step protocol translation method.
Configuration for Routing Device A
The following partial configuration for routing device A outlines a baseline configuration for the device's Ethernet and serial interfaces and configures support for IP, LAT, and X.25:
ip address 10.0.0.2 255.255.0.0
! Enable LAT on interface
! The following parameters may depend on your network
x25 facility packetsize 512 512
x25 facility windowsize 7 7
! IP address and MAP command needed only if routing IP
ip address 10.3.0.1 255.255.0.0
x25 map ip 10.4.0.2 22222 broadcast
! Advertise as available for connections via LAT
! Use this name (routing device A) if connecting via 2-step method
! (for connecting directly to a specific routing device)
lat service routing device A enable
! Set up some IP host names/addresses
ip host routing device A 10.0.0.2 3.0.0.1
ip host routing device B 10.3.0.2 2.0.0.2
Configuration for Routing Device B
The following partial configuration for routing device B outlines a baseline configuration for the device's Ethernet and serial interfaces and configures support for IP, LAT, and X.25:
ip address 10.2.0.2 255.255.0.0
! enable LAT on interface
! The following parameters may depend on your network
x25 facility packetsize 512 512
x25 facility windowsize 7 7
! IP address and MAP command needed only if routing IP
ip address 10.3.0.2 255.255.0.0
x25 map ip 10.3.0.2 11111 broadcast
! advertise as available for connections via LAT
! Use this name (routing device B) if connecting via 2-step method
! (for connecting directly to a specific routing device)
lat service routing device B enable
! Set up some IP host names/addresses
ip host routing device A 10.3.0.1 10.0.0.2
ip host routing device B 10.2.0.2 10.3.0.2
Note
You can specify IP host names used to identify specific hosts by explicitly using the ip host global configuration command or by using Domain Name System (DNS) facilities.
Central Site Protocol Translation Example
The protocol translation software in this configuration allows more than 64 concurrent translation sessions.
To support this application, a routing device running protocol translation software is directly connected back-to-back () to another Cisco device. This second device acts as an X.25 switch, by sending X.25 packets to routing device B while concurrently routing and bridging other protocols.
Figure 21-2 Central Site Protocol Translation Example
The following example illustrates how to configure a device to support translating protocols over an X.25 network among multiple sites.
Routing Device-C is configured to act as an X.25 switch to send X.25 packets to routing device A while concurrently routing and bridging other protocols.
The following example also illustrates how to use the translate global configuration command to translate LAT and TCP over X.25 WAN media. In this configuration, routing device A can translate LAT or TCP traffic into X.25 packets for transmission over an X.25 PDN network. Packets are then translated back to LAT or TCP on the other side of the WAN.
ip address 10.0.0.2 255.255.0.0
! enable LAT on interface if concurrently routing (8.3 feature)
! note that this is subaddress 3 of 11111
! The following parameters may depend on your network
x25 facility packetsize 512 512
x25 facility windowsize 7 7
! "Other" Central Site Cisco Routing Device Configuration
x25 route ^111113 interface serial 1
! Interface to routing device A
x25 route .* interface serial 0
! Translate Configuration for routing device A
! Note subaddress of subaddress 11111(3(3))
translate x25 1111133 tcp tcpdevice
translate lat TCP-B x25 3333301
translate lat tcp-device tcp tcp-device
! etc...any translate commands needed by application
Decreasing the Number of Translation Sessions Example
The following example sets the number of protocol translation sessions to 10, whether routing is turned on or off:
Increasing the Number of Translation Sessions Example
The following example sets the number of protocol translation sessions to 120, whether routing is turned on or off:
LAT-to-LAT over an IP WAN Example
The protocol translation software can be used to connect LAT devices over a WAN backbone that only allows routable protocols (see ). This configuration exists when LAT networks are either isolated or on their own internetwork.
With the protocol translation software, LAT traffic can be translated to TCP and then routed on the WAN as TCP traffic. The LAT connections stay local between the LAT device and the routing device running protocol translation software. Thus, connections are not susceptible to delays on the WAN. This reduces the amount of traffic on the WAN because only the data from specific LAT sessions is forwarded on the WAN rather than all the LAT protocol status information packets.
Figure 21-3 LAT-to-LAT over an IP WAN
The following example illustrates how to use the translate global configuration command to translate from LAT to LAT when an IP WAN is used. In this configuration, the routing device running protocol translation software routes encapsulated packets translated from LAT to TCP over the WAN. Packets are then translated back to LAT on the other side of the WAN. Example translation configurations for both routing device A and routing device B are shown, but these examples do not include specifics of configuration for devices in the WAN. These examples are essentially the same configurations for protocol translation as those in the earlier Frame Relay example.
! Translate LAT to TCP/Telnet for routing device A, which is on Network A
translate lat DISTANT-LAT tcp routing device A
! Translate TCP to LAT for routing device B, which is on Network B
translate tcp routing device B lat LAT-B
Note
You can use the same name (for example, "LAT-B") in the translate command for both routing device A and routing device B, because each device operates independently. However, this symmetry is not required. The key is the common IP name in both translate commands.
LAT-to-LAT over Frame Relay or SMDS Example
To transport LAT traffic over a Frame Relay or an SMDS network, LAT must first be translated to TCP. The TCP traffic is routed over the Frame Relay network and then translated back to LAT on routing device B on Network B. See .
Note
The interface configurations for a Frame Relay or an SMDS implementation differ from the specifications at the beginning of this chapter. For more information about configuring Frame Relay and SMDS, see the Router Products Configuration Guide.
Figure 21-4 LAT-to-LAT over Frame Relay or SMDS
The following example illustrates how to use translate global configuration command to translate from LAT to LAT when the WAN uses Frame Relay or SMDS. In this configuration, the Cisco IOS software routes encapsulated packets translated from LAT to TCP over the Frame Relay or SMDS network. Packets are then translated back to LAT on the other side of the Frame Relay or SMDS network.
! Translate LAT to TCP/Telnet on routing device A, which is on Network A
translate lat DISTANT-LAT tcp routing device A
! Translate TCP to LAT on routing device B, which is on Network B
translate tcp routing device B lat LAT-B
Note
You can use the same name (for example, "LAT-B") in the translate command for both routing device A and routing device B because each device operates independently. However, this symmetry is not required. The key is the common IP name used in both translate commands.
LAT-to-LAT Translation over a WAN Example
In Figure 21-5, LAT can be transported to a remote LAT device by translating the packets to TCP format and using Telnet to send them across the WAN. The configuration files for Routing Device A and Routing Device B follow the figure. The logical name TS-B1 is the name given to device TS-B.
Figure 21-5 LAT-to-LAT Translation over a WAN
Configuration for Routing Device A
ip address 192.168.32.16 255.255.0.0
! enable LAT on this interface
translate lat distant-LAT tcp TS-B1
Configuration for Routing Device B
ip address 192.168.38.42 255.255.0.0
! enable LAT on this interface
translate lat TS-B1 lat LAT-B
LAT-to-LAT over an X.25 Translation Example
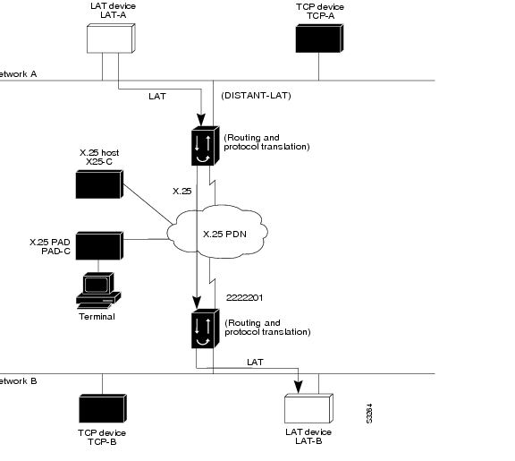
The protocol translation software provides transparent connectivity between LAT devices on different networks via an X.25 PDN. In , which illustrates this application, the LAT device on Network A (LAT-A) first makes a virtual connection to routing device A on Network A using the LAT protocol. Routing device A then translates the LAT packets into X.25 packets and sends them through the X.25 network to routing device B on Network B. Routing device B translates the X.25 packets back to LAT packets and establishes a virtual connection to the LAT device on Network B (LAT-B). These handoffs are handled transparently when the protocol translation software is configured for a one-step translation.
Figure 21-6 LAT-to-LAT via an X.25 PDN
The following two examples illustrate how to use the translate global configuration command to translate from LAT to X.25 and from X.25 back to LAT to allow connection service to a LAT device on Network B from a LAT device on Network A. This requires two separate configurations, one for each LAT device.
! Translate LAT to X.25 on routing device A, which is on Network A
translate lat DISTANT-LAT x25 2222201
! Translate X.25 to LAT on routing device B, which is on Network B
translate x25 2222201 lat LAT-B
In the first translate command, DISTANT-LAT defines a LAT service name for routing device A. When a user on device LAT-A attempts to connect to TCP-B, the target specified in the connect command is DISTANT-LAT. (The connect command is described in the Cisco Access Connection Guide.)
In the translate command for routing device B, the name of the LAT service on the target host (LAT-B) is LAT-B. Routing device B translates the incoming X.25 packets from 2222201 to LAT and then transparently relays these packets to LAT-B.
The following is an example of a connection request. In this configuration example, when the user enters this command, a connection attempt from LAT-A on Network A to TCP-B on Network B is attempted.
local> connect DISTANT-LAT
To configure routing device B to send information back from LAT-B to LAT-A, use commands symmetrical to the prior configuration (this path is not shown in ):
! Translate LAT to X.25 on routing device B, which is on Network B
translate lat FAR-LAT x25 1111103
! Translate X.25 to LAT on routing device A, which is on Network A
translate x25 1111103 lat LAT-A
Note
You can use the same name (for example, "LAT-B") in the translate command for both routing device A and routing device B because each routing device running protocol translation software operates independently. However, this symmetry is not required. The key is the common X.121 address used in both translate commands. If you prefer to have unique service names, set the names in each routing device to be the same.
LAT-to-TCP Translation over a WAN Example
Figure 21-7 shows a configuration that allows translation of LAT to TCP and transmission across an IP-based WAN. The configuration file for Routing Device A follows the figure. The logical LAT service name distant-TCP is the name given to device TCP-B.
Figure 21-7 LAT-to-TCP Translation over a WAN
Configuration for Routing Device A
ip address 192.168.38.42 255.255.0.0
! enable LAT on this interface
translate lat distant-TCP tcp TCP-B
LAT-to-TCP over an X.25 Example
You can use protocol translation software to provide transparent connectivity between LAT and TCP devices on different networks via an X.25 PDN. In the application illustrated in , the LAT device on Network A is communicating with the TCP device on Network B. There are two ways to provide this connectivity: the LAT traffic from Network A can be translated into either X.25 packets or TCP/IP packets to be sent out on the X.25 PDN.
If the traffic is translated from LAT directly into X.25 frames by routing device A, then routing device B on Network B translates incoming packets intended for device TCP-B into TCP. If routing device A converts LAT to TCP, then the TCP traffic is being encapsulated in X.25 and sent on the X.25 network; routing device B on Network B strips off the encapsulation and routes the TCP packet. In this case, protocol translation is not needed on routing device B.
If the traffic is translated to TCP by routing device A, the packets are encapsulated within X.25 frames. In general, translating the traffic directly to X.25 is more efficient in this application because no encapsulation is necessary. X.25 packets have only 5 bytes of header information, while TCP over X.25 has 45 bytes of header information.
Figure 21-8 LAT-to-TCP via X.25
The following examples illustrate how to use the translate global configuration command to translate from LAT to X.25 (on routing device A) and from X.25 to TCP (on routing device B), thus allowing connection service to a TCP device on Network B (TCP-B) from a LAT device on Network A (LAT-A). You must configure routing device A and routing device B separately.
! Translate LAT to X.25 on routing device A, which is on Network A
translate lat DISTANT-TCP x25 2222202
! Translate X.25 to TCP on routing device B, which is on Network B
translate x25 2222202 tcp TCP-B
In the translate command for routing device A, DISTANT-TCP defines a LAT service name for routing device A. When a user on device LAT-A attempts to connect to LAT-B, the target specified in the connect command is DISTANT-TCP.
In the translate command for routing device B, the TCP service on the target host (TCP-B) is TCP-B. Routing device B translates the incoming X.25 packets from 2222202 to TCP packets and transparently relays these packets to TCP-B.
The following is an example of a connection request. In this configuration example, when the user enters this command, a connection attempt from LAT-A on Network A to LAT-B on Network B is attempted.
local> connect DISTANT-TCP
Note
You can use the same name (for example, "TCP-B") in the translate command for both routing device A and routing device B, because each device operates independently. However, this symmetry is not required. The key is the common X.121 address used in both translate commands. If you prefer to have unique service names, set the names in each device to be the same.
LAT-to-X.25 Host Example
Protocol translation permits LAT devices to communicate with X.25 hosts through an X.25 PDN. In the application illustrated in , LAT-A is a LAT device that is communicating with X25-C, an X.25 host. The LAT traffic from LAT-A is translated to X.25.
Figure 21-9 LAT-to-X.25 Host Translation
The following example illustrates how to use the translate global configuration command to translate from LAT to X.25. It is applied to routing device A. This example sets up reverse charging for connections, which causes the routing device running protocol translation software to instruct the PDN to charge the destination for the connection. It is essentially a collect call. The reversal of charges must be pre-arranged with the PDN and destination location (on an administrative basis), or the call will not be accepted.
! Translate LAT to X.25 host, with reverse charging
translate lat X25-C x25 33333 reverse
! Specify optional X.25 hostname
Local IP Address Pool Example
The following example shows how to select the IP pooling mechanism and how to create a pool of local IP addresses that are used when a client dials in on an asynchronous line. The address pool is named group1 and comprised of interfaces 0 through 5.
! tell the server to use a local pool
! define the ip address pool
translate x25 5467835 ppp ip-pool scope-name group1
Local LAT-to-TCP Translation Example
Figure 21-10 shows a simple LAT-to-TCP translation across an Ethernet network. Its Cisco IOS configuration file follows the figure. The name TCPA is the logical name given to the device TCP-A.
Figure 21-10 Local LAT-to-TCP Translation
Configuration for Routing Device
ip address 192.168.38.42 255.255.0.0
! enable LAT on this interface
translate lat TCPA tcp TCP-A
Local LAT-to-TCP Example
Cisco IOS software running protocol translation can translate between LAT and Telnet traffic to allow communication among resources in these protocol environments. In , the LAT device on Network A (LAT-A) is shown connecting to a device running Telnet (TCP-A).
This is only a partial example. The commands in this example are only part of the complete configuration file for an individual device.
Figure 21-11 Local LAT-to-TCP Translation
The following example configures routing device A to translate from LAT to TCP:
! Translate LAT connections to TCP for connectivity to TCP-A
translate lat TCP-A tcp TCP-A
! Optional additional commands
lat service TCP-A ident Protocol Translation to TCP-A
In the last command, the text string "Protocol Translation to TCP-A" is an identification string for the LAT service named TCP-A. This string is sent to other routing devices on the local network.
Standalone LAT-to-TCP Translation Example
If you need a large number of local LAT-to-TCP translation sessions, you can set up routing device A to use only an Ethernet port. This application allows 100 concurrent translation sessions. In the applications illustrated in , any other routing device that supports protocol translation can be used to interconnect network segments performing bridging or routing.
Figure 21-12 Routing Device Functioning as a Standalone Protocol Translator
! Translation Configuration for routing device A only
ip address 10.0.0.2 255.255.0.0
! enable LAT on this interface
default-gateway 10.0.0.100
translate lat TCP-A tcp TCP-A
translate lat TCP-B tcp TCP-B
translate tcp LAT-A lat lat-z
! etc...translate commands as required
Tunneling SLIP inside TCP Example
A routing device running protocol translation software can translate between TCP and SLIP traffic to allow communication among resources in these protocol environments. In , the PC running SLIP is connecting to a TCP/IP network and making a connection with the device IP host. This example enables routing and turns on header compression.
Figure 21-13 Tunneling SLIP inside TCP Example
The following configuration tunnels SLIP inside of TCP packets from the SLIP client with IP address 2.0.0.5 to the routing device. It then establishes a protocol translation session to IP host. Routing and header compression are enabled for the SLIP session.
translate tcp 10.0.0.1 slip 10.2.0.5 routing header-compression passive
The device IP host on a different network attached to the routing device can be accessed by the SLIP client because routing has been enabled on the interface in the routing device where the SLIP session is established.
This is only a partial example. The commands in this example would be only part of the complete configuration file for an individual device.
Tunneling PPP inside X.25 Example
Cisco IOS software can tunnel PPP traffic inside of X.25 to allow communication among resources in these protocol environments. In Figure 21-14, the PC establishes a SLIP or PPP session the Cisco IOS software through an X.25 network using CHAP authentication.
Figure 21-14 Tunneling SLIP or PPP in X.25
The following configuration tunnels PPP inside X.25 packets from the PPP client to the virtual asynchronous interface with IP address 10.0.0.4. Routing and CHAP authentication are enabled for the PPP session. The X.121 address of the X.25 host is 31370054065. An X.29 profile script names x25-ppp is created using the following X.3 PAD parameters:
•
1:0, 2:0, 3:2, 4:1, 5:0, 6:0, 7:21, 8:0, 9:0, 10:0, 11:14, 12:0, 13:0, 14:0, 15:0, 16:127, 17:24, 18:18, 19:0, 20:0, 21:0, 22:0
For more information about X.3 PAD parameters, refer to the appendix "X.3 PAD Parameters" in the Remote Node and Terminal Services Command Reference. If you were performing a two-step connection, you would specify these X.3 PAD parameters using the pad [/profile name] command, which is described in the chapter "Remote Node and Terminal Connections using Protocol Translation" in the Cisco Access Connection Guide.
With the routing device connected to IP host, the PC running SLIP or PPP can now communicate with the IP host.
2509(config)# X29 profile x25-ppp 1:0 2:0 3:2 4:1 5:0 6:0 7:21 8:0 9:0
10:0 11:14 12:0 13:0 14:0 15:0 16:127 17:24 18:18
2509(config)# translate x25 31370054065 profile x25-ppp ppp 10.0.0.4 routing
authentication chap
This is only a partial example. The commands in this example would only be a part of the complete configuration file for an individual device.
X.25 PAD-to-LAT Example
Protocol translation permits terminals connected to X.25 PADs to communicate with LAT devices on a remote LAN (). X.25 PAD terminals make a call using an X.121 address, which is translated to a LAT node. To the PAD terminal user, the connection appears to be a direct connection to a host on the X.25 PDN. Cisco IOS software also supports X.29 access lists, which allow you to restrict LAN resources (LAT or TCP) available to the PAD user.
Figure 21-15 X.25 PAD-to-LAT Translation
The following example illustrates how to use the translate global configuration command to translate from an X.25 PAD to a LAT device on Network A. It is applied to routing device A. The configuration example includes an access list that limits remote LAT access through routing device A to connections from PAD-C.
! Define X25 access list to only allow pad-c
x29 access-list 1 permit ^44444
x29 access-list 1 deny .*
translate x25 1111101 lat LAT-A access-class 1
This configuration example typifies the use of access lists in the IOS software. The first two lines define the scope of access-list 1. The first line specifies that access list 1 will permit all calls from X.121 address 44444. The caret symbol (^) specifies that the first number 4 is the beginning of the address number. Refer to the appendix "Regular Expressions" later in this publication for details concerning the use of special characters in defining X.121 addresses. The second line of the definition explicitly denies calls from any other number.
This access list is then applied to all incoming traffic on the serial port for routing device A (X.121 address 1111101) with the third configuration line in the example. However, it applies only to the translate command at the end of this example. This translate command specifies that incoming X.25 packets on the serial line (with address 1111101) are translated to LAT and sent to LAT-A if they pass the restrictions of the access list.
If you define multiple X.25 translate commands, each must contain a unique X.121 address. It is also important that the ITU-T protocol used in transferring packets match among X.121 addresses. This is specified in the protocol identification field of call-user data. This field specifies whether a packet is routed, translated, or handled as a virtual terminal connection.

Note
The X.121 address 1111101 used in this example can be a subaddress of the address 11111 originally assigned to this serial port on routing device A at the beginning of the configuration example section. However, that is not a requirement. The number to use in the translate command is negotiated (administratively) between your network management personnel and the PDN service provider. The X.121 address in the translate command represents the X.121 address of the calling device. That number might or might not be the number (or a subaddress of the number) administratively assigned to the routing device that supports protocol translation software. It is up to you and the PDN to agree on a number to be used, because it is possible that the PDN can be configured to place calls on a given line that are intended for a destination that does not match the number assigned by you in the configuration file. Refer to the 1984 CCITT Red Book specifications for more information concerning X.121 addresses.
X.25 PAD-to-TCP Example
Making a translated connection from an X.25 PAD to a TCP device () is analogous to the preceding X.25 PAD-to-LAT example. Instead of translating to LAT, the configuration for routing device A includes a statement to translate to TCP (Telnet). Note that a routing device running protocol translation software can include statements supporting both translations (X.25 PAD-to-LAT and X.25 PAD-to-TCP). Different users on the same PAD can talk to X.25, LAT, or TCP devices.
Figure 21-16 X.25 PAD-to-TCP Translation
The following example illustrates how to use the translate global configuration command to translate from an X.25 PAD to a TCP device on Network A. It is applied to routing device A.
translate x25 2222 tcp TCP-A
X.29 Access List Example
The following example illustrates an X.29 access list. Incoming permit conditions are set for all IP hosts and LAT nodes that have specific characters in their names. All X.25 connections to a printer are denied. Outgoing connections are restricted.
!Permit all IP hosts and LAT nodes beginning with "VMS".
!Deny X.25 connections to the printer on line 5.
access-list 1 permit 0.0.0.0 255.255.255.255
lat access-list 1 permit ^VMS.*
x29 access-list 1 deny .*
!Permit outgoing connections for other lines.
!Permit IP access with the network 172.16
access-list 2 permit 172.16.0.0 0.0.255.255
!Permit LAT access to the prasad/gopala complexes.
lat access-list 2 permit ^prasad$
lat access-list 2 permit ^gopala$
!Permit X.25 connections to Infonet hosts only.
x29 access-list 2 permit ^31370
translate tcp 172.16.1.26 x25 5551234 access-class 2
X.3 Profile Example
The following profile script turns local edit mode on when the connection is made and establishes local echo and line termination upon receipt of a Return. The name linemode is used with the translate command to effect use of this script.
x29 profile linemode 2:1 3:2 15:1
translate tcp 172.16.1.26 x25 55551234 profile linemode
The X.3 PAD parameters are described in the appendix "X.3 PAD Parameters" later in this publication, and in the Cisco Access Connection Guide.
Protocol Translation Session Examples
This section illustrates how to make connections for protocol translation using the one-step and two-step methods.
Using the One-Step Method for TCP-to-X.25 Host Connections
This example illustrates one-step protocol translation featuring a UNIX workstation user making a connection to a remote X.25 host named host1 over an X.25 PDN. The protocol translator automatically converts the Telnet connection request to an X.25 connection request and transmits the request as specified in the system configuration.
•
A connection is established by entering the telnet EXEC command at the UNIX workstation system prompt, as follows:
Note
This example implicitly assumes that the name host1 is known to the UNIX host (obtained via DNS, IEN116, or a static table) and is mapped to the IP address used in a translate command.
The protocol translator accepts the Telnet connection and immediately forms an outgoing connection with remote host1 as defined in a translate command in your protocol translator's active configuration file.
Next, host1 sets several X.3 parameters, including local echo. Since the Telnet connection is already set to local echo (at the UNIX host), no changes are made on the TCP connection.
The host1 connection prompts for a user name, then host1 sets the X.3 parameters to cause remote echo (the same process as setting X.3 PAD parameter 2:0), and prompts for a password. The protocol translator converts this to a Telnet option request on the UNIX host, which then stops the local echo mode.
At this point the user is connected to the PAD application and the application will set the X.3 PAD parameters (although they can always be overridden by the user). When the user is finished with the connection, he enters the escape character to exit back to the host connection, then enters the appropriate command to close the connection.
The host1 host immediately closes the X.25 connection. The protocol translator then drops the TCP connection, leaving the user back at the UNIX system prompt.Using the Two-Step Method for TCP-to-PAD Connections
To use the two-step method, perform the following steps:
Step 1
Connect directly from a terminal or workstation to a protocol translator.
For example, you might make the following connection requests at a UNIX workstation as a first step to logging into a database called Information Place on an X.25 PDN:
If the protocol translator named orion is accessible, it returns a login message and you enter your login name and password.
Step 2
Connect from the protocol translator to Information Place, which is on an X.25 host. You connect to an X.25 host using the pad EXEC command followed by the service address:
Once the connection is established, the protocol translator immediately sets the PAD to single character mode with local echoing, since this is the behavior the protocol translator expects. The PAD responds with its login messages and a prompt for a password:
Welcome to the Information Place
Because the password should not echo on your terminal, the PAD requests remote echoing so that characters will be exchanged between the PAD and the protocol translator, but not echoed locally or displayed. After the password is verified, the PAD again requests local echoing from the protocol translator, which it does from then on.
To complete this sample session, you log off, which returns you to the protocol translator system EXEC prompt. From there, you execute the EXEC quit command and the protocol translator drops the network connection to the PAD.
Changing Parameters and Settings Dynamically
The following example illustrates how to make a dynamic change during a protocol translation session. In this example, you need to edit information on remote host Information Place. Suppose that you need to change the X.3 PAD parameters that define the editing characters from the default Delete key setting to the Ctrl-D sequence.
Step 1
Enter the escape sequence to return to the system EXEC prompt:
Ctrl ^ x
Step 2
Enter the resume command with the /set keyword and the desired X.3 parameters. X.3 parameter 16 sets the Delete function. ASCII character 4 is the Ctrl-D sequence.
Routing device> resume /set 16:4
The session resumes with the new settings, but now you notice that information is not being displayed correctly. You might want to set the /debug switch to check that your parameter setting has not been changed by the host PAD.
Step 3
Enter the escape sequence to return to the system EXEC prompt, then enter the resume command with the /debug switch.
Routing device> resume /debug
The /debug switch provides helpful information about the connection.
You can also set a packet dispatch character or sequence using the terminal dispatch-character command.
The following example shows how to set ESC (ASCII character 27) as a dispatch character:
Routing device> terminal dispatch-character 27
To return to the PAD connection, enter the following: