Cisco MPLS Diagnostics Expert の使用
この項では、Diagnostics を使用する方法について説明します。
次の事項について説明します。
•
「Diagnostics 接続テストの概要」
•
「MPLS VPN 接続性検証テストの実行」
•
「[Progress] ウィンドウ」
•
「テスト結果の解釈」
•
「高度なトラブルシューティング オプション」
•
「トンネル チェックのオフ:他社製 P ルータを使用したネットワークの場合」
図 11-3 に、Diagnostics を使用する場合のワークフローを示します。
図 11-3 Diagnostics 使用ワークフロー
1.
テストの選択、設定、および実行:MPLS VPN 接続性検証テストを設定して実行します。「MPLS VPN 接続性検証テストの実行」を参照してください。
2.
VPN 情報によるテストの設定:オプションで、VPN 情報を使用して MPLS VPN 接続性検証テストを設定します。これは、Prime Provisioning VPN プロビジョニング機能を使用してネットワーク内に VPN をプロビジョニングした場合にのみ可能です。「カスタマー VRF 情報を使用した設定」および「カスタマー VPN/VRF 情報を使用した設定」を参照してください。
3.
テスト結果の表示:MPLS VPN 接続性検証テストの結果を、テスト ログを含めて表示します。「テスト結果の解釈」を参照してください。
4.
リバース パス テスト:高度なトラブルシューティングであるリバース パス テストを実行します。「リバース パス テスト」を参照してください。
5.
LSP 可視化:高度なトラブルシューティングである LSP 可視化を実行します。「LSP 可視化」を参照してください。
6.
推奨フィックスの実装:テスト結果の推奨に従ってフィックスを実装します。
7.
再テスト:MPLS VPN 接続性検証テストを再実行します。通常、実装したフィックスを確認するために実行します。
L3VPN - CE to CE 接続性テスト
L3VPN - CE to CE テスト(図 11-4)は、2 つの CE 間またはカスタマー デバイス IP アドレスが既知のカスタマー デバイス間の MPLS VPN 接続性をチェックします。
図 11-4 L3VPN - CE to CE 接続性テスト
この場合、Diagnostics はコア、エッジ、および接続回線のトラブルシューティングを実行します。
IPv6 トラブルシューティング
L3VPN - CE to CE テストでは、次のすべての条件が満たされている場合に、IPv6 セグメントのトラブルシューティングを起動します。
•
インターフェイス選択画面でグローバル ユニキャスト IPv6 アドレスが入力された行を選択した、または指定したローカルおよびリモート PE アクセス回線インターフェイスがグローバル ユニキャスト IPv6 アドレスを持っている、またはデータベースでインターフェイスの詳細情報を使用できない場合。
•
ローカルサイトおよびリモートサイトに指定した CE アクセス回線インターフェイス IP アドレスの両方がグローバル ユニキャスト IPv6 アドレスの場合。
•
オプションで、ローカル サイトおよびリモート サイトの両方またはいずれか一方に指定したカスタマー デバイス IP アドレスがグローバル ユニキャスト IPv6 アドレスの場合。
L3VPN - PE to attached CE 接続性テスト
L3VPN - PE to attached CE 接続テスト(図 11-5)は、PE とローカルに接続された CE 間の VPN 接続性テストを実行します。この場合、Diagnostics はエッジおよび接続回線のトラブルシューティングを実行します。
図 11-5 L3VPN - PE to attached CE 接続性テスト
L3VPN - PE to attached CE 接続性テストは、逆の方向には実行できません。
接続の問題は、多くの場合ローカルの接続回線に原因があります。利用できない可能のあるリモート サイトの PE および CE の詳細を必要とせずに、ローカルの接続回線を単独でテストできます。
L3VPN - PE to attached CE 接続性テストによって、VRF 対応 IP SLA プローブで報告されるものと同じ接続回線の接続断を診断できます。この通知には、Diagnostics で対応するアクセス回線の接続性テストを設定するために必要な、すべての情報が含まれています。
IPv6 トラブルシューティング
L3VPN - PE to attached CE テストでは、次のすべての条件が満たされている場合に、IPv6 セグメントのトラブルシューティングを起動します。
•
インターフェイス選択画面でグローバル ユニキャスト IPv6 アドレスが入力された行を選択した、または指定した PE アクセス回線インターフェイスがグローバル ユニキャスト IPv6 アドレスを持っている、またはデータベースでインターフェイスの詳細情報を使用できない場合。
•
指定した CE アクセス回線インターフェイス IP アドレスがグローバル ユニキャスト IPv6 アドレスの場合。
•
オプションで、指定したカスタマー デバイス IP アドレスがグローバル ユニキャスト IPv6 アドレスの場合。
L3VPN - CE to PE across Core 接続性テスト
L3VPN - CE to PE across Core 接続性テスト(図 11-6)は、MPLS コアをまたいだ、CE またはカスタマーデバイス(カスタマー デバイス IP アドレスが既知のもの)と PE 間の MPLS VPN 接続性をチェックします。
図 11-6 L3VPN - CE to PE across Core 接続性テスト
この場合、Diagnostics はコア、両方のエッジ、および接続回線のトラブルシューティングを実行します。
IPv6 トラブルシューティング
L3VPN - CE to PE across Core テストでは、次のすべての条件が満たされている場合に、IPv6 セグメントのトラブルシューティングを起動します。
•
インターフェイス選択画面でグローバル ユニキャスト IPv6 アドレスが入力された行を選択した、または指定した PE アクセス回線インターフェイスがグローバル ユニキャスト IPv6 アドレスを持っている、またはデータベースでインターフェイスの詳細情報を使用できない場合。
•
指定した CE アクセス回線インターフェイス IP アドレスがグローバル ユニキャスト IPv6 アドレスの場合。
•
オプションで、指定したカスタマー デバイス IP アドレスがグローバル ユニキャスト IPv6 アドレスの場合。
•
選択または指定された PE アクセス回線インターフェイスにグローバル ユニキャスト IPv6 アドレスがあるか、インターフェイス詳細がデータベースにない場合。
L3VPN - PE to PE in VRF 接続性テスト
VRF 接続性テストの L3VPN - PE to PE(図 11-7)は、2 つの PE 間の MPLS 接続性をチェックします。Diagnostics はコアおよび両側のエッジのトラブルシューティングを実行します。
図 11-7 L3VPN - PE to PE in VRF 接続性テスト
組織によっては、コアまたはエッジ ネットワークをプロビジョニングしても、すぐには CE を割り当てないことがあります。L3VPN - PE to PE in VRF 接続性テストを使用すると、段階的にネットワークを展開してテストできます。また、このテスト オプションでは高い柔軟性も提供され、CE 情報の準備ができていないときにエッジまたはコア ネットワーク セグメントをテストできます。
さらに、L3VPN - PE to PE in VRF 接続性テストによって、VRF 対応 IP SLA プローブで報告されるものと同じ短距離(PE からリモート PE)VPN 接続断も診断できます。この通知には、Diagnostics で対応するエッジの接続性テストを設定するために必要な、すべての情報が含まれています。
IPv6 トラブルシューティング
L3VPN - PE to PE in VRF テストでは、次のすべての条件が満たされている場合に、IPv6 セグメントのトラブルシューティングを起動します。
•
グローバル ユニキャスト IPv6 アドレスを持つローカル サイト PE アクセス回線インターフェイスまたはリモート サイト PE アクセス回線インターフェイスのいずれかを、インターフェイス選択画面で選択する必要がある場合。
•
インターフェイス選択画面でグローバル ユニキャスト IPv6 アドレスが入力された行を選択した、または指定したローカル PE アクセス回線インターフェイスがグローバル ユニキャスト IPv6 アドレスしか持っていない場合。
•
インターフェイス選択画面でグローバル ユニキャスト IPv6 アドレスが入力された行を選択した、または指定したリモート PE アクセス回線インターフェイス IP アドレスがグローバル ユニキャスト IPv6 アドレスしか持っていない場合。
L3VPN - PE to PE 接続テスト
L3VPN - PE to PE コア接続性テスト(図 11-8)は、2 つの PE 間の MPLS 接続性をチェックします。
図 11-8 L3VPN - PE to PE コア接続性テスト
L3VPN - PE to PE コア テストは、CE インターフェイスへのアクセスがブロックされている場合(たとえばアクセス リストの使用によるもの)または組織内の異なるグループが、それぞれ別のネットワーク セグメントについて責任を負っている場合を対象にしています。たとえば、Core グループの P に問題があるが、完全な CE-CE または PE-PE テストを実行するためのエンド カスタマーのコンテキストがない場合が該当します。
L3VPN - PE to PE コア テストによって、MPLS 対応 PE 間の接続性をテストする IP SLA ヘルス モニタ プローブで報告されるものと同じコア接続断を診断できます。この通知には、Diagnostics で対応するコアの接続性テストを設定するために必要な、すべての情報が含まれています。
IPv6 トラブルシューティング
コア内の L3VPN - PE to PE テストの場合、このテスト タイプは IPv4 アドレスのみを使用するため、IPv6 トラブルシューティングは開始できません。
[MPLS Diagnostics Expert Feature Selection] ウィンドウを開く
(注) 同じクライアント マシンで並行して複数の MPLS VPN 接続性検証テストを実行する場合は、各テストを異なる HTTP セッションで実行する必要があります。そのためには、コマンドライン、またはデスクトップのブラウザのアイコン、または [Start] メニューから起動した個別のブラウザで各テストを実行します。同じブラウザ ウィンドウの別のタブ、または既存のブラウザ ウィンドウから起動したブラウザ ウィンドウで、複数のテストを並行して実行しないでください。
ステップ 1
Prime Provisioning にログインします。ログイン方法の詳細については、 『Cisco Prime Provisioning 6.3 Installation Guide』 を参照してください(「 Installing and Logging Into Prime Provisioning 」 > 「 Logging In for the First Time 」)。
Prime Provisioning のホーム ウィンドウが表示されます。
ステップ 2
[Diagnostics] タブをクリックします。
[MPLS Diagnostics Expert Feature Selection] ウィンドウが表示され、使用できる MPLS VPN 接続性検証テスト タイプが示されます。
(注) また、少なくとも 1 つの Diagnostics ユーザ ロールが割り当てられていることを確認する必要があります。「ユーザ ロール」を参照してください。
(注) 使用できるテスト タイプは、割り当てられているユーザ ロールによって決まります。ユーザ ロールは、テスト タイプごとに定義する必要があります。テスト タイプにアクセスできない場合、そのテスト タイプは [MPLS Diagnostics Expert Feature Selection] ウィンドウに表示されません。詳細については、「ユーザ ロール」を参照してください。
L3VPN - CE to CE テストの選択、設定および実行
この項では、L3VPN - CE to CE テスト タイプを選択、設定、および実行する方法の詳細について説明します。
ステップ 1
[Diagnostics] メニューから、[L3VPN - CE to CE] テスト タイプを選択します。
ステップ 2
[L3VPN - CE to CE] 接続性検証テスト タイプをクリックします。
L3VPN - CE to CE 接続性検証テスト タイプの詳細については、「L3VPN - CE to CE 接続性テスト」を参照してください。[L3VPN - CE to CE] ウィンドウが表示され、L3VPN - CE to CE テスト タイプに対応する入力ウィンドウが表示されます。
ヒント 使用できるテスト タイプごとに独自の入力ウィンドウがあり、異なるパラメータのセットを必要とします。たとえば、L3VPN - CE to CE テストにはローカル サイトとリモート サイトの両方の情報が必要で、L3VPN - PE to attached CE テストのテスト設定ウィンドウではローカル サイトの詳細だけが要求されます。
図 11-9 L3VPN - CE to CE テスト タイプ
[L3VPN - CE to CE] ウィンドウを使用して、実行する接続性テストを設定できます。
このウィンドウには、次のコンポーネントが表示されます。
•
ネットワーク図
•
ローカル サイト設定領域
•
リモート サイト設定領域
ネットワーク図は、テストを設定するために入力する必要がある情報のコンテキストを提供する静的なイメージです。
MPLS VPN 接続性検証は、VPN 内にある 2 つのサイト間の接続性をテストします。テストを通じて、これらのサイトはローカル サイトおよびリモート サイトと呼ばれます。接続性の問題は、特定のサイトの視点から報告または検出されることが予想されます。通常は、この特定のサイトをローカル サイトとして使用し、このサイトからテストを実行します。ただし、これは必須ではありません。接続性は両方向でテストできるため、どちらのサイトもローカル サイトまたはリモート サイトとして使用できます。
L3 VPN 接続性テストの範囲(図 11-10 を参照)は、サイトごとに変更できます。サイトごとに、そのサイト内にあるカスタマー デバイスへの接続性(図 11-10 の 1 )、または CE アクセス回線インターフェイスへの接続性(図 11-10 の 2 )をテストできます。テスト範囲は、指定した設定によって決まります。
カスタマー デバイスの IP アドレスが既知の場合は、そのデバイスへの接続性検証テストを実行することを推奨します。カスタマー デバイスの IP アドレスが未知の場合は、サイトの CE までの接続性検証テストを実行できます。
図 11-10 テスト範囲
1.
カスタマー デバイス。
2.
CE アクセス回線インターフェイス。
カスタマー サイトのサブネットワーク内にあるデバイスへの接続性をテストするには、[Customer Device IP Address] フィールドにデバイスの IP アドレスを入力します。デフォルトでは、サイトの必須フィールドだけを指定した場合、CE アクセス回線インターフェイスへのテストが実行されます。
(注) 必須フィールドは、[L3VPN - CE to CE Diagnostics - Test Setup] ウィンドウに、青いアスタリスクで示されています。すべての必須フィールドに有効な情報が入力されるまでは、次に進めません。
(注) /30 または /31 アドレッシングが使用されている場合は、[CE Access Circuit Interface IP Address] フィールドは Diagnostics により自動的に入力されます。
Cisco IOS および Cisco IOS XR アクセス コントロール リスト(ACL)により、さまざまな基準に基づいて選択したトラフィックがブロックされるようにできます。カスタマー デバイスまたは CE インターフェイスへの MPLS VPN 接続性検証テストを実行したときに、CE 上で設定されている ACL が原因で、矛盾した結果が報告される場合があります。可能な場合、MPLS VPN 接続性検証テストは、CE デバイス上で設定されている ACL によってトラフィックがブロックされたことを報告します。ただし ACL の設定によっては、CE デバイス上で設定されている ACL によってトラフィックがブロックされたことを識別できない場合があります。場合によっては、MPLS VPN 接続性検証テストでアクセス回線の障害または不明な障害が報告されることがあります。トラフィックが CE でブロックされている疑いがある場合は、そのサイトの [Pings Ignored] チェックボックスをオンにしてください。このようにすると、Diagnostics はトラブルシューティング時にブロッキング アクセス ACL を考慮し、見つかった問題についてより正確な診断が返されます。
(注) サイトの [Pings Ignored] チェックボックスをオンにした場合は、CE IP アドレスとオプションで [Customer Device IP Address] フィールドを使用して、PE デバイスでトラブルシューティングおよび設定チェックが実行されます。
ステップ 3
必要に応じて [L3VPN - CE to CE] ウィンドウのフィールドを設定します。
表 11-3 には、[L3VPN - CE to CE] ウィンドウのフィールド説明が表示されています。
(注) 表示されるフィールドは、選択したテスト タイプによって異なります。たとえば、CE to CE テストにはローカル サイトとリモート サイトの両方の情報が必要で、PE to attached CE テストのテスト設定ウィンドウではローカル サイトの詳細だけが要求されます。
(注) テストを設定する別の方法として、カスタマー VPN 情報を使用する方法があります。詳細については、「カスタマー VPN/VRF 情報を使用した設定」を参照してください。
表 11-3 [L3VPN - CE to CE Diagnostics - Test Setupp] ウィンドウのフィールドの説明
|
|
|
|
Find by VRF |
All |
[Find by VRF] ボタンをクリックして、VRF 検索を使用して特定される PE ホスト名または PE インターフェイスの詳細を使用するテストを設定します。(「カスタマー VRF 情報を使用した設定」を参照)。 |
PE Device Name |
All |
[PE Device Name] フィールドにサイトの PE デバイス名を入力するか、[Select] ボタンをクリックしてサイトの PE デバイス名を選択します。 (注) [Select] ボタンをクリックすると、[Select PE Device] ウィンドウが開きます。(「PE デバイスの選択」を参照してください)。 デバイス名は、デバイスの完全修飾ホスト名およびドメイン名です。たとえば、router1.cisco.com とします。ただし、ドメイン名はオプションであるため、多くの場合デバイス名はデバイスのホスト名です。たとえば、router1 とします。 指定するデバイス名は、ロール タイプが N-PE の PE デバイスのデバイス名と一致する必要があります。 |
LSP Endpoint Loopback IP Address |
L3VPN - PE to PE コアのみ |
BGP ネクスト ホップがピア PE の BGP ルータ ID と異なる場合は、BGP ネクスト ホップを入力します。ループバック IP アドレスを入力するか、IP アドレスに解決されるループバック名を入力できます。 コアをテストするときは、ローカル PE からリモート PE に MPLS OAM ping およびトレースが実行されます。この ping の宛先によって、ローカル PE のルーティング情報に基づいて LSP が選択されます。 カスタマー トラフィックは、カスタマー ルートの BGP ネクスト ホップ アドレスを宛先として使用し、LSP を選択します。Diagnostics がテストする IP プレフィックスがカスタマー トラフィックで使用される BGP ネクスト ホップ アドレスと一致していることを確認してください。これによって、Diagnostics はカスタマー トラフィックが経由する LSP と同じ LSP をテストするようになります。 L3VPN - PE to PE コア テストの場合、Diagnostics はカスタマー ルート情報を持っていません。そのため、Diagnostics は BGP ネクスト ホップを識別できず、ping の宛先の選択はネクスト ホップではなくリモート PE の BGP ルータ ID に基づきます。 ネットワーク設定によっては、このルータ ID がカスタマー トラフィックで使用されるネクスト ホップと一致せず、不正な LSP がテストされる(または、どの LSP もテストされない)ことがあります。 これは、次のような場合に発生します。 • BGP ルータ ID が、LSP が割り当てられていないループバックのアドレスである。 • BGP ルータ ID がループバックのアドレスでない。 • カスタマーが複数の定義済み LSP を持っており、カスタマー トラフィックはルータ ID により与えられた LSP 以外の LSP を使用している。 • カスタマーが複数の定義済み LSP を持っており、カスタマー トラフィックがルートマップに基づいて LSP を切り替える。 上記の場合は、正しい BGP ネクスト ホップを指定する必要があります。 (注) LSP エンドポイント ループバック IP アドレスを指定することで、Diagnostics は MPLS コアにある複数の LSP でコアの障害をテストおよび検出できるようになります。 詳細については、 「MPLS - PE to PE テストへの LSP エンドポイント ループバック IP アドレスの設定」 を参照してください。 |
PE Access Circuit Interface |
L3VPN - CE to CE L3VPN - PE to attached CE L3VPN - CE to PE across Core L3VPN - PE to PE in VRF |
[PE Access Circuit Interface] フィールドに PE アクセス回線インターフェイスのインターフェイス名を入力するか、[Select] ボタンをクリックして PE アクセス回線インターフェイスを選択します。 (注) [Select] ボタンをクリックすると[Select Device Interface] ウィンドウが開きます(「PE アクセス回線インターフェイスの選択」を参照)。 PE アクセス回線インターフェイスを選択するには、有効な PE デバイス名を指定しておく必要があります。指定されたインターフェイスは、サイトの CE に接続されているアクセス回線インターフェイスになっている必要があります。指定されたインターフェイス名は、デバイスのインターフェイスと一致する必要がありますが、必ずしも Prime Provisioning デバイス インベントリに存在する必要はありません。 |
CE Access Circuit Interface IP Address |
L3VPN - CE to CE L3VPN PE to attached CE L3VPN - CE to PE across Core |
ローカル サイトの CE アクセス回線インターフェイスの IP アドレスを入力します。これは、指定された PE に接続されているアクセス回線インターフェイスにする必要があります。 IPv4 アドレッシングと /30 サブネット マスク(255.255.255.252)または /31 サブネット マスク(255.255.255.254)を使用して設定された PE アクセス回線インターフェイスが選択された場合、その /30 または /31 サブネットで残っているホスト アドレスが [CE Access Circuit Interface IP Address] フィールドに自動的に入力されます。/31 マスク(255.255.255.254)サブネット マスクで設定されている PE アクセス回線インターフェイスを手動で入力した場合、CE アクセス回線インターフェイス IP アドレスの取得は、テストの開始後でないと試行されません。この場合、[CE Access Circuit Interface IP Address] フィールドは [OK] ボタンをクリックするまで自動入力されません。 PE アクセス回線インターフェイスが IP アンナンバードを使用している場合、または CE アクセス回線インターフェイスが別のサブネットにある場合、正しい CE アクセス回線インターフェイス IP アドレスを取得できません。 このテストは、管理対象および管理対象外のシスコ製 CE デバイスおよび他社製 CE デバイスをサポートしています。 |
Pings Ignored |
L3VPN - CE to CE L3VPN - PE to attached CE L3VPN - CE to PE across Core |
このチェックボックスをオンにして、プロバイダー コア ネットワークから発信された ping およびトレース ルート パケットを無視する ACL が CE で設定されていることを指定します。 |
Customer Device IP Address |
L3VPN - CE to CE L3VPN - PE to attached CE L3VPN - CE to PE across Core |
ローカル サイト カスタマー ネットワーク上のカスタマー デバイス IP アドレスを入力します。カスタマー デバイスの IP アドレスを入力すると、このデバイスへの接続性テストが実行されます。 |
Find by Service |
All |
[Populate using VPN/VRF] ウィンドウを開くには、[Find by Service] ボタンをクリックします。[Populate using VPN/VRF] ウィンドウでは、カスタマー VPN/VRF 情報を使用してテストを設定できます(「カスタマー VPN/VRF 情報を使用した設定」を参照)。 |
[OK] ボタン |
All |
[OK] をクリックして、テストを実行します。 |
[Clear] ボタン |
All |
[Clear] をクリックして、ウィンドウのすべてのフィールドをリセットします。 |
ステップ 4
すべての必須フィールドに入力したら、[OK] をクリックしてテストを実行します。
[Progress] ウィンドウが表示されます。「[Progress] ウィンドウ」を参照してください。
PE デバイスの選択
(ローカルまたはリモートの [PE Device Name] の)[Select] ボタンをクリックすると、[Select PE Device] ウィンドウ(図 11-11を参照)が開き、ローカルまたはリモート サイト PE を選択できます。[Select PE Device] ウィンドウには、インベントリで使用できるすべての PE デバイスを含むテーブルが表示されます。
(注) Diagnostics デバイス セレクタのデフォルト値を設定できます。図 11-11 を参照してください。設定可能な値は、[Device Name]、[Provider]、および [PE Region Name] です。
図 11-11 [Select PE Device] ウィンドウ
(注) PE 表に表示されるすべての PE 属性について、ワイルドカードを使用した文字列検索を実行できます。Prime Provisioning インベントリからローカルまたはリモート サイトの PE を選択すると、ローカルまたはリモートの [PE Device Name] フィールドに入力されたすべての値が上書きされます(図 11-9 を参照)。この検索機能は、大量の PE がある大規模なネットワークで便利です。
PE アクセス回線インターフェイスの選択
(ローカルまたはリモートの [PE Access Circuit Interface] の)[Select] ボタンをクリックすると、[Select Device Interface] ウィンドウ(図 11-12を参照)が開き、インターフェイス名を選択できます。[Select Device Interface] ウィンドウには、選択されたローカルまたはリモート PE デバイスのすべてのインターフェイスを含むテーブルが表示されます。
図 11-12 [Select Device Interface] ウィンドウ
表に表示されるすべての属性について、ワイルドカードを使用した文字列検索を実行できます。Prime Provisioning インベントリからローカルまたはリモートの PE アクセス回線インターフェイスを選択すると、ローカルまたはリモートの [PE Access Circuit Interface] フィールドに入力されたすべての値が上書きされます(図 11-9を参照)。
表 11-4 に、[Select Device Interface] ウィンドウのフィールドの説明を示します。
ワンポイント アドバイス [Show Device Interfaces with] ドロップダウン ボックスと [matching] フィールドを使用して、最初に適切な検索パターンを入力します(図 11-12 を参照)。これによって、大規模なネットワークで発生する、大きくて時間がかかる余分な検索をせずに済みます。表 11-4 に、[Select Device Interface] ウィンドウのフィールドの説明を示します。
表 11-4 [Select Device Interface] ウィンドウのフィールドの説明
|
|
|
Show Device Interfaces with |
[Show Devices with] ドロップダウン ボックスを使用して、検索結果を調整できます。ドロップダウン メニューから [Interface Name]、[IPV4 Address]、[IPV6 Address]、[VRF Name]、または [Interface Description] を選択して、検索結果を調整するカテゴリを選択します。 |
matching(オプション フィールド) |
[Show Devices with] ドロップダウン ボックスで選択したカテゴリ内の検索を調整するための情報を、[matching] フィールドに入力します。部分文字列としてテキストを入力します。ワイルドカードもサポートされます。 |
LDP Termination Only |
[LDP Termination Only] チェックボックスは、LDP 終端ループバック インターフェイスの選択が必要な場合に、LDP 終端ループバック インターフェイスをフィルタリングするために使用します。このチェックボックスは、オフのままにします。 |
Find |
[Find] をクリックして、[Select Device Interface] ウィンドウで設定した情報を使用して検索を実行します。 |
Interface Name |
検索の実行後、見つかったインターフェイスのリストが表示されます。[Interface Name] カラムのヘッダーをクリックすると、インターフェイス名のリストがソートされます。 |
IPV4/IPV6 Address |
検索の実行後、見つかった IPV4/IPV6 アドレスのリストが表示されます。[IPV4/IPV6 Address] カラムのヘッダーをクリックすると、IPV4/IPV6 アドレスのリストがソートされます。 IPV6 アドレスを選択するには、既存のリストから選択するか、手動で入力します。 |
VRF Name |
検索の実行後、見つかった VRF 名のリストが表示されます。[VRF Name] カラムのヘッダーをクリックすると、VRF 名のリストがソートされます。 |
Interface Description |
検索の実行後、見つかったインターフェイスの説明のリストが表示されます。[Interface Description] カラムのヘッダーをクリックすると、インターフェイスの説明のリストがソートされます。 |
Row per page |
表に表示される行の行数が表示されます。テーブルの行を選択するには、対応するオプション ボタンをクリックします。 |
Select |
[Select] をクリックして、テーブルでの選択を確認します。テーブルで選択した値が [PE Access Circuit Interface] フィールドに入力された状態で、[L3VPN - CE to CE Diagnostics] ウィンドウが表示されます。 |
Cancel |
[Cancel] をクリックすると、[Select Device for VRF Search] ウィンドウが閉じます。 |
ヒント [Interface Description] を使用して、カスタマー接続の詳細を記述することを推奨します。Diagnostics では、[Interface Description] の検索ができます(カスタマー回線 ID など)。詳細については、「L3VPN - CE to PE across Core テストの選択、設定、および実行」および「L3VPN - PE to PE テストの選択、設定および実行」を参照してください。
IOS マルチリンク アクセス回線インターフェイス間のテスト
Diagnostics では、Cisco IOS マルチリンク アクセス回線インターフェイスをまたがるトラブルシューティングがサポートされます。トラブルシューティングは、マルチリンク バンドル インターフェイスでのみ実行されます。個別のバンドル リンクのトラブルシューティング、またはマルチリンク固有のトラブルシューティングは実行されません。次のマルチリンク技術がサポートされます。
•
マルチリンク PPP over Frame Relay(マルチリンク グループ インターフェイス設定)
•
マルチリンク PPP over Frame Relay(仮想テンプレート インターフェイス設定)
•
マルチリンク PPP over ATM(マルチリンク グループ インターフェイス設定)
•
マルチリンク PPP over ATM(仮想テンプレート インターフェイス設定)
•
シリアル上のマルチリンク PPP
•
マルチリンク フレームリレー
(注) マルチリンクは Cisco IOS でのみサポートされ、Cisco IOS XR ではサポートされません。
(注) マルチリンク アクセス回線インターフェイスでは、レイヤ 2 フレーム リレー、ATM、およびイーサネットのトラブルシューティングは実行されません。
各マルチリンク バンドルには、関連付けられている多数のインターフェイスがあります。マルチリンク アクセス回線で MPLS VPN 接続性検証テストを設定するときは、正しいインターフェイスを [MPLS VPN Test Configuration] ウィンドウの [PE Access Circuit Interface] フィールドに入力する必要があります。入力する必要があるインターフェイスは、使用するマルチリンク設定に応じて異なります。 表 11-5 で、[PE Access Circuit Interface] フィールドに入力する必要があるインターフェイスについてマルチリンク技術ごとに説明します。
表 11-5 マルチリンク インターフェイス
|
|
|
ML-PPPoFR(マルチリンク グループ) |
マルチリンク バンドルを表すマルチリンク インターフェイス。 |
ML-PPPoFR(Virtual-Template) |
マルチリンク バンドルを表す仮想アクセス インターフェイス。 |
ML-PPPoATM(マルチリンク グループ) |
マルチリンク バンドルを表すマルチリンク インターフェイス。 |
ML-PPPoATM(Virtual-Template) |
マルチリンク バンドルを表す仮想アクセス インターフェイス。 |
ML-PPPoSerial |
マルチリンク バンドルを表すマルチリンク インターフェイス。 |
ML-FR |
仮想回線を設定しているフレーム リレー インターフェイス。これは、Multilink Frame Relay(MFR; マルチリンク フレームリレー)インターフェイスまたは MFR インターフェイスのフレーム リレー サブインターフェイスの場合があります。 |
マルチリンク フレーム リレー(MFR)を除き、マルチリンク バンドルを表すインターフェイスを [PE Access Circuit Interface] フィールドに入力する必要があります。マルチリンク フレーム リレーの場合は、フレーム リレー インターフェイス、または仮想回線が設定されているサブインターフェイスを入力する必要があります。これは、MFR インターフェイスまたは MFR インターフェイスのサブインターフェイスの場合があります。いずれの場合も、[PE Access Circuit Interface] フィールドに入力されたインターフェイスには IP アドレスと VRF が必要で、アップ/アップ状態になっている必要があります。
PE デバイスの有効なマルチリンク バンドル インターフェイスを判別するには、 show ppp multilink または show frame-relay multilink IOS コマンドを使用します。PE デバイスにアクティブなマルチリンク バンドルがない場合、設定済みマルチリンク バンドルがないか、設定済みマルチリンク バンドルのすべてのバンドル リンクがダウン/ダウン状態になっている可能性があります。
(注) 仮想アクセス インターフェイスは、動的に作成されて、割り当てられます。仮想アクセス インターフェイスが属するマルチリンク バンドルと、その役割は、インターフェイスの状態が変化するに従って変化することがあります。そのため、仮想アクセス インターフェイスは Prime Provisioning/Diagnostics リポジトリに保存されません。仮想アクセス インターフェイスを使用して VPN 接続性検証テストを設定するときは、手動でインターフェイス名を [MPLS VPN Test Configuration] ウィンドウの [PE Access Circuit Interface] フィールドに入力する必要があります。[Interface Selection] ポップアップ ダイアログボックスから仮想アクセス インターフェイスを選択することはできません。
カスタマー VRF 情報を使用した設定
[MPLS VPN Connectivity Verification] ウィンドウに情報を入力するときは、PE ホスト名または PE インターフェイスの詳細を入力する必要があります。場合によっては、PE ホスト名または PE インターフェイスの詳細がわからないことがあります。ただし、この情報は対応する既知の VRF 名によって識別できます。対応する VRF 名は、VRF 検索を使用して識別できます。
(注) VRF 名でインターフェイスを検索するには、あらかじめ Prime Provisioning タスク マネージャの Collect Configuration タスクを実行し、VRF 名を Prime Provisioning にアップロードしておく必要があります。VRF 検索は、最後に実行した Collect Configuration タスク内の情報に基づきます。タスク マネージャの Collect Configuration タスクの実行方法の詳細については、「デバイス設定の収集」を参照してください。
ステップ 1
[MPLS VPN Connectivity Verification] ウィンドウの [Find by VRF] ボタンをクリックします。
[Select Device for VRF Search] ウィンドウが表示されます。
(注) [Select Device for VRF Search] ウィンドウに表示されるフィールドは、PE データ フィールドに入力されているかどうかにかかわらず、最初は空です。
ステップ 2
[Select Device for VRF Search] ウィンドウに表示されるフィールドを設定します。
表 11-6 に、[Select Device for VRF Search] ウィンドウのフィールドの説明を示します。
ワンポイント アドバイス まず、該当する検索パターンを入力します。これによって、大規模なネットワークで発生する、大きくて時間がかかる余分な検索をせずに済みます。VRF 名のパターンを入力し、[Find] ボタンをクリックします。たとえば、t* と入力して [Find] をクリックすると、文字 t で始まるすべての VRF のリストが表示されます。[Show Devices with] ドロップダウン ボックスから選択し、[matching] フィールドに情報を入力して [Find] をクリックすると、結果リストをさらにフィルタリングできます。表 11-6 に、[Select Device for VRF Search] ウィンドウのフィールドの説明を示します。
表 11-6 [Select Device for VRF Search] ウィンドウのフィールドの説明
|
|
|
VRF Search String |
検索する VRF 名の文字列を入力します。部分文字列として VRF 名の文字列を入力します。ワイルドカードもサポートされます。 |
Show Devices with |
[Show Devices with] ドロップダウン ボックスを使用して、検索結果を調整できます。ドロップダウン メニューから [Device Name]、[Interface Name]、[IPV4 Address]、[IPV6 Address]、または [Interface Description] を選択して、検索結果を調整するカテゴリを選択します。 |
matching(オプション フィールド) |
[Show Devices with] ドロップダウン ボックスで選択したカテゴリ内の検索を調整するための情報を、[matching] フィールドに入力します。部分文字列としてテキストを入力します。ワイルドカードもサポートされます。 |
Find |
[Find] をクリックして、[Select Device for VRF Search] ウィンドウで設定した情報を使用して VRF 検索を実行します。 |
Device Name |
検索の実行後、見つかったデバイス名のリストが表示されます。[Device Name] カラムのヘッダーをクリックすると、デバイス名のリストがソートされます。 |
Interface Name |
検索の実行後、見つかったインターフェイスのリストが表示されます。[Interface Name] カラムのヘッダーをクリックすると、インターフェイス名のリストがソートされます。 |
IPV4/IPV6 Address |
検索の実行後、見つかった IPV4/IPV6 アドレスのリストが表示されます。[IPV4/IPV6 Address] カラムのヘッダーをクリックすると、IPV4/IPV6 アドレスのリストがソートされます。 IPV6 アドレスを選択するには、既存のリストから選択するか、手動で入力します。 |
VRF Name |
検索の実行後、見つかった VRF 名のリストが表示されます。[VRF Name] カラムのヘッダーをクリックすると、VRF 名のリストがソートされます。 |
Interface Description |
検索の実行後、見つかったインターフェイスの説明のリストが表示されます。[Interface Description] カラムのヘッダーをクリックすると、インターフェイスの説明のリストがソートされます。 |
Rows per page |
表に表示される行の行数が表示されます。テーブルの行を選択するには、対応するオプション ボタンをクリックします。 |
Select |
[Select] をクリックして、テーブルでの選択を確認します。テーブルで選択した値が [PE Device Name] および [PE Access Circuit Interface] フィールドに入力された状態で、[L3VPN - CE to CE Diagnostics - Test Setup] ウィンドウが表示されます。 |
Cancel |
[Cancel] をクリックすると、[Select Device for VRF Search] ウィンドウが閉じます。 |
ステップ 3
[Find] をクリックして、検索を開始します。
[Select Device for VRF Search] ウィンドウに表示されるテーブルに、検索結果が入力されます。
ヒント 各カラムに表示されている情報をソートするには、カラム見出しをクリックします。
ヒント [VRF Name] および [Interface Description] カラムの情報を表示するため、必要に応じてテーブルの幅が自動的に拡大されます。テーブルの幅が拡大された場合は、水平方向のスクロールバーを使用してウィンドウの右側にスクロールします。
ステップ 4
(任意)[Show Devices with] ドロップダウン ボックスおよび [matching] フィールドを設定して、検索結果を調整します。
[Find] をクリックして、検索結果でテーブルを更新します。
ステップ 5
オプション ボタンをクリックして、必要な PE デバイス名とインターフェイス名を選択します。
ステップ 6
[Select] をクリックします。
[Select Device for VRF Search] ウィンドウが閉じます。選択した値が [PE Device Name] および [PE Access Circuit Interface] フィールドに入力された状態で、[L3VPN - CE to CE Diagnostics - Test Setup] ウィンドウが表示されます。
カスタマー VPN/VRF 情報を使用した設定
Diagnostics は、他の Prime Provisioning 機能から独立して、スタンドアロンで使用できます。ただし、Prime Provisioning VPN/VRF プロビジョニング機能を使用してネットワーク内で VPN/VRF をプロビジョニングしている場合は、MPLS VPN 接続性検証テストを設定する代替手段として、カスタマーおよび VPN/VRF に関連付けられているこのプロビジョニング情報を使用できます。デバイス固有の設定を指定するのではなく、カスタマー、VPN/VRF、ローカル サイト、およびリモート サイトを指定します。必要なすべてのテスト設定は、この情報から取得されます。
(注) カスタマー VPN/VRF 情報を使用して MPLS VPN 接続性検証テストを設定するオプションは、Prime Provisioning VPN/VRF プロビジョニング機能を使用してネットワーク内で VPN/VRF をプロビジョニングしている場合にのみ使用できます。
ステップ 1
[L3VPN - CE to CE Diagnostics - Test Setup] ウィンドウの [Find by Service] ボタンをクリックします。
[Populate using VPN/VRF] ウィンドウが表示されます。
ステップ 2
[Populate using VPN/VRF] ウィンドウに表示されるフィールドを設定します。
表 11-7 に、[Populate using VPN/VRF] ウィンドウのフィールドの説明を示します。
表 11-7 [Populate using VPN/VRF] ウィンドウのフィールドの説明
|
|
|
|
|
Customer Name |
[Select] ボタンをクリックして、[Select Customer] ポップアップ ウィンドウからカスタマーを選択します。 |
VPN/VRF Name |
[Select] ボタンをクリックして、[VPN/VRF name] ポップアップ ウィンドウから VPN/VRF 名を選択します。 (注) カスタマー名を選択してからでないと、VPN/VRF 名は選択できません。 |
|
|
Local Site |
[Select] ボタンをクリックして、[Local Site] ポップアップ ウィンドウからローカル サイトを選択します。 (注) カスタマー名および VPN/VRF 名を選択してからでないと、ローカル サイトは選択できません。 |
Remote Site |
[Select] ボタンをクリックして、[Remote Site] ポップアップ ウィンドウからリモート サイトを選択します。 (注) カスタマー名および VPN/VRF 名を選択してからでないと、リモート サイトを選択できません。 (注) [Remote Site] フィールドは、PE to attached CE テスト タイプでは使用できません。 |
ステップ 3
[OK] をクリックします。
[L3VPN - CE to CE Diagnostics - Test Setup] ウィンドウが再表示されます。[Populate using VPN/VRF] ウィンドウで指定したカスタマー VPN/VRF 情報に基づいて、必要なフィールドが入力されます。
(注) カスタマー デバイスをテストする場合は、ローカルまたはリモート サイトの [Customer Device IP Address] フィールドに IP アドレスを入力できます。
(注) 自動入力された [L3VPN - CE to CE Diagnostics - Test Setup] ウィンドウの任意のフィールドを編集できます。
ステップ 4
[L3VPN - CE to CE Diagnostics - Test Setup] ウィンドウの [OK] をクリックして、テストを実行します。
[Progress] ウィンドウが表示されます(「[Progress] ウィンドウ」を参照)。
VPN トポロジ
デフォルトで、MPLS VPN 接続性検証テストでは、ローカル サイトとリモート サイトはフル メッシュ VPN トポロジで接続され、これらのサイトは直接通信できると見なされます。テストするサイトがフル メッシュ以外の VPN トポロジで接続されている場合、MPLS VPN 接続性検証テストに必要な設定が異なる場合があります。この場合、テストから誤った結果が得られることがあります。そのため、テスト結果を解釈するときには注意が必要です。サポートされる各 VPN トポロジで必要な設定の詳細、およびテスト結果の解釈方法については、「VPN トポロジ」を参照してください。
L3VPN - PE to attached CE テストの選択、設定および実行
この項では、L3VPN - PE to attached CE テスト タイプを選択、設定、および実行する方法の詳細について説明します。
ステップ 1
[Diagnostics] メニューから、[L3VPN - PE to Attached CE] テスト タイプを選択します。
ステップ 2
[L3VPN - PE to attached CE] 接続性検証テスト タイプをクリックします。
PE to attached CE 接続性検証テスト タイプの詳細については、「L3VPN - PE to attached CE 接続性テスト」を参照してください。
[MPLS VPN Connectivity Verification Configuration] ウィンドウ(図 11-13 を参照)が表示され、PE to attached CE テスト タイプに対応したフィールドが表示されます。[MPLS VPN Connectivity Verification Configuration] ウィンドウで、実行する接続性テストを設定できます。
図 11-13 L3VPN - PE to Attached CE テスト タイプ
[L3VPN - PE to Attached CE] ウィンドウには、次のコンポーネントが表示されます。
•
ネットワーク図
•
ローカル サイト設定領域
これらのコンポーネントおよびテスト範囲については、「L3VPN - CE to CE テストの選択、設定および実行」に詳しい説明があります。
ステップ 3
必要に応じて [L3VPN - PE to Attached CE] ウィンドウのフィールドを設定します。
表 11-3 に、L3VPN - PE to attached CE テスト タイプに対応するフィールドの説明を示します。
ステップ 4
すべての必須フィールドに入力したら、[OK] をクリックしてテストを実行します。[Progress] ウィンドウが表示されます。「[Progress] ウィンドウ」を参照してください。
L3VPN - CE to PE across Core テストの選択、設定、および実行
この項では、L3VPN - CE to PE across Core テスト タイプを選択、設定、および実行する方法の詳細について説明します。
ステップ 1
[Diagnostics] メニューから、[L3VPN - CE to PE across Core] テスト タイプを選択します。
ステップ 2
[L3VPN - CE to PE across Core] 接続性検証テスト タイプをクリックします。
[L3VPN - CE to PE across core] 接続性検証テスト タイプの詳細については、「L3VPN - CE to PE across Core 接続性テスト」を参照してください。
[L3VPN - CE to PE Across MPLS Core Diagnostics - Test Setup] ウィンドウ(図 11-14 を参照)が表示され、L3VPN - CE to PE across Core テスト タイプに対応したフィールドが表示されます。[L3VPN - CE to PE Across MPLS Core Diagnostics - Test Setup] ウィンドウで、実行する接続性テストを設定できます。
図 11-14 L3VPN - CE to PE across Core テスト タイプ
[L3VPN - CE to PE Across Core] ウィンドウには、次のコンポーネントが表示されます。
•
ネットワーク図
•
ローカル サイト設定領域
•
リモート サイト設定領域
これらのコンポーネントおよびテスト範囲については、「L3VPN - CE to CE テストの選択、設定および実行」に詳しい説明があります。
ステップ 3
必要に応じて [L3VPN - CE to PE across Core] ウィンドウのフィールドを設定します。
表 11-3 に、L3VPN - CE to PE across core テスト タイプに対応するフィールドの説明を示します。
ステップ 4
すべての必須フィールドに入力したら、[OK] をクリックしてテストを実行します。
[Progress] ウィンドウが表示されます。「[Progress] ウィンドウ」を参照してください。
L3VPN - PE to PE テストの選択、設定および実行
この項では、L3VPN - PE to PE テスト タイプを選択、設定、および実行する方法の詳細について説明します。
ステップ 1
[Diagnostics] メニューから、[L3VPN - PE to PE] テスト タイプを選択します。
L3VPN- PE to PE in VRF 接続性検証テスト タイプの詳細については、「L3VPN - PE to PE in VRF 接続性テスト」を参照してください。
[L3VPN- PE to PE in VRF Diagnostics - Test Setup] ウィンドウ(図 11-15 を参照)が表示され、L3VPN - PE to PE in VRF テスト タイプに対応したフィールドが表示されます。[L3VPN- PE to PE in VRF Diagnostics - Test Setup] ウィンドウで、実行する接続性テストを設定できます。
図 11-15 L3VPN - PE to PE テスト タイプ
[L3VPN - PE to PE in VRF Diagnostics - Test Setup] ウィンドウには、次のコンポーネントが表示されます。
•
ネットワーク図
•
ローカル サイト設定領域
•
リモート サイト設定領域
これらのコンポーネントおよびテスト範囲については、「L3VPN - CE to CE テストの選択、設定および実行」に詳しい説明があります。
ステップ 2
必要に応じて [L3VPN - PE to PE in VRF Diagnostics - Test Setup] ウィンドウのフィールドを設定します。
表 11-3 に、L3VPN - PE to PE in VRF テスト タイプに対応するフィールドの説明を示します。
ステップ 3
すべての必須フィールドに入力したら、[OK] をクリックしてテストを実行します。
[Progress] ウィンドウが表示されます。「[Progress] ウィンドウ」を参照してください。
MPLS - PE to PE テストの選択、設定および実行
この項では、L3VPN - PE to PE(コア)テスト タイプを選択、設定、および実行する方法の詳細について説明します。
ステップ 1
[Diagnostics] メニューから、[MPLS - PE to PE] テスト タイプを選択します。
ステップ 2
[MPLS - PE to PE] 接続性検証テスト タイプをクリックします。
PE to PE 接続性検証テスト タイプの詳細については、「L3VPN - PE to PE 接続テスト」を参照してください。
[MPLS - PE to PE] ウィンドウ(図 11-16 を参照)が表示され、MPLS - PE to PE テスト タイプに対応したフィールドが表示されます。[MPLS - PE to PE] ウィンドウを使用して、実行する接続性テストを設定できます。
図 11-16 MPLS - PE to PE テスト タイプ
[MPLS - PE to PE] ウィンドウには、次のコンポーネントが表示されます。
•
ネットワーク図
•
ローカル サイト設定領域
•
リモート サイト設定領域
これらのコンポーネントおよびテスト範囲については、「L3VPN - CE to CE テストの選択、設定および実行」に詳しい説明があります。
ステップ 3
必要に応じて [MPLS - PE to PE] ウィンドウのフィールドを設定します。
表 11-3 に、L3VPN - PE to PE テスト タイプに対応するフィールドの説明を示します。
ステップ 4
すべての必須フィールドに入力したら、[OK] をクリックしてテストを実行します。
[Progress] ウィンドウが表示されます。「[Progress] ウィンドウ」を参照してください。
MPLS - PE to PE テストへの LSP エンドポイント ループバック IP アドレスの設定
この項では、MPLS - PE to PE テスト タイプで LSP エンドポイント ループバック インターフェイスおよび IP アドレスを設定する方法の詳細について説明します。
リモート LSP エンドポイント ループバック IP アドレス
L3 VPN カスタマー トラフィックは、カスタマー ルートの BGP ネクスト ホップ アドレスを使用して LSP を選択します。コアをテストするときは、ローカル PE からリモート PE に MPLS OAM ping およびトレースが実行されます。トラフィックが経由するものと同じ LSP を Diagnostics でテストするには、Diagnostics がテストする IP プレフィックスがカスタマー ルートの BGP ネクスト ホップ アドレスになるようにします。
PE to PE コア テスト タイプでは、Diagnostics はカスタマー ルート情報を持っていません。そのため、Diagnostics は BGP ネクスト ホップを識別できません。デフォルトで、Diagnostics は ping およびトレースの宛先をネクスト ホップではなくリモート PE の BGP ルータ ID に基づいて選択します。複数のコアがある、複数のループバック アドレスが制御トラフィックおよびデータ プレーン トラフィックに使用されるなど一部のネットワーク設定では、この BGP ルータ ID がカスタマー トラフィックで使用されるネクスト ホップと一致せず、不正な LSP がテストされる(または、どの LSP もテストされない)ことがあります。
ローカル LSP エンドポイント ループバック IP アドレス
進行方向で実行したテストで問題を検出できなかった場合は、MPLS - PE to PE テスト タイプで逆方向のテストを実行できます。ローカル LSP エンドポイント ループバック IP アドレスを設定すると、逆方向のテストを実行するときに、正しい LSP が選択されます。
LSP エンドポイント ループバック IP アドレスを指定する場合
次の場合に、LSP エンドポイント ループバック IP アドレスを指定します。
•
BGP ルータ ID が、LSP が割り当てられていないループバックのアドレスである。
•
BGP ルータ ID がループバックのアドレスでない。
•
複数の LSP が定義されており、トラフィックはルータ ID により与えられた LSP 以外の LSP を使用している。
•
複数の定義済み LSP があり、トラフィックがルートマップに基づいて LSP を切り替える。
(注) リモート LSP エンドポイントを指定するときは、正しい BGP ネクスト ホップを指定する必要があります。
図 11-17 に、[LSP Endpoint Loopback IP Address] フィールドの使用方法を表したネットワーク トポロジの例を示します。このネットワーク トポロジの例には 3 つの論理 MPLS コアが存在し、一部の PE BGP ルータ ID はループバック インターフェイスに関連付けられていません。さらに、2 つの CE は、別々のコアにデュアルホーム接続されています。
図 11-17 ネットワーク トポロジの例
表 11-8 に、図 11-17 に示されているネットワーク トポロジの例に関連する IP アドレッシング情報を示します。
表 11-8 IP アドレス指定
|
|
|
|
|
|
PE2 |
1.1.1.1 |
1.1.1.1 |
N/A |
20.20.20.1 |
PE3 |
1.1.1.3 |
1.1.1.3 |
N/A |
20.20.20.3 |
PE1 |
50.50.50.1 |
1.1.1.6 |
10. 10.10.1 |
N/A |
PE4 |
50.50.50.3 |
1.1.1.8 |
10. 10.10.3 |
N/A |
表 11-9 に、各 LSP をテストするときにリモート LSP エンドポイント IP アドレスとして使用できる IP アドレスを示します。
表 11-9 各 LSP のテストに必要な入力
|
|
|
|
|
実線 |
CE-2 |
PE2 |
ネクスト ホップが BGP ルータ ID のため、必要ありません。 |
実線 |
CE-4 |
PE4 |
1.1.1.8(ループバック 0) |
実線 |
CE-4 |
PE3 |
ネクスト ホップが BGP ルータ ID のため、必要ありません。 |
点線 |
CE-1 |
PE2 |
20.20.20.1(ループバック 20) |
点線 |
CE-3 |
PE3 |
20.20.20.3(ループバック 20) |
破線 |
CE-1 |
PE1 |
10. 10.10.1(ループバック 10) |
破線 |
CE-5 |
PE4 |
10. 10.10.3(ループバック 10) |
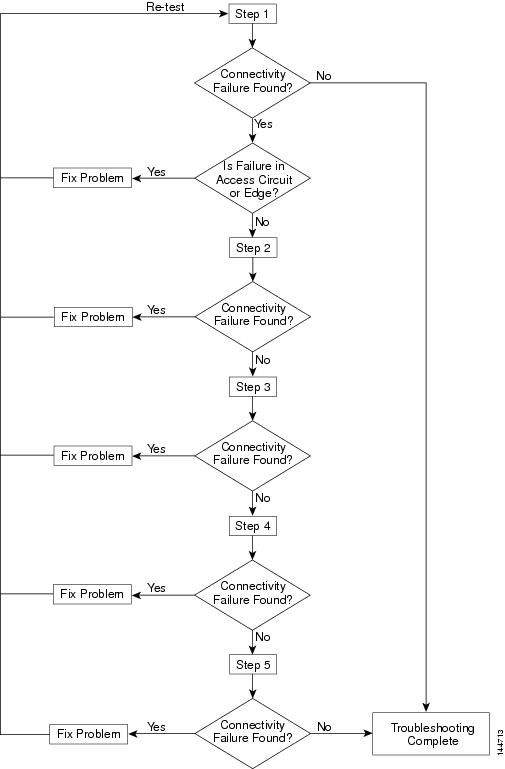
[Progress] ウィンドウ
テストの実行中に、[Progress] ウィンドウ(図 11-18 を参照)が表示されます。
(注) MPLS VPN 接続性検証テストの実行時間は、場合によって異なります。ネットワークのサイズ、選択したテスト タイプ、接続性の問題が識別されたかどうか、および、この接続性の問題の性質によっては、テストの完了までにしばらく時間がかかることがあります。
[Progress] ウィンドウには、完了した各ステップに関する 1 行のテキストによるサマリーと、現在実行中のステップが表示されます。
図 11-18 [Progress] ウィンドウ
必要な場合、[Cancel] ボタンをクリックするとテストがキャンセルされます。[Cancel] をクリックすると、テストを本当にキャンセルするかどうかの確認を求められます。確認すると、現在のステップが完了し次第、テストがキャンセルされます。現在のステップでデバイス間のやり取りが行われている場合は、それが完了してからテストがキャンセルされます。キャンセルを実行すると、[Test Results] ウィンドウが表示され、テストをキャンセルしたことが表示されます。テスト ログには、完了したステップすべてが表示されます。
テストが完了すると、[Test Results] ウィンドウが表示されます。詳細については、「テスト結果の解釈」を参照してください。
テスト結果の解釈
この項では、テスト結果の解釈方法について説明します。ここでは、次の項目について説明します。
•
「データ パス」
•
「Test Details」
•
「Test Log」
•
「Export」
MPLS VPN 接続性検証テストが完了すると、[Test Results] ウィンドウが表示されます(図 11-19 を参照)。
図 11-19 障害固有の追加情報が表示された [Test Results] ウィンドウ
[Test Result] ウィンドウには、見つかった問題の場所、原因、推奨されるアクション、観察結果、および実行された自動トラブルシューティングと診断ステップの詳細が表示されます。また、[Test Result] ウィンドウから、必要に応じて高度なトラブルシューティング オプションを起動できます( 表 11-10 を参照)。
[Test Results] ウィンドウは、次のコンポーネントで構成されています。
表 11-10 [Test Results] ウィンドウのフィールドの説明
|
|
|
Data path |
「データ パス」を参照してください。 |
Test Details |
「Test Details」を参照してください。 |
Test Log |
「Test Log」を参照してください。 |
[Export] ボタン |
[Test Log] オプション ボタンを選択すると、[Export] ボタンが表示されます。「Export」を参照してください。 |
[Advanced] ボタン |
高度なトラブルシューティングを起動するには、[Advanced] ボタンをクリックします。「高度なトラブルシューティング オプション」を参照してください。このボタンで使用できるオプションは、テスト結果およびテスト タイプに応じて動的に設定されます。 |
[Re-test] ボタン |
既存の設定を使用して再度接続性テストを実行するには、[Re-test] ボタンをクリックします。実装したフィックスを確認するために使用できます。 |
[Cancel] ボタン |
現在のテストをキャンセルして [Test Configuration] ウィンドウに戻るには、[Cancel] ボタンをクリックします。キャンセルの確認は求められません。 |
テストしたパスに複数の障害がある場合、報告される障害は、Diagnostics が実行するトラブルシューティングの順序によって決まります。CE to CE 接続性テスト タイプの場合、Diagnostics トラブルシューティングは次の順序で実行されます。
1.
アクセス回線(ローカルおよびリモート)。
2.
MPLS Traffic Engineered(TE)トンネル。
3.
MPLS コア。
4.
MPLS VPN エッジ。
その他のテスト タイプも同じ順序でトラブルシューティングを実行しますが、すべてのステップを実行するわけではありません。
(注) [Test Result] ウィンドウには、最初に見つかった障害の詳細が表示されます。複数の障害が存在する場合は、現在の障害を修復してテストを再実行しないと、後続の障害はレポートされません。
データ パス
データ パス(図 11-20 を参照)は、テスト対象の 2 つのサイト間のパスを図で示します。MPLS Traffic Engineered トンネルで障害が見つかった場合は、データ パスにはトンネルが表示されます。パス内の障害ポイントよりも前で見つかった、重複していない P-P、PE-P、または P-PE MPLS TE トンネルも、データパスに表示されます。
図 11-20 データ パス
1.
デバイスのロール(CE、PE、または P)。
2.
MPLS ラベル(入力/出力)。
3.
障害の発生したデバイス。
4.
トンネルの方向を示す矢印。
5.
トンネル名。
6.
トンネル ラベル。
7.
デバイスのホスト名。
8.
インターフェイス名。
MPLS TE トンネルが存在する場合は、デバイス パスの下に表示されます。
カスタマー デバイス IP アドレスを指定した場合は、この IP アドレスは「Customer Device」という文字の横に表示されます。
(注) MPLS TE トンネルは、そのトンネルが接続の問題の原因であると判明した場合のみ表示されます。
障害が見つかった場合は、データ パスで障害のあるデバイスまたはリンクが強調表示されます。データ パス内で使用されるデバイスの色については、 表 11-11 を参照してください。
表 11-11 データ パスのデバイス カラー コード
|
|
|
|
緑色 |
|
デバイスはテスト済みで、正常に機能しています。 |
青色 |
|
デバイスはテストされていないか、ステータスが不明です。 |
赤 |
|
デバイスに障害が発生しています。 |
黄色 |
|
デバイスに障害が発生している可能性があります。 |
グレー |
|
デバイスにアクセスできません。 |
データ パス内で使用されるリンクの色については、 表 11-12 を参照してください。
表 11-12 データ パスのリンク カラー コード
|
|
|
|
赤 |
|
接続の問題が見つかっています。この障害の原因は、接続されているデバイスの片方または両方の問題である可能性があります。 |
各コア PE および P デバイスの場合は、次の情報が表示されます。
•
ロール(PE または P)
•
デバイス名
•
インターフェイス名
•
入力および出力 MPLS ラベル(MPLS コアの障害のみ)
CE デバイスおよびカスタマー デバイスについては、最小限の情報しか表示されません。通常、これらのデバイスについては、テストの設定時に指定された情報だけが表示されます。
MPLS Traffic Engineered トンネルについては、次の情報が表示されます。
•
トンネル名
•
トンネルの方向(方向を示す矢印)
•
トンネル ラベル
(注) [Test Result] ウィンドウのデータ パスからは、デバイスには Telnet 接続できません。
Test Details
[Test Results] ウィンドウの [Test Details] セクション(図 11-19 を参照)には、自動トラブルシューティングおよび診断結果の概要、トラブルシューティング中の観察結果、その他の障害固有の情報、および推奨アクションが表示されます。Diagnostics によってレポートされる障害および観察結果の詳細について、およびトラブルシューティングの一環として Diagnostics により実行される IOS および IOS XR コマンドすべてのリストの詳細については、 「障害シナリオ」 を参照してください。
テストの詳細の概要は、すべての場合で表示されます。テストの詳細の概要は、次の 3 つの詳細説明フィールドで構成されています。
•
[Summary]:見つかった障害の簡単な概要が表示されます。
•
[Possible Cause(s)]:考えられる障害の原因です。
•
[Recommended Action]:問題を解決するために推奨されるアクションです。
その他の障害固有の情報は、必要に応じて概要の下に表示されます。これが表示された場合は、見つかった問題についてのその他の情報が提供されます。たとえば、Forwarding Information Base(FIB; 転送情報ベース)、ラベル転送情報ベース(LFIB)、ボーダー ゲートウェイ プロトコル(BGP)のテーブル エントリおよびルート ターゲット インポート/エクスポートです。このその他の障害固有の情報は、FIB、LFIB、BGP の矛盾およびルート ターゲット インポート/エクスポートの不一致などの問題を明確にするために役立ちます。一部の障害については、その他の情報は表示されません。
図 11-19 に、テストの詳細の概要の下に障害固有の情報が表示された [Test Results] ウィンドウの例を示します。[Test Details] オプション ボタンはデフォルトで選択されています。
トラブルシューティング中に観察された内容は、テストの詳細の概要の下に注記として表示されます。観察の注記は、障害に関連する可能性のある、トラブルシューティング中に観察された内容の詳細を示します。この内容は、追加のトラブルシューティング情報と見なします。図 11-21 に、観察の注記が 2 つ表示された [Test Results] ウィンドウの例を示します。観察の注記は、まったく表示されない場合、または複数表示される場合があります。
図 11-21 観察の注記が表示された [Test Results] ウィンドウ
Test Log
[Test Log](図 11-22 を参照)オプション ボタンをクリックして、すべてのトラブルシューティングおよび診断ステップの詳細を、実行された順序で表示します。
図 11-22 [Test Results] ウィンドウ:テスト ログ
一部のステップでは、IOS または IOS XR CLI コマンドの実行など、デバイスからの入力が必要な場合があります。これらのステップは、テスト ログではハイパーリンクとして表示されます。ハイパーリンクをクリックすると、そのステップの IOS または IOS XR CLI トランスクリプトを示したポップアップ ウィンドウが表示されます(図 11-23 を参照)。このトランスクリプトには、実行された IOS または IOS XR コマンドおよびすべての結果の出力が含まれます。
図 11-23 [IOS CLI Transcript] ウィンドウ
Export
テスト ログをエクスポートして、トラブル チケットに含めたり、問題をエスカレーションしたり、または Cisco TAC に問い合わせしたりする際に使用できます。テスト ログは、テスト ログの下部にある [Export] ボタン(図 11-22 を参照)を使用してファイルにエクスポートできます。IOS および IOS XR CLI トランスクリプトを含め、テスト ログに表示されるすべてのステップはテキスト形式でエクスポートされます。
ステップ 1
[Export] ボタンをクリックします。
ブラウザ標準のファイル ダウンロード ウィンドウが表示され、ファイル名はデフォルトで「 export.rtf 」と表示されます。
ステップ 2
ファイルを保存します。
高度なトラブルシューティング オプション
この項では、次の高度なトラブルシューティング オプションについて説明します。
•
「リバース パス テスト」
•
「LSP 可視化」
高度なトラブルシューティングにより提供される追加オプションを、ネットワークのトラブルシューティングに使用できます。
サポートされている高度なトラブルシューティング オプションの詳細については、 表 11-13 を参照してください。
表 11-13 高度なトラブルシューティング オプション
|
|
|
リバース パス テスト |
障害が見つかった場合に使用できます。 |
LSP 可視化 |
障害が見つからなかった場合に使用できます。 |
LSP トラブルシューティング |
IP の障害が見つかった場合に使用できます。 |
高度なトラブルシューティング オプションは、[Test Results] ウィンドウの下部にある [Advanced] ドロップダウン ボタンを使用して適切なものを使用できます。
リバース パス テスト
(注) リバース パス テスト オプションは、PE to attached CE テスト タイプ以外のすべてのテスト タイプで使用できます。
場合によっては、MPLS VPN 接続性検証テストは接続の問題を検出しても、障害の原因を特定できない場合があります。逆方向(つまり、ローカル サイトとリモート サイトの設定を逆にした状態)でテストを繰り返すことにより、問題の原因を特定できる場合があります。その他の場合では、逆方向でテストを繰り返すことにより、結果として見つかった問題がさらに正確に診断される場合もあります。たとえば、接続性テストを進行方向で実行している間に、LSP 接続の問題がデバイスで特定される場合があります。しかし、この問題はダウンストリームの LSP ネイバーでの LDP 誤設定によって引き起こされた可能性もあります。逆方向でテストを繰り返すことにより、誤設定されたダウンストリーム ルータに最初に遭遇し、LDP 後設定が診断されます。この状況が発生した場合、[Test Results] ウィンドウに表示されるテストの詳細には、テストを逆方向で実行するように勧めるメッセージが表示されます。リバース テスト オプションは、[Test Results] ウィンドウの [Advanced] ドロップダウン ボタンから使用できます。
高度なトラブルシューティングのリバース テスト オプションを選択すると、逆方向状態で MPLS VPN 接続性検証テストが起動されます。それ以上の設定は必要ありません。
リバース パス テストの結果は、[Test Results] ウィンドウに表示されます。
LSP 可視化
(注) LSP 可視化は、PE to attached CE テスト タイプ以外のすべてのテスト タイプで使用できます。
障害が見つからなかった場合、[Test Results] ウィンドウのデータ パスには、実行されたテストの概要が表示されます。テストされたコアを通過するパスの詳細は表示されません。LSP 可視化は、ローカル サイトとリモート サイト間の MPLS ラベル スイッチド パス(LSP)のホップバイホップ データ パスの図を表示します(図 11-24 を参照)。LSP 可視化では、転送パスの中間に見つかった、すべての重複していない PE-P 間、P-P 間、および P-PE 間のトンネルが表示されます。表示されるパスは、MPLS VPN 接続性検証テスト中にテストされたパスです。
図 11-24 [Test Results] ウィンドウ:LSP 可視化
データ パスには、テストされたパス内の各 PE および P デバイスについて、次の内容が表示されます。
•
ロール(PE または P)
•
デバイス名
•
インターフェイス名
•
入力および出力ラベル
データ パスには、各 PE-PE 間の MPLS Traffic Engineered トンネルについて、次の内容が表示されます。
•
トンネル名
•
トンネルの方向(方向を示す矢印)
•
トンネル ラベル
•
トンネル タイプ
(注) 複数の MPLS TE トンネルが設定されている場合は、実際にトラフィックを伝送しているトンネルのみがデータパスに表示されます。
次の例では、Tunnel 7 は重複している(つまり、Tunnel 7 のヘッドエンドはアップストリーム ルータに設定されている Tunnel 15 のミッドポイントに設定されている)ため、表示されません。
図 11-25 複数の MPLS TE トンネル設定
データ パスに表示される内容についての詳細は、「データ パス」を参照してください。
LSP 可視化は、MPLS VPN 接続性検証テストで接続の問題が検出されなかった場合のみ提供されます。
(注) MPLS VPN 接続性検証テストをポストプロビジョニング検証に使用している場合は、LSP 可視化では MPLS コアを通過する LSP パスを表示することで、より高度な検証を提供します。
トンネル チェックのオフ:他社製 P ルータを使用したネットワークの場合
トンネルの診断中、Diagnostics はすべてのデバイスを確認して、そのポイントにトンネルが存在するかを確認する必要が生じる場合があります。Diagnostics は、他社製のデバイスにはログインしないため、他社製デバイスで発生している障害の誤診断を招き、(たとえそのデバイスが障害の実際の原因ではないとしても)トラブルシューティング ワークフローを進めることができなくなる場合があります。そのため、他社製デバイスが含まれるネットワークでは、トンネル診断をディセーブルにすることが役立ちます。
デフォルトでは、トンネル診断はイネーブルになっています。デフォルト値は、Admin ユーザが Prime Provisioning Control Center([Administration] タブ > [Control Center] > [Hosts])で変更できます。トンネル診断は、Command Flow Runner(CFR)コンポーネント(disableTunnelDiagnostics パラメータ)でイネーブルまたはディセーブルにできます。適切な disableTunnelDiagnostics パラメータが true に設定されている場合は、Diagnostics はトンネル診断を実行しません。
[Test Results] ウィンドウには、Diagnostics のトンネル診断がディセーブルであることを示す観察メッセージが表示されます。デバイスがインベントリに含まれていないことを示すエラー メッセージは、パス上の他社製デバイスが原因である可能性があること、およびエラーがこのデバイスまたはその近くのネイバーで発生していることを意味します。
障害シナリオ
この章では、Diagnostics アプリケーションで報告されるすべての障害シナリオの詳細について説明します。また、IOS XR サポート警告についても説明します。
詳細については、 mpls-diagnostics-expert@cisco.com まで電子メールでお問い合わせください。
(注) Diagnostics は、サブインターフェイス/インターフェイスに実装された L3 サービスのみをサポートします。
障害シナリオ
この項では、Diagnostics によって報告される次の障害シナリオについて説明します。
•
「アクセス回線」
•
「MPLS エッジ」
•
「MPLS コア」
•
「カスタマー サイト」
各障害シナリオの表に、その障害シナリオが 5 つの Diagnostics テスト タイプそれぞれでサポートされているかどうかを示します。この表では、障害シナリオが IOS および IOS XR でサポートされているかどうかを示します。また、障害シナリオが IPv4 および IPv6 向けにサポートされるかどうかも示します。
(注) この表で、NA は該当なし、NS はサポート適用外を意味します。
アクセス回線
IP 接続をブロックするアクセス回線
プロバイダー(PE)ルータのアクセス回線インターフェイスから送信先への IP 接続を阻止するブロッキング アクセス リストがあります。
|
|
|
|
|
|
|
|
|
|
Yes |
Yes |
Yes |
該当なし |
該当なし |
Yes |
Yes |
Yes |
Yes |
無効な PE インターフェイスが指定されている
PE ルータ上にインターフェイスが存在しません。
|
|
|
|
|
|
|
|
|
|
Yes |
Yes |
Yes |
Yes |
該当なし |
Yes |
Yes |
Yes |
Yes |
ATM インターフェイスに VPI/VCI がない
PE ルータ上の非同期転送モード(ATM)アクセス回線インターフェイスに Virtual Path Identifier(VPI; 仮想パス識別子)または Virtual Channel Identifier(VCI; 仮想チャネル識別子)が割り当てられていないか、VPI/VCI が宛先 IP アドレスにマッピングされていません。
|
|
|
|
|
|
|
|
|
|
Yes |
Yes |
Yes |
該当なし |
該当なし |
Yes |
Yes |
Yes |
NS |
ATM インターフェイスのプロトコルがダウン
PE ルータで ATM アクセス回線インターフェイスのプロトコルがダウンしています。「IOS XR サポート」を参照してください。
|
|
|
|
|
|
|
|
|
|
Yes |
Yes |
Yes |
該当なし |
該当なし |
Yes |
Yes |
Yes |
NS |
ATM サブインターフェイスのプロトコルがダウン
PE ルータで ATM アクセス回線サブインターフェイスのプロトコルがダウンしています。この障害は、間違ったサブインターフェイス パラメータか、あるいは障害を検出して自動的にインターフェイスをダウンさせる ATM Operation, Administration, and Maintenance(OAM; 運用管理および保守)機能が原因で発生することがあります。「IOS XR サポート」を参照してください。
|
|
|
|
|
|
|
|
|
|
Yes |
Yes |
Yes |
該当なし |
該当なし |
Yes |
Yes |
Yes |
NS |
CE アクセス回線インターフェイス IP アドレスの計算は、PE インターフェイスがアンナンバード インターフェイスではなく、PE に /30 サブネット マスク インターフェイスがある場合のみ可能
PE 用のカスタマー エッジ(CE)アクセス回線インターフェイス IP アドレスを計算できません。
|
|
|
|
|
|
|
|
|
|
Yes |
Yes |
Yes |
該当なし |
該当なし |
Yes |
Yes |
Yes |
該当なし |
詳細については、「IPv6 サポート」を参照してください。
ピアの eBGP 最大プレフィックスを超過
PE と CE 間で exterior Border Gateway Protocol(eBGP; 外部ボーダー ゲートウェイ プロトコル)が動作していますが、ボーダー ゲートウェイ プロトコル(BGP)ネイバーが確立されていません。ピアが設定されたプレフィックス最大数を超えました。
|
|
|
|
|
|
|
|
|
|
Yes |
Yes |
Yes |
該当なし |
該当なし |
Yes |
Yes |
Yes |
Yes |
eBGP ネイバーが確立されていない、ルートが存在しない
PE と CE 間で eBGP が動作していますが、PE で BGP ネイバーが確立されていません。BGP ネイバーは PE とは異なるサブネット上にあり、VPN Routing/Forwarding(VRF; VPN ルーティング/転送)内にネイバーへのルートがありません。
|
|
|
|
|
|
|
|
|
|
Yes |
Yes |
Yes |
該当なし |
該当なし |
Yes |
Yes |
Yes |
Yes |
eBGP ネイバーが確立されていない、設定ミスの可能性
PE と CE 間で eBGP が動作していますが、PE で BGP ネイバーが確立されていません。VRF 内に BGP ネイバーへのルートがあり、ping を介して BGP ネイバーに到達可能です。CE または PE BGP コンフィギュレーションに問題があります。
|
|
|
|
|
|
|
|
|
|
Yes |
Yes |
Yes |
該当なし |
該当なし |
Yes |
Yes |
Yes |
Yes |
eBGP ネイバーが確立されていない、ルートは存在する
PE と CE 間で eBGP が動作していますが、PE で BGP ネイバーが確立されていません。BGP ネイバーは PE とは異なるサブネット上にあり、VRF 内にネイバーへのルートが存在します。ただし、ping を介してこの BGP ネイバーに到達できません。
|
|
|
|
|
|
|
|
|
|
Yes |
Yes |
Yes |
該当なし |
該当なし |
Yes |
Yes |
Yes |
Yes |
複数の eBGP サイトが同じ AS 番号を使用している
ローカル サイトとリモート サイトが eBGP を使用し、同一の AS 番号を使用しており、ローカル PE ルータの VRF 内で BGP ネイバーに「allowas-in」も「as-override」も設定されていません。
|
|
|
|
|
|
|
|
|
|
Yes |
該当なし |
該当なし |
該当なし |
該当なし |
該当なし |
Yes |
Yes |
Yes |
EIGRP がルートを交換していない
PE と CE 間で Enhanced Interior Gateway Routing Protocol(EIGRP)が動作しており、ピア関係が確立されています。ただし、CE の EIGRP からルートを受信していません。
|
|
|
|
|
|
|
|
|
|
Yes |
Yes |
Yes |
該当なし |
該当なし |
Yes |
Yes |
Yes |
NS |
イーサネット インターフェイス プロトコルのダウン
PE ルータ プロトコルのイーサネット アクセス回線インターフェイスがダウンしています。
|
|
|
|
|
|
|
|
|
|
Yes |
Yes |
Yes |
該当なし |
該当なし |
Yes |
Yes |
Yes |
Yes |
イーサネット サブインターフェイス プロトコルのダウン
PE ルータ プロトコルのイーサネット アクセス回線サブインターフェイスがダウンしています。
|
|
|
|
|
|
|
|
|
|
Yes |
Yes |
Yes |
該当なし |
該当なし |
Yes |
Yes |
Yes |
Yes |
フレーム リレー インターフェイスに DLCI がない
PE ルータのフレーム リレー アクセス回線インターフェイスに Data-Dink Connection Identifier(DLCI; データリンク接続識別子)が割り当てられていないか、DLCI が宛先 IP アドレスにマッピングされていません。
|
|
|
|
|
|
|
|
|
|
Yes |
Yes |
Yes |
該当なし |
該当なし |
Yes |
Yes |
Yes |
NS |
フレーム リレー インターフェイス プロトコルのダウン
PE ルータ プロトコルのフレーム リレー アクセス回線インターフェイスがダウンしています。原因として、回線パラメータまたはケーブル配線のミスが考えられます。
|
|
|
|
|
|
|
|
|
|
Yes |
Yes |
Yes |
該当なし |
該当なし |
Yes |
Yes |
Yes |
NS |
フレーム リレー インターフェイスに DLCI がない
PE ルータ上のアクセス回線インターフェイスのマルチポイント フレーム リレー相手先固定接続(PVC)に、宛先 IP アドレスにマッピングされた DLCI がありません。
|
|
|
|
|
|
|
|
|
|
Yes |
Yes |
Yes |
該当なし |
該当なし |
Yes |
Yes |
Yes |
NS |
フレーム リレー インターフェイスに DLCI がない
PE ルータのアクセス回線インターフェイスで、ポイントツーポイント フレーム リレー PVC に DLCI が割り当てられていません。
|
|
|
|
|
|
|
|
|
|
Yes |
Yes |
Yes |
該当なし |
該当なし |
Yes |
Yes |
Yes |
NS |
フレーム リレー PVC が削除済みとしてマークされている
PE ルータのアクセス回線インターフェイスで、フレーム リレー PVC が削除済みとしてマークされています。
|
|
|
|
|
|
|
|
|
|
Yes |
Yes |
Yes |
該当なし |
該当なし |
Yes |
該当なし |
Yes |
NS |
フレーム リレー PVC が停止中としてマークされている
PE ルータのアクセス回線インターフェイスで、マルチポイント フレーム リレー PVC が停止中としてマークされています。
|
|
|
|
|
|
|
|
|
|
Yes |
Yes |
Yes |
該当なし |
該当なし |
Yes |
該当なし |
Yes |
NS |
フレーム リレー PVC が停止中としてマークされている
PE ルータのアクセス回線インターフェイスで、ポイントツーポイント フレーム リレー PVC が停止中としてマークされています。
|
|
|
|
|
|
|
|
|
|
Yes |
Yes |
Yes |
該当なし |
該当なし |
Yes |
Yes |
Yes |
NS |
シリアル インターフェイスの搬送波が不完全
PE ルータのシリアル アクセス回線インターフェイスに不完全な搬送波があります。
|
|
|
|
|
|
|
|
|
|
Yes |
Yes |
Yes |
該当なし |
該当なし |
Yes |
Yes |
Yes |
NS |
インターフェイスが管理上のダウン状態
PE ルータのアクセス回線インターフェイス(またはサブインターフェイス)が管理上の理由でダウンしています。
|
|
|
|
|
|
|
|
|
|
Yes |
Yes |
Yes |
該当なし |
該当なし |
Yes |
Yes |
Yes |
Yes |
インターフェイスが管理上のダウン状態
PE ルータのアクセス回線サブインターフェイスが管理上の理由でダウンしています。
|
|
|
|
|
|
|
|
|
|
Yes |
Yes |
Yes |
該当なし |
該当なし |
Yes |
Yes |
Yes |
Yes |
プロトコルのインターフェイスがダウン状態
PE ルータ プロトコルのアクセス回線インターフェイスがダウンしています。
|
|
|
|
|
|
|
|
|
|
Yes |
Yes |
Yes |
該当なし |
該当なし |
Yes |
Yes |
Yes |
Yes |
PE のインターフェイスはバンドル リンクの仮想アクセス インターフェイスである
この PE のインターフェイスは、有効なアクセス回線インターフェイスではありません。
|
|
|
|
|
|
|
|
|
|
Yes |
Yes |
Yes |
Yes |
該当なし |
Yes |
該当なし |
Yes |
NS |
インターフェイスが運用停止状態
PE ルータのアクセス回線インターフェイスが動作を停止しています。
|
|
|
|
|
|
|
|
|
|
Yes |
Yes |
Yes |
該当なし |
該当なし |
Yes |
Yes |
Yes |
Yes |
(ATM ネクスト ホップとの)断続的 ATM 障害
ATM アクセス回線は、ATM ネクスト ホップに断続的に ATM 接続しています。「IOS XR サポート」を参照してください。
|
|
|
|
|
|
|
|
|
|
Yes |
Yes |
Yes |
該当なし |
該当なし |
Yes |
Yes |
Yes |
NS |
(送信先との)断続的 ATM 障害
ATM アクセス回線は、送信先に断続的に ATM 接続しています。「IOS XR サポート」を参照してください。
|
|
|
|
|
|
|
|
|
|
Yes |
Yes |
Yes |
該当なし |
該当なし |
Yes |
Yes |
Yes |
NS |
無効なアクセス回線 IP アドレス コンフィギュレーション
CE ルータのアクセス回線インターフェイス IP アドレスが、接続先 PE のアクセス回線インターフェイス IP アドレスと同じサブネット内にありません。
|
|
|
|
|
|
|
|
|
|
Yes |
Yes |
Yes |
該当なし |
該当なし |
Yes |
Yes |
Yes |
Yes |
無効なアクセス回線 IP アドレス コンフィギュレーション
この CE のアクセス回線インターフェイス IP アドレスがネットワーク アドレスです。
|
|
|
|
|
|
|
|
|
|
Yes |
Yes |
Yes |
該当なし |
該当なし |
Yes |
Yes |
Yes |
該当なし |
詳細については、「IPv6 サポート」を参照してください。
無効なアクセス回線 IP アドレス コンフィギュレーション
この CE のアクセス回線インターフェイス IP アドレスがネットワーク ブロードキャスト アドレスです。
|
|
|
|
|
|
|
|
|
|
Yes |
Yes |
Yes |
該当なし |
該当なし |
Yes |
Yes |
Yes |
該当なし |
詳細については、「IPv6 サポート」を参照してください。
無効なアクセス回線 IP アドレス コンフィギュレーション
CE のアクセス回線インターフェイス IP アドレスと、接続先 PE のアクセス回線インターフェイス IP アドレスが同じです。
|
|
|
|
|
|
|
|
|
|
Yes |
Yes |
Yes |
該当なし |
該当なし |
Yes |
Yes |
Yes |
Yes |
IP 接続の問題
IP 接続に関する未知の問題。PE インターフェイスから CE への VRF インスタンスで、アクセス回線の接続に問題が生じています。
|
|
|
|
|
|
|
|
|
|
該当なし |
Yes |
該当なし |
該当なし |
該当なし |
Yes |
Yes |
Yes |
Yes |
ルートの欠落
PE ルータのアクセス回線インターフェイスから送信先へのルートが存在しません。
|
|
|
|
|
|
|
|
|
|
Yes |
Yes |
Yes |
該当なし |
該当なし |
Yes |
Yes |
Yes |
Yes |
ルートの欠落
PE ルータのアクセス回線インターフェイスからカスタマーの送信先へのルートが存在しません。
|
|
|
|
|
|
|
|
|
|
Yes |
Yes |
Yes |
該当なし |
該当なし |
Yes |
Yes |
Yes |
Yes |
EIGRP ピア関係が確立されていない
PE と CE 間でルーティング プロトコル EIGRP は動作していますが、ピア関係が確立されていません。
|
|
|
|
|
|
|
|
|
|
Yes |
Yes |
Yes |
該当なし |
該当なし |
Yes |
Yes |
Yes |
NS |
EIGRP ピア関係が確立されていない
PE と CE 間では、ルーティング プロトコル EIGRP が動作しています。PE および CE インターフェイスは異なるサブネット上にあり、IP アンナンバードを使用していません。PE と CE が異なるサブネット上にあるため、ピア関係が確立されていません。
|
|
|
|
|
|
|
|
|
|
Yes |
Yes |
Yes |
該当なし |
該当なし |
Yes |
Yes |
Yes |
NS |
ルート再配布でルート ポリシーが指定されていない
PE と CE 間でルーティング プロトコル EIGRP が動作し、MP-BGP にルートが再配布されています。ただし、発信ルート ポリシーが指定されていないため、すべてのルートはアドバタイズされずにドロップされます。
|
|
|
|
|
|
|
|
|
|
Yes |
Yes |
Yes |
該当なし |
該当なし |
該当なし |
Yes |
Yes |
NS |
OSPF ピアがない
PE と CE 間で Open Shortest Path First(OSPF)が動作していますが、PE にピアが存在しません。
|
|
|
|
|
|
|
|
|
|
Yes |
Yes |
Yes |
該当なし |
該当なし |
Yes |
Yes |
Yes |
NS |
ピア インターフェイスの OSPF がイネーブルでない
ルータ上のインターフェイスで OPSF がイネーブルになっていません。両方のネイバー インターフェイスで OSPF をイネーブルにしておく必要があります。
|
|
|
|
|
|
|
|
|
|
Yes |
該当なし |
Yes |
Yes |
Yes |
NS |
Yes |
Yes |
NS |
ピア インターフェイスの OSPF がパッシブ モード
ルータ上のインターフェイスで OSPF がパッシブ モードになっています。
|
|
|
|
|
|
|
|
|
|
Yes |
該当なし |
Yes |
Yes |
Yes |
NS |
Yes |
Yes |
NS |
OSPF エリアの不一致
ネイバー インターフェイス上で OSPF がイネーブルになっていますが、これらのインターフェイスは異なるエリア内に設定されています。
|
|
|
|
|
|
|
|
|
|
Yes |
該当なし |
Yes |
Yes |
Yes |
NS |
Yes |
Yes |
NS |
OSPF エリア タイプの不一致
ネイバー インターフェイス上で OSPF がイネーブルになっていますが、これらのインターフェイスは異なるエリア タイプに設定されています。
|
|
|
|
|
|
|
|
|
|
Yes |
該当なし |
Yes |
Yes |
Yes |
NS |
Yes |
Yes |
NS |
PE と CE 間で動作するルーティング プロトコルが確定しておらず、スタティック ルートが存在しない
VRF 内のアクセス回線に問題があります。
|
|
|
|
|
|
|
|
|
|
Yes |
Yes |
Yes |
該当なし |
該当なし |
Yes |
Yes |
Yes |
Yes |
OSPF がルートを交換していない
PE と CE 間で OSPF が動作していますが、ピア関係が確立されています。ただし、CE の OSPF からルートを受信していません。
|
|
|
|
|
|
|
|
|
|
Yes |
Yes |
Yes |
該当なし |
該当なし |
Yes |
Yes |
Yes |
NS |
OSPF ピアが確立されていない
PE と CE 間で OSPF が動作していますが、ピア関係が確立されていません。
|
|
|
|
|
|
|
|
|
|
Yes |
Yes |
Yes |
該当なし |
該当なし |
Yes |
Yes |
Yes |
該当なし |
OSPF 時間の不一致
ネイバー インターフェイス上で OSPF はイネーブルになっていますが、これらのインターフェイスの [hello|dead] タイマーにはそれぞれ異なる値が設定されています。
|
|
|
|
|
|
|
|
|
|
Yes |
該当なし |
Yes |
Yes |
Yes |
NS |
Yes |
Yes |
NS |
OSPF ピアが確立されていない
PE と CE 間では OSPF が動作しています。ただし、PE および CE インターフェイスは異なるサブネット上にあり、IP アンナンバードを使用していないため、ピア関係が確立されていません。
|
|
|
|
|
|
|
|
|
|
Yes |
Yes |
Yes |
該当なし |
該当なし |
Yes |
Yes |
Yes |
NS |
ルート再配布でルート ポリシーが指定されていない
PE と CE 間でルーティング プロトコル OSPF が動作し、MP-BGP にルートが再配布されています。ただし、発信ルート ポリシーが指定されていないため、すべてのルートはアドバタイズされずにドロップされます。
|
|
|
|
|
|
|
|
|
|
Yes |
Yes |
Yes |
該当なし |
該当なし |
NS |
Yes |
Yes |
NS |
PE に CE へのルートがない
接続されている PE および CE インターフェイスは、異なるサブネット上にあります。PE と CE 間で動作するルーティング プロトコルが確定しておらず、CE へのスタティック ルートが存在しません。
|
|
|
|
|
|
|
|
|
|
Yes |
Yes |
Yes |
該当なし |
該当なし |
Yes |
該当なし |
Yes |
NS |
RIB 障害
PE から VRF 内の宛先へのルートが VRF ルーティング テーブルに設定されていません。これは Routing Information Base(RIB; ルーティング情報ベース)障害と見なされます。
|
|
|
|
|
|
|
|
|
|
Yes |
Yes |
Yes |
Yes |
該当なし |
Yes |
該当なし |
Yes |
NS |
RIP の設定ミス
PE と CE 間で Routing Information Protocol(RIP)が動作していますが、CE の RIP からルートを受信していません。
|
|
|
|
|
|
|
|
|
|
Yes |
Yes |
Yes |
該当なし |
該当なし |
Yes |
Yes |
Yes |
NS |
RIP がルートを交換していない
PE と CE 間で RIP が動作していますが、PE および CE インターフェイスは異なるサブネット上にあり、IP アンナンバードを使用していないため、CE の RIP からルートを受信していません。
|
|
|
|
|
|
|
|
|
|
Yes |
Yes |
Yes |
該当なし |
該当なし |
Yes |
Yes |
Yes |
NS |
ルート再配布でルート ポリシーが指定されていない
PE と CE 間でルーティング プロトコル RIP が動作し、MP-BGP にルートが再配布されています。ただし、発信ルート ポリシーが指定されていないため、すべてのルートはアドバタイズされずにドロップされます。
|
|
|
|
|
|
|
|
|
|
Yes |
Yes |
Yes |
該当なし |
該当なし |
該当なし |
Yes |
Yes |
NS |
ループバック モードのシリアル インターフェイス
PE ルータのシリアル アクセス回線インターフェイスがループバック モードに設定されています。
|
|
|
|
|
|
|
|
|
|
Yes |
Yes |
Yes |
該当なし |
該当なし |
Yes |
Yes |
Yes |
NS |
シリアル インターフェイスが運用停止状態
PE ルータのシリアル アクセス回線インターフェイスが動作を停止しています。
|
|
|
|
|
|
|
|
|
|
Yes |
Yes |
Yes |
該当なし |
該当なし |
Yes |
Yes |
Yes |
NS |
ATM ポイントツーポイント インターフェイスのスタティック IP アドレス
ATM アクセス回線の ATM ポイントツーポイント サブインターフェイスに、スタティック IP アドレス マッピングが指定されています。ポイントツーポイント サブインターフェイスでは、トラフィックに対する VC とパスはそれぞれ 1 つだけなので、スタティック マッピングもアドレス解決プロトコル(ARP)も必要ありません。「IOS XR サポート」を参照してください。
|
|
|
|
|
|
|
|
|
|
Yes |
Yes |
Yes |
該当なし |
該当なし |
Yes |
Yes |
Yes |
NS |
プロトコルのサブインターフェイスがダウン状態
PE ルータ プロトコルのアクセス回線サブインターフェイスがダウンしています。
|
|
|
|
|
|
|
|
|
|
Yes |
Yes |
Yes |
該当なし |
該当なし |
Yes |
Yes |
Yes |
Yes |
未診断の ATM 障害(ATM ping は失敗したが、ATM セグメントの ping は成功)
ATM アクセス回線の接続が中断されています。エンドツーエンド ATM ping は失敗しましたが、ATM セグメントの ping は成功しました。原因として、ATM 回線パラメータの間違い、ATM ルーティングの設定ミス、CE または ATM クラウド インターフェイスのダウン、デバイスの停止など、さまざまな問題が考えられます。「IOS XR サポート」を参照してください。
|
|
|
|
|
|
|
|
|
|
Yes |
Yes |
Yes |
該当なし |
該当なし |
Yes |
Yes |
Yes |
NS |
未診断の ATM 障害(エンドツーエンドおよびセグメント ATM ping が失敗)
ATM アクセス回線の接続が中断されています。エンドツーエンド ping とセグメント ATM ping がどちらも失敗しました。原因として、ATM 回線パラメータの間違い、ATM ネクスト ホップでの ATM ルーティングの設定ミス、ネクスト ホップ インターフェイスのダウン、デバイスの停止など、さまざまな問題が考えられます。「IOS XR サポート」を参照してください。
|
|
|
|
|
|
|
|
|
|
Yes |
Yes |
Yes |
該当なし |
該当なし |
Yes |
Yes |
Yes |
NS |
PE アクセス回線インターフェイスに仮想テンプレート インターフェイスが指定されている
この PE の PE インターフェイスは、有効なアクセス回線インターフェイスではありません。
|
|
|
|
|
|
|
|
|
|
Yes |
Yes |
Yes |
Yes |
該当なし |
Yes |
該当なし |
Yes |
NS |
MPLS エッジ
BGP ネクスト ホップ インターフェイスが管理上のダウン状態
PE の BGP ネクスト ホップがループバック インターフェイスに割り当てられています。ただし、このインターフェイスは管理上の理由でダウンしています。
|
|
|
|
|
|
|
|
|
|
Yes |
該当なし |
Yes |
Yes |
Yes |
Yes |
Yes |
Yes |
Yes |
BGP ネクスト ホップがインターフェイスに割り当てられていない
リモート サイト PE へのルートの BGP ネクスト ホップが、リモート PE のインターフェイスに割り当てられていません。
|
|
|
|
|
|
|
|
|
|
Yes |
該当なし |
Yes |
Yes |
Yes |
Yes |
Yes |
Yes |
Yes |
BGP が非アクティブ
PE ルータで BGP がアクティブになっていません。
|
|
|
|
|
|
|
|
|
|
Yes |
Yes |
Yes |
Yes |
該当なし |
Yes |
Yes |
Yes |
Yes |
複数の BGP ピアが同じ BGP ネクスト ホップを使用している
複数の BGP VPNv4/VPNv6 ピアが同一の BGP ネクスト ホップを使用しています。このため、PE ルートの正しいルート配布ができません。これ以外のルーティング問題も発生する可能性があります。
|
|
|
|
|
|
|
|
|
|
Yes |
該当なし |
Yes |
Yes |
該当なし |
Yes |
Yes |
Yes |
Yes |
複数の BGP ピアが同じ Router Identifier(RID; ルータ ID)を使用している
複数の BGP VPNv4/VPNv6 ピアが同一のルータ ID を使用しています。このため、PE ルートの正しいルート配布ができません。これ以外のルーティング問題も発生する可能性があります。
|
|
|
|
|
|
|
|
|
|
Yes |
該当なし |
Yes |
Yes |
Yes |
Yes |
Yes |
Yes |
Yes |
同じサブネット内に複数のアクセス回線がある
LSP 接続およびコントロール プレーンに関する問題。リモート PE ルータに対して現在選択されている BGP ルートのネクスト ホップが、ローカル PE ルータのインターフェイスに割り当てられていません。ローカル PE ルータの VRF に、リモート プレフィックスへの VPNv4/VPNv6 ルートが複数存在します。
|
|
|
|
|
|
|
|
|
|
Yes |
該当なし |
該当なし |
該当なし |
該当なし |
Yes |
Yes |
Yes |
Yes |
BGP と LFIB の不一致
BGP テーブルとラベル転送情報ベース(LFIB)テーブルのタグなしエントリが一致しません。
|
|
|
|
|
|
|
|
|
|
Yes |
Yes |
Yes |
Yes |
該当なし |
Yes |
Yes |
Yes |
Yes |
BGP と LFIB の不一致
Forwarding Information Base(FIB; 転送情報ベース)と BGP のエントリが一致しません。
|
|
|
|
|
|
|
|
|
|
Yes |
Yes |
Yes |
Yes |
該当なし |
Yes |
Yes |
Yes |
Yes |
BGP ネクスト ホップの重複
ネットワーク内で、PE の BGP ネクスト ホップの IP アドレスが重複しています。
|
|
|
|
|
|
|
|
|
|
Yes |
該当なし |
Yes |
Yes |
Yes |
Yes |
Yes |
Yes |
Yes |
IP アドレスの重複
PE ルータに、アクセス回線インターフェイスと重複する IP アドレスが設定されています。
|
|
|
|
|
|
|
|
|
|
Yes |
Yes |
Yes |
該当なし |
該当なし |
Yes |
Yes |
Yes |
Yes |
IP アドレスの重複
ネットワーク内で、PE の BGP ルータ ID の IP アドレスが重複しています。
|
|
|
|
|
|
|
|
|
|
Yes |
該当なし |
Yes |
Yes |
Yes |
Yes |
Yes |
Yes |
Yes |
eBGP が MP-BGP に接続ルートを再配布していない
PE と CE 間でルーティング プロトコル eBGP が動作していますが、PE の eBGP は接続ルートを Multi Protocol(MP; マルチ プロトコル)-BGP に再配布しておらず、明示的なネットワーク文もありません。
|
|
|
|
|
|
|
|
|
|
Yes |
Yes |
Yes |
該当なし |
該当なし |
Yes |
Yes |
Yes |
Yes |
FIB と LFIB の不一致
FIB テーブルと LFIB テーブルの集約エントリが一致しません。
|
|
|
|
|
|
|
|
|
|
Yes |
Yes |
Yes |
該当なし |
該当なし |
Yes |
Yes |
Yes |
Yes |
入力 FIB と出力 LFIB の不一致
入力 FIB と出力 LFIB が一致しません。
|
|
|
|
|
|
|
|
|
|
Yes |
Yes |
Yes |
Yes |
該当なし |
Yes |
Yes |
Yes |
Yes |
BGP エントリの不一致
VRF の BGP エントリが一致しません。
|
|
|
|
|
|
|
|
|
|
Yes |
Yes |
Yes |
Yes |
該当なし |
Yes |
Yes |
Yes |
Yes |
ラベルの不一致、または異なる VPN にあるインターフェイスがダウン
VRF で、PE から送信先への VPN 接続に問題が生じています。プレフィックスの BGP VPNv4/VPNv6 ラベルが一致しません。これは、ラベルの不一致、またはインターフェイスが異なる VPN にあることを示している可能性があります。選択されたインターフェイスが同じ VRF にあることを確認してください。
|
|
|
|
|
|
|
|
|
|
該当なし |
該当なし |
該当なし |
Yes |
該当なし |
Yes |
Yes |
Yes |
Yes |
PE インターフェイスが管理上のダウン状態
PE ルータのアクセス回線インターフェイスが管理上の理由でダウンしています。
|
|
|
|
|
|
|
|
|
|
Yes |
Yes |
Yes |
該当なし |
該当なし |
Yes |
Yes |
Yes |
NS |
Router Identifier(RID; ルータ ID)の欠落
PE のローカル ルータ ID を特定できません。
|
|
|
|
|
|
|
|
|
|
該当なし |
該当なし |
該当なし |
該当なし |
Yes |
Yes |
Yes |
Yes |
Yes |
VPNv4 アドレス ファミリ コンフィギュレーションの欠落
VPNv4 コンフィギュレーションが欠落しています。バーチャル プライベート ネットワーク(VPN)ラベルの交換に問題があります。PE ルータの BGP ルータ コンフィギュレーションで、VPNv4 アドレス ファミリ コンフィギュレーションが欠落しています。このためルートはドロップされます。
|
|
|
|
|
|
|
|
|
|
Yes |
該当なし |
Yes |
Yes |
該当なし |
Yes |
Yes |
Yes |
Yes |
VPNv6 アドレス ファミリ コンフィギュレーションの欠落
VPNv6 コンフィギュレーションが欠落しています。バーチャル プライベート ネットワーク(VPN)ラベルの交換に問題があります。PE ルータの BGP ルータ コンフィギュレーションで、VPNv6 アドレス ファミリ コンフィギュレーションが欠落しています。このためルートはドロップされます。
|
|
|
|
|
|
|
|
|
|
Yes |
該当なし |
Yes |
Yes |
該当なし |
該当なし |
Yes |
該当なし |
Yes |
IOS XR ルータで MPLS LDP パッケージがイネーブルでない
IOS XR ルータで MPLS LDP パッケージがイネーブルになっていません。
|
|
|
|
|
|
|
|
|
|
Yes |
該当なし |
Yes |
Yes |
Yes |
該当なし |
Yes |
Yes |
Yes |
IOS XR ルータに MPLS パッケージがインストールされているがアクティブでない
IOS XR ルータに MPLS パッケージがインストールされていますが、アクティブになっていません。
|
|
|
|
|
|
|
|
|
|
Yes |
該当なし |
Yes |
Yes |
Yes |
該当なし |
Yes |
Yes |
Yes |
IOS XR ルータに MPLS パッケージがインストールされていない
IOS XR ルータに MPLS パッケージがインストールされていません。
|
|
|
|
|
|
|
|
|
|
Yes |
該当なし |
Yes |
Yes |
Yes |
該当なし |
Yes |
Yes |
Yes |
MP-BGP ネイバーがない
PE ルータで MP-BGP ネイバーが定義されていません。
|
|
|
|
|
|
|
|
|
|
Yes |
該当なし |
Yes |
Yes |
該当なし |
Yes |
Yes |
Yes |
Yes |
MP-BGP ネイバー セッションが確立されていない
PE ルータで MP-BGP ネイバー セッションが確立されていません。
|
|
|
|
|
|
|
|
|
|
Yes |
該当なし |
Yes |
Yes |
該当なし |
Yes |
Yes |
Yes |
Yes |
プレフィックスの VPN ラベルがない
プレフィックスに VPN ラベルが割り当てられていません。
|
|
|
|
|
|
|
|
|
|
Yes |
該当なし |
Yes |
Yes |
該当なし |
Yes |
Yes |
Yes |
Yes |
PE インターフェイスに VRF が関連付けられていない
PE ルータのインターフェイスに VRF が関連付けられていません。
|
|
|
|
|
|
|
|
|
|
Yes |
該当なし |
Yes |
Yes |
該当なし |
Yes |
Yes |
Yes |
Yes |
OSPF ループバック インターフェイスが /32 以外のネットマスクを使用している
PE によって VPNv4 ルートが IBGP ネイバーにアドバタイズされています。ネクスト ホップのアドレスは、/32 マスクが定義されていないループバック インターフェイスです。OSPF はこのループバック インターフェイス上で使用されており、このインターフェイスの OSPF ネットワーク タイプはループバックです。マスクの設定に関係なく、OSPF はこの IP アドレスをホスト ルートとして(マスク /32 を使用して)アドバタイズします。このアドバタイジングは、設定済みマスクを使用する TDP/LDP と競合します。したがって、TDP/LDP ネイバーは、このルータによってアドバタイズされるルートのラベルを受信できない場合があります。このため、同じ VPN に属するサイト間の接続が中断される可能性があります。
|
|
|
|
|
|
|
|
|
|
Yes |
該当なし |
Yes |
Yes |
Yes |
Yes |
該当なし |
Yes |
該当なし |
PE インターフェイスに IP アドレスがない
PE ルータのインターフェイスに IP アドレスがありません。
|
|
|
|
|
|
|
|
|
|
Yes |
該当なし |
Yes |
Yes |
該当なし |
Yes |
Yes |
Yes |
Yes |
ルータ ID ループバック インターフェイスのダウン
PE のローカル ルータ ID の関連付けに使用するループバック インターフェイスが管理上の理由でダウンしています。
|
|
|
|
|
|
|
|
|
|
Yes |
Yes |
Yes |
該当なし |
該当なし |
Yes |
Yes |
Yes |
Yes |
MP-BGP との間でルートが再配布されていない
PE の MP-BGP との間でルートが再配布されていません。
|
|
|
|
|
|
|
|
|
|
Yes |
Yes |
Yes |
該当なし |
該当なし |
Yes |
該当なし |
Yes |
該当なし |
リモート プレフィックスへのスタティック ルート
PE の VRF 内で、リモート プレフィックスへのスタティック ルートが設定されています。
|
|
|
|
|
|
|
|
|
|
Yes |
該当なし |
Yes |
Yes |
該当なし |
Yes |
Yes |
Yes |
Yes |
トラフィックの管理上のブロック
トラフィックが管理上の理由でブロックされているため、PE から送信先への VPN 接続に問題が生じています。
|
|
|
|
|
|
|
|
|
|
Yes |
該当なし |
Yes |
該当なし |
該当なし |
Yes |
Yes |
Yes |
Yes |
レイヤ 3 VPN のトラブルシューティングで障害の原因を特定できない
LSP 接続の問題。
|
|
|
|
|
|
|
|
|
|
Yes |
該当なし |
Yes |
Yes |
Yes |
Yes |
Yes |
Yes |
Yes |
レイヤ 3 VPN のトラブルシューティングで障害の原因を特定できない
VRF で、PE から送信先への VPN 接続に問題が生じています。
|
|
|
|
|
|
|
|
|
|
Yes |
該当なし |
Yes |
Yes |
該当なし |
Yes |
Yes |
Yes |
Yes |
VRF ルート ターゲット インポート/エクスポートの不一致
PE デバイス間で VRF ルート ターゲット インポート/エクスポートが一致しません。
|
|
|
|
|
|
|
|
|
|
Yes |
該当なし |
Yes |
Yes |
該当なし |
Yes |
Yes |
Yes |
Yes |
MPLS コア
無効な PE インターフェイスが指定されている
LSP エンドポイントとして指定されたインターフェイスは、PE ルータ上に存在しません。
|
|
|
|
|
|
|
|
|
|
該当なし |
該当なし |
該当なし |
該当なし |
Yes |
Yes |
Yes |
Yes |
該当なし |
LDP ネイバー セッションの中断
ダウンストリーム ネイバーとの LDP セッションが中断されました。ルータのルート プロセッサ/ラインカード転送に不一致があります。「IOS XR サポート」を参照してください。
|
|
|
|
|
|
|
|
|
|
Yes |
該当なし |
Yes |
Yes |
Yes |
Yes |
該当なし |
Yes |
Yes |
ルータの CEF がイネーブルでない
ルータ上で CEF がイネーブルになっていません。「IOS XR サポート」を参照してください。
|
|
|
|
|
|
|
|
|
|
Yes |
該当なし |
Yes |
Yes |
Yes |
Yes |
該当なし |
Yes |
Yes |
配布された LFIB テーブルの不一致
ルート プロセッサとラインカードの LFIB テーブルが一致しません。
|
|
|
|
|
|
|
|
|
|
Yes |
該当なし |
Yes |
Yes |
該当なし |
Yes |
Yes |
Yes |
Yes |
配布された FIB テーブルの不一致
ルート プロセッサとラインカードの FIB テーブルが一致しません。
|
|
|
|
|
|
|
|
|
|
Yes |
該当なし |
Yes |
Yes |
該当なし |
Yes |
Yes |
Yes |
Yes |
ラベルの不一致
ルータ上で、LFIB ローカル タグ、受信パケット、および LDP ローカル バインディング ラベルに不一致があります。「IOS XR サポート」を参照してください。
|
|
|
|
|
|
|
|
|
|
Yes |
該当なし |
Yes |
Yes |
Yes |
Yes |
該当なし |
Yes |
Yes |
LDP ホストが到達不能
ラベル スイッチ ルータ(LSR)からホストに到達できません。原因として、ダウンストリーム ルータとの LDP セッションがルータ上で確立されていない、IGP の問題によって LDP ID に到達できない、LDP パケットをブロックする ACL が設定されている、認証上の問題などが考えられます。
|
|
|
|
|
|
|
|
|
|
Yes |
該当なし |
Yes |
Yes |
Yes |
Yes |
Yes |
Yes |
Yes |
LDP ラベルの不一致
プレフィックス用に受信したラベルと送信したラベルが一致しません。「IOS XR サポート」を参照してください。
|
|
|
|
|
|
|
|
|
|
Yes |
該当なし |
Yes |
Yes |
Yes |
Yes |
該当なし |
Yes |
Yes |
LDP ネイバーが見つからない
LDP ネイバーが検出されませんでした。これは、ダウンストリーム ネイバーとデバイスとのインターフェイスでよく見られる LDP 検出問題です。「IOS XR サポート」を参照してください。
|
|
|
|
|
|
|
|
|
|
Yes |
該当なし |
Yes |
Yes |
Yes |
Yes |
該当なし |
Yes |
Yes |
LDP ネイバーが見つからない
LDP ネイバーが検出されませんでした。ルータのインターフェイスに ACL が設定されているため、LDP ネイバーを検出できない場合があります。
|
|
|
|
|
|
|
|
|
|
Yes |
該当なし |
Yes |
Yes |
Yes |
Yes |
Yes |
Yes |
Yes |
LDP ネイバーが確立されていない
LSP 接続およびコントロール プレーンに関する問題。LDP セッションが確立されていません。インターフェイスに ACL が設定されているため、ポート 646 で LDP セッションを確立できない場合があります。
|
|
|
|
|
|
|
|
|
|
Yes |
該当なし |
Yes |
Yes |
Yes |
Yes |
Yes |
Yes |
Yes |
LDP/TDP の不一致
リンクの一方の終端では LDP、もう一方の終端では TDP がイネーブルになっています。「IOS XR サポート」を参照してください。
|
|
|
|
|
|
|
|
|
|
Yes |
該当なし |
Yes |
Yes |
Yes |
Yes |
Yes |
Yes |
Yes |
LSP 応答パスの問題
LSP 接続の応答パスに問題があります。「IOS XR サポート」を参照してください。
|
|
|
|
|
|
|
|
|
|
Yes |
該当なし |
Yes |
Yes |
Yes |
Yes |
該当なし |
Yes |
Yes |
LFIB エントリの欠落
LFIB エントリがありません。原因として、以前のルータでのルーティング ミス、またはループバックの重複が考えられます。「IOS XR サポート」を参照してください。
|
|
|
|
|
|
|
|
|
|
Yes |
該当なし |
Yes |
Yes |
Yes |
Yes |
該当なし |
Yes |
Yes |
リターン パスの欠落、またはタグのないリターン パス
コア ルータからのリターン パスがないか、リターン パスにプレフィックスのタグが付いていません。「IOS XR サポート」を参照してください。
|
|
|
|
|
|
|
|
|
|
Yes |
該当なし |
Yes |
Yes |
Yes |
Yes |
該当なし |
Yes |
Yes |
MPLS ラベル スペースの枯渇
ルータの MPLS ラベル スペースがなくなりました。
|
|
|
|
|
|
|
|
|
|
Yes |
該当なし |
Yes |
Yes |
Yes |
Yes |
Yes |
Yes |
Yes |
MPLS がグローバルにイネーブル化されていない
MPLS がルータ上でグローバルにイネーブル化されていません。
|
|
|
|
|
|
|
|
|
|
Yes |
該当なし |
Yes |
Yes |
Yes |
Yes |
該当なし |
Yes |
Yes |
インターフェイスの MPLS がイネーブルでない
MPLS がインターフェイス上でイネーブルになっていません。「IOS XR サポート」を参照してください。
|
|
|
|
|
|
|
|
|
|
Yes |
該当なし |
Yes |
Yes |
Yes |
Yes |
Yes |
Yes |
Yes |
ラベルのエントリがない
送信先プレフィックスへの着信ラベルの LFIB にエントリがありません。「IOS XR サポート」を参照してください。
|
|
|
|
|
|
|
|
|
|
Yes |
該当なし |
Yes |
Yes |
Yes |
Yes |
該当なし |
Yes |
Yes |
ネイバーとの LDP セッションがない
ルータに上ネイバーとの LDP セッションが存在しません。
|
|
|
|
|
|
|
|
|
|
Yes |
該当なし |
Yes |
Yes |
Yes |
Yes |
Yes |
Yes |
Yes |
有効なネクスト ホップ エントリがない
現在のデバイスで、ネクスト ホップの有効なエントリが見つかりません。「IOS XR サポート」を参照してください。
|
|
|
|
|
|
|
|
|
|
Yes |
該当なし |
Yes |
Yes |
Yes |
Yes |
該当なし |
Yes |
Yes |
転送パスのルーティング ループ
転送パスにルーティング ループがあります。
|
|
|
|
|
|
|
|
|
|
Yes |
該当なし |
Yes |
Yes |
Yes |
Yes |
Yes |
Yes |
Yes |
コアに接続するすべての MPLS 対応インターフェイスがダウン
LSP 接続およびコントロール プレーンに関する問題。MPLS 対応インターフェイスが動作していません。
|
|
|
|
|
|
|
|
|
|
Yes |
該当なし |
Yes |
Yes |
Yes |
Yes |
Yes |
Yes |
Yes |
ラベル アドバタイジングがイネーブルでない
ルータ上でラベル アドバタイジングがディセーブルになっています。
|
|
|
|
|
|
|
|
|
|
Yes |
該当なし |
Yes |
Yes |
Yes |
Yes |
Yes |
Yes |
Yes |
ラベル アドバタイジングが ACL によって拒否される
ラベル アドバタイジングはグローバルにディセーブル化されていますが、一部は 1 つまたは複数のアクセス リストに対してイネーブルになっています。送信先プレフィックスへのラベルのアドバタイジングを ACL が拒否している可能性があります。
|
|
|
|
|
|
|
|
|
|
Yes |
該当なし |
Yes |
Yes |
Yes |
Yes |
Yes |
Yes |
Yes |
TTL の伝播がディセーブル
デバイスが存続可能時間(TTL)を伝播していないため、障害箇所のトラブルシューティングまたは検出ができません。
|
|
|
|
|
|
|
|
|
|
Yes |
該当なし |
Yes |
Yes |
Yes |
Yes |
Yes |
Yes |
Yes |
トンネル トラフィック アドミッション ポリシーを確認
TE トンネルに(autoroute announce を介して、あるいは Policy Based Tunnel Selection(PBTS; ポリシー ベースのトンネル選択)またはスタティック ルートなどの)トラフィック アドミッション ポリシーが設定されていません。
|
|
|
|
|
|
|
|
|
|
Yes |
該当なし |
Yes |
Yes |
Yes |
該当なし |
Yes |
Yes |
Yes |
トンネル インターフェイスで MPLS がイネーブルかどうかを確認
MPLS TE トンネル インターフェイスで不完全なコンフィギュレーションが検出されました。
|
|
|
|
|
|
|
|
|
|
Yes |
該当なし |
Yes |
該当なし |
Yes |
NS |
Yes |
Yes |
Yes |
プライマリおよびバックアップ トンネルのインターフェイスが動作していることを確認
ルータのトンネル インターフェイスが管理上の理由でダウンしています。
|
|
|
|
|
|
|
|
|
|
Yes |
該当なし |
Yes |
Yes |
Yes |
NS |
Yes |
Yes |
Yes |
ヘッドエンドにトンネル コンフィギュレーションがない
ヘッドエンド ルータに TE トンネル コンフィギュレーションが存在しません。
|
|
|
|
|
|
|
|
|
|
Yes |
該当なし |
Yes |
Yes |
Yes |
NS |
Yes |
Yes |
Yes |
トンネルの発信インターフェイスが動作していることを確認
ルータに設定された FRR プライマリ トンネルの発信インターフェイスが動作を停止しています。
|
|
|
|
|
|
|
|
|
|
Yes |
該当なし |
Yes |
Yes |
Yes |
NS |
Yes |
Yes |
Yes |
ルータの TE がグローバルにイネーブル化されていない
MPLS トラフィック エンジニアリングが、ルータ上でグローバルにイネーブル化されていません。
|
|
|
|
|
|
|
|
|
|
Yes |
該当なし |
Yes |
Yes |
Yes |
NS |
Yes |
Yes |
Yes |
インターフェイスの TE がグローバルにイネーブル化されていない
MPLS トラフィック エンジニアリングが、ルータのインターフェイスでイネーブルになっていません。
|
|
|
|
|
|
|
|
|
|
Yes |
該当なし |
Yes |
Yes |
Yes |
NS |
Yes |
Yes |
Yes |
IP アドレスがトンネルに割り当てられていない
MPLS トラフィック エンジニアリング トンネルに IP アドレスが割り当てられていません。
|
|
|
|
|
|
|
|
|
|
Yes |
該当なし |
Yes |
Yes |
Yes |
NS |
Yes |
Yes |
Yes |
トンネルの宛先が無効
トンネルに設定されている宛先アドレスは到達不能です。
|
|
|
|
|
|
|
|
|
|
Yes |
該当なし |
Yes |
Yes |
Yes |
NS |
Yes |
Yes |
Yes |
トンネルが管理上のシャットダウン状態
管理上の理由により、ルータのトンネルがシャットダウンされました。
|
|
|
|
|
|
|
|
|
|
Yes |
該当なし |
Yes |
Yes |
Yes |
NS |
Yes |
Yes |
Yes |
TE の OSPF コンフィギュレーションの欠落
MPLS TE の OSPF がルータに設定されていません。
|
|
|
|
|
|
|
|
|
|
Yes |
該当なし |
Yes |
Yes |
Yes |
NS |
Yes |
Yes |
Yes |
ノードが MPLS TE リンクをアドバタイズしていない
ルータは、自身を MPLS TE リンクとして OSPF 経由でアドバタイズしていません。
|
|
|
|
|
|
|
|
|
|
Yes |
該当なし |
Yes |
Yes |
Yes |
NS |
Yes |
Yes |
Yes |
ターゲット LDP セッションがピア PE 間に存在しない
リモート サイト PE ルータが、ターゲット LDP セッション要求を受け付けません。
|
|
|
|
|
|
|
|
|
|
Yes |
該当なし |
Yes |
該当なし |
Yes |
NS |
Yes |
Yes |
Yes |
ブロッキング ACL を原因とするターゲット LDP セッションのセットアップ問題
ルータは、(TCP ポート 646 で)LDP メッセージをブロックするアクセス コントロール リストを保持しています。
|
|
|
|
|
|
|
|
|
|
Yes |
該当なし |
Yes |
Yes |
Yes |
NS |
Yes |
Yes |
Yes |
PE 間でターゲット LDP が確立されていない、または動作していない
ピア PE ルータが到達不能なため、LDP はデバイス間でターゲット セッションを確立できませんでした。
|
|
|
|
|
|
|
|
|
|
Yes |
該当なし |
Yes |
Yes |
Yes |
NS |
Yes |
Yes |
Yes |
トンネル接続の障害、ターゲット LDP コンフィギュレーションがない
ネイバー デバイスに対する LDP 検出が失敗しました。トンネル テール エンド デバイスが、LDP ターゲット hello を受け付けません。
|
|
|
|
|
|
|
|
|
|
Yes |
該当なし |
Yes |
Yes |
Yes |
Yes |
Yes |
Yes |
Yes |
リンク保護のため、保護されたインターフェイスをバックアップ トンネルが通過しないよう確認
ルータに FRR バックアップ トンネルが設定されています。FRR バックアップ トンネルは、プライマリ トンネルが通過するパス上にあるルータ(NHOP)でリンクを保護するように設定されています。しかし、設定済みバックアップ トンネルは、このリンクを経由するように設定されています。
|
|
|
|
|
|
|
|
|
|
Yes |
該当なし |
Yes |
Yes |
Yes |
NS |
Yes |
Yes |
Yes |
プライマリ トンネルで「fast-reroute」を使用して FRR がイネーブルになっていることを確認
ルータ上でトンネルが検出されました。このトンネルはプライマリ トンネルとして使用されますが、必要とされる fast-reroute の設定が行われていないようです。
|
|
|
|
|
|
|
|
|
|
Yes |
該当なし |
Yes |
該当なし |
Yes |
NS |
Yes |
Yes |
Yes |
ノードの保護:バックアップ トンネル パスが明示的かどうかと、保護されたノード インターフェイスがパスに含まれていないかどうかを確認
FRR バックアップ トンネルがルータに設定されています。FRR バックアップ トンネルは、プライマリ トンネルが通過するパス上にあるルータ(NNHOP)を保護するように設定されています。しかし、設定済みバックアップ トンネルは、このルータ上のリンクを経由するように設定されています。
|
|
|
|
|
|
|
|
|
|
Yes |
該当なし |
Yes |
Yes |
Yes |
NS |
Yes |
Yes |
Yes |
プライマリおよびバックアップ トンネルのマージ ポイントが到達可能かどうかを確認
FRR プライマリ トンネルと FRR バックアップ トンネルのマージ ポイント ルータが到達不能です。
|
|
|
|
|
|
|
|
|
|
Yes |
該当なし |
Yes |
Yes |
Yes |
NS |
Yes |
Yes |
Yes |
TE ping の失敗
ping mpls traffic-eng tunnel コマンドで failure が返されました。
|
|
|
|
|
|
|
|
|
|
Yes |
該当なし |
Yes |
該当なし |
Yes |
NS |
Yes |
Yes |
Yes |
トンネルが運用停止状態
show mpls traffic-eng tunnels コマンドで、TE トンネルがダウンしていることが示されました。
|
|
|
|
|
|
|
|
|
|
Yes |
該当なし |
Yes |
該当なし |
Yes |
NS |
Yes |
Yes |
Yes |
トンネル接続の障害
MPLS TE 接続に関する未知の問題。
|
|
|
|
|
|
|
|
|
|
Yes |
該当なし |
Yes |
Yes |
Yes |
該当なし |
Yes |
Yes |
Yes |
MPLS TE 接続の問題をトラブルシューティングできない
このルータは OAM Cisco IOS 以外のバージョンを実行しています。トンネルの接続をテストできません。
|
|
|
|
|
|
|
|
|
|
Yes |
該当なし |
Yes |
Yes |
Yes |
Yes |
Yes |
Yes |
Yes |
未知の LSP 接続問題
LSP 接続、データ プレーン、または未知の原因による問題。
|
|
|
|
|
|
|
|
|
|
Yes |
該当なし |
Yes |
Yes |
Yes |
Yes |
Yes |
Yes |
Yes |
サポートされていない IOS バージョン
コア ルータはサポートされていない IOS バージョンを実行しています。この IOS バージョンは、必要な OAM 機能をサポートしていません。
|
|
|
|
|
|
|
|
|
|
Yes |
該当なし |
Yes |
Yes |
Yes |
Yes |
該当なし |
Yes |
NS |
VPN 接続テストが実行され、障害は検出されなかった(ただし CE への ping はブロックされ、VPN 接続の検証は不可)
VRF 内の PE から送信先への VPN 接続を検証できません。
|
|
|
|
|
|
|
|
|
|
Yes |
Yes |
Yes |
Yes |
Yes |
Yes |
Yes |
Yes |
Yes |
カスタマー サイト
カスタマー側のルーティングに問題がある可能性
PE には CE からの複数のルートがありますが、CE が ping に応答できません。
|
|
|
|
|
|
|
|
|
|
Yes |
Yes |
Yes |
該当なし |
該当なし |
Yes |
Yes |
Yes |
Yes |
IPv6 サポート
この項では、IPv6 サポート警告について説明します。
•
IOS および IOS XR デバイス向けの IPv4 トラブルシューティングに加え、PE-CE リンクで IPv6 アドレッシングが使用される IOS XR デバイスにもトラブルシューティングが拡張されています。IPv6 は、IOS デバイスではサポートされません。
•
イーサネットは、IOS XR デバイスで IPv6 アドレッシングが使用される場合に Diagnostics がトラブルシューティングに利用できる、唯一のアクセス回線インターフェイス テクノロジーです。
•
IPv6 サポートは限定的に拡張され、PE-CE ルーティング プロトコルとして eBGP のみをサポートします。
•
IPv6 アドレスの範囲は接続回線リンク間に限られているので、LSP の終端は両側とも IPv6 または IPv4 のいずれかであり、一方が IPv6 で他方が IPv4、あるいはその逆になることはありません。
•
IPv6 サポートでは、グローバル ユニキャスト IPv6 アドレスだけを使用する PE-CE リンク コンフィギュレーションをトラブルシューティングできます。
•
IPv6 サポートでは、IPv4 ルータ ID は、BGP や LDP などのプロトコル向けにピア ルータを識別するために使用されます。
•
IPv4 の場合と異なり、(適用可能なテスト タイプの)CE アクセス回線インターフェイス IP アドレスは自動的に入力されません。これは、IPv6 アンナンバードが IOS XR デバイスでサポートされておらず、IPv6 には /30 および /31 アドレスの概念がないためです。
•
次の障害シナリオは IOS XR には適用されますが、これらの検証は最初のデータ検証で行われるので、IPv6 のコンテキストには適用されません。この障害シナリオは、CE アクセス回線インターフェイス IP アドレスがネットワーク アドレスであることを報告するためのもので、最初のデータ検証で実行されます。IPv6 にブロードキャスト アドレスの概念はありません。
–
ブロードキャスト アドレス
–
ネットワーク アドレス
観察結果
観察結果とは、接続上の問題に発展する可能性のある状況です。Diagnostics は接続問題の原因を 1 つのカテゴリとして判断できないため、これらの状況は観察結果として報告されます。
詳細については、 mpls-diagnostics-expert@cisco.com まで電子メールでお問い合わせください。
PE に ACL が設定されている
プロバイダー エッジ(PE)ルータにアクセス コントロール リスト(ACL)が設定されています。ACL は、この PE からリモート PE への VPN Routing/Forwarding instance(VRF; VPN ルーティング/転送インスタンス)ping が失敗する原因となります。ただしシスコでは、ACL の使用状況を確認するための分析は行っていません。ACL が原因で、PE からローカル カスタマー エッジ(CE)ルータまたはカスタマー デバイスへの接続に障害が発生することはありません。
BGP ネイバー セッションの問題
ボーダー ゲートウェイ プロトコル(BGP)ネイバー セッションで問題が検出されました。[BGP Neighbor](ネイバー IP アドレス)および [BGP State](BGP ネイバーの状態)カラムがある表が表示されます。
BGP ルータ ID がループバック インターフェイスでない
PE のローカル BGP ルータ ID がループバック インターフェイスに割り当てられていません。重複の可能性を減らすため、および安定性を高めるために、ルータ ID はループバック インターフェイスから取得することを推奨します。
接続ルートが MP-BGP に再配布されていない
直接接続されたルートは、MP-BGP に再配布されない場合があります。
コアのトラブルシューティングを実行できない。VPN ルートが外部ルートである。
コアのトラブルシューティングを実行できませんでした。PE <PE Name> が VRF <VRF name> 内のリモート プレフィックス <IP address> への有効な VPN ルートを保持していないため、Diagnostics はテスト対象のラベルスイッチド パス(LSP)を特定できません。このルートは、内部のボーダー ゲートウェイ プロトコル(BGP)VPNv4 ネイバーからは特定できません。 <Routing Protocol Name> から判断できます。この外部ルートのネクスト ホップは <IP address> です。トラフィックは、予測どおりに MPLS コアを通過しません。これは意図的なバック ドア リンクの可能性もありますが、多くの場合、PE と CE 間のルーティングミスの症状を示しています。LSP 接続をテストするには、PE から PE コアへのテストを実行します。このテストでは、LSP エンドポイントを手動で指定できます。
コアのトラブルシューティングを実行できない。VPN ルートが外部ルートで、ネクスト ホップにアクセスできない。
コアのトラブルシューティングを実行できませんでした。PE <PE Name> が VRF <IP address> 内のリモート プレフィックス <IP address> への有効なバーチャル プライベート ネットワーク(VPN)ルートを保持していないため、Diagnostics はテスト対象の LSP を特定できません。このルートは、内部の BGP VPNv4 ネイバーからは特定できません。 <Routing Protocol Name> から判断できます。この外部ルートのネクスト ホップにはアクセスできません。これは意図的なバック ドア リンクの可能性もありますが、多くの場合、PE と CE 間のルーティングミスの症状を示しています。LSP 接続をテストするには、PE から PE コアへのテストを実行します。このテストでは、LSP エンドポイントを手動で指定できます。
コアのトラブルシューティングを実行できない。VPN ルートのネクスト ホップにアクセスできない。
コアのトラブルシューティングを実行できませんでした。PE <PE Name> が VRF <VRF name> 内のリモート プレフィックス <IP address> への有効な VPN ルートを保持していないため、Diagnostics はテスト対象の LSP を特定できません。ネクスト ホップにアクセスできません。原因として、コアの Interior Gateway Protocol(IGP)または IP 接続の障害が考えられます。LSP 接続をテストするには、PE から PE コアへのテストを実行します。このテストでは、LSP エンドポイントを手動で指定できます。
BGP ルータ ID の重複
リストされているデバイスの 1 つまたは複数のインターフェイス上で、PE の BGP ルータ ID が重複しています。
eBGP 最大プレフィックス
PE と eBGP ネイバー間の exterior Border Gateway Protocol(eBGP; 外部ボーダー ゲートウェイ プロトコル)セッションの最大プレフィックス数が PE に設定されています。このネイバーからの VRF には、現在 X 個のプレフィックスがあります。
eBGP ネイバーが確立されていない
PE と CE 間のルーティング プロトコルとして eBGP が実行されているようです。PE および CE インターフェイスは異なるサブネット上にあり、この PE には CE へのルートがありません。CE へのルートが確定するまで、この eBGP セッションは確立されません。
eBGP ネイバーが確立されていない
eBGP ネイバーは VRF 内で指定されていますが、確立されていないため到達不能です。
EIGRP ピア関係が確立されていない
PE インターフェイスは IP アンナンバードを使用して設定されています。Enhanced Interior Gateway Routing Protocol(EIGRP)でピア関係が確立されるには、CE インターフェイスも IP アンナンバードを使用するか、PE インターフェイスと同じサブネット上に存在する必要があります。
フルメッシュ VPN トポロジ
これらのルータは、フルメッシュ VPN コンフィギュレーションを使用して接続されているようです。これが正しくない場合、ルート ターゲット コンフィギュレーションに問題が生じます。
ハブ アンド スポーク VPN トポロジ
これらのルータは、ハブ アンド スポーク VPN コンフィギュレーションを使用して接続されているようです。これが正しくない場合、ルート ターゲット コンフィギュレーションに問題が生じます。
ハブ間およびハブ アンド スポーク VPN トポロジ
これらのルータは、ハブ間およびハブ アンド スポーク VPN コンフィギュレーションを使用して接続されているようです。これが正しくない場合、ルート ターゲット コンフィギュレーションに問題が生じます。
不完全な CEF 隣接
アクセス回線インターフェイス上の Cisco Express Forwarding(CEF; シスコ エクスプレス フォワーディング)隣接が不完全です。
不正なマルチリンク仮想アクセス インターフェイスが指定されている
PE にマルチリンク仮想アクセス回線インターフェイスを指定する場合は、指定する仮想アクセス インターフェイスがアクティブなマルチリンク バンドル インターフェイスであり、アクティブなバンドル リンクを保持していることを確認してください。
VLAN にインターフェイスがない
警告:イーサネット アクセス回線インターフェイスに仮想 LAN(VLAN)が関連付けられていません。
断続的な ping の成功
ping で断続的な接続のみが表示されました。
FR インターフェイスでインバース ARP がディセーブル
フレーム リレー インターフェイスは動的に設定されていますが、インバース アドレス解決プロトコル(ARP)が明示的にディセーブルになっています。
FR インターフェイスでインバース ARP が暗黙的にディセーブル
インターフェイス上にフレーム リレー スタティック マップがあります。このインターフェイスは動的に設定されますが、スタティック マップが存在するため、その副作用としてインバース ARP がディセーブルになります。
フレーム リレー インターフェイス上で LMI がディセーブル
警告:ローカル管理インターフェイス(LMI)がディセーブルになっているため、フレームリレー相手先固定接続(PVC)のステータスを確認できません。
LSP エンドポイントがループバック インターフェイスでない
VPNv4 ルートが IBGP ネイバーに送信されています。ただしネクスト ホップ アドレスは、直接接続された物理インターフェイスのうちの 1 つです。VPNv4 IBGP ネイバーのネクスト ホップにはループバック インターフェイスを使用することを推奨します。IGP 経由の正しいホップでこのアドレスを使用できない場合は、転送ラベル情報を入手できないので、VPN サイト間の接続は中断されます。
IOS XR ルータで MPLS OAM パッケージがイネーブルでない
IOS XR ルータで MPLS OAM パッケージがイネーブルになっていません。
IOS XR ルータで MPLS TE パッケージがイネーブルでない
IOS XR ルータで MPLS TE パッケージがイネーブルになっていません。
複数の等コスト パス
Equal Cost Multiple Path(ECMP; 等コスト マルチ パス)が検出されました。
PE ルータの IOS バージョンが不適合
プロバイダー エッジ(PE)ルータが MPLS OAM に適合しない Cisco IOS バージョンを実行しているため、コアのトラブルシューティングを実行できませんでした。
eBGP からルートを受信していない
PE と CE 間のルーティング プロトコルとして eBGP が実行されているようです。ただし、ネイバーからはルートを受信していません。
eBGP からリモート プレフィックスへのルートを受信していない
PE と CE 間のルーティング プロトコルとして eBGP が実行されているようです。ただし、ネイバーからはリモート プレフィックスへのルートを受信していません。PE とカスタマー エッジ(CE)の BGP コンフィギュレーションを確認してください。
VRF にプレフィックスの VPN ラベルがない
デバイスの VPN Routing/Forwarding(VRF; VPN ルーティング/転送)のアドレスに、バーチャル プライベート ネットワーク(VPN)ラベルが見つかりませんでした。
OSPF ピア関係が確立されていない
PE インターフェイスは IP アンナンバードを使用して設定されています。Open Shortest Path First(OSPF)でピア関係が確立されるには、CE インターフェイスも IP アンナンバードを使用するか、PE インターフェイスと同じサブネット上に存在する必要があります。
PE と PE コア間でテストのみが実行され、オプションのループバック IP アドレス パラメータが入力されていない
テストされた LSP は、リモート サイト PE の BGP ルータ ID に基づいて選択されました。2 つの PE 間に複数の LSP がある場合、報告された結果はカスタマー トラフィックに使用された LSP の状態を正確に反映していない可能性があります。正しい LSP をテストするには、テストの入力ウィンドウで LSP エンドポイントを入力します。
バックアップ リンクの可能性
PE から送信プレフィックスへの ping は成功しましたが、想定していた PE インターフェイスを介して PE から送信プレフィックスへのルートを特定できませんでした。バックアップ リンクが動作中であるか、間違ったパラメータを入力した可能性があります。
ブロッキング ルート マップの可能性
PE にルート マップが設定されており、ルート トラフィックが失われる原因になっています。内部/外部 VPN コンフィギュレーションの場合は、ルート マップ コンフィギュレーション エラーの可能性があります。
コア IP 障害の可能性
ローカル PE からリモート PE に発行されたインターネット制御メッセージ プロトコル(ICMP)ping が失敗しました。ローカル PE の Interior Gateway Protocol(IGP)ルート テーブルに、リモート PE へのルートがありません。これらのデバイス間の IP 接続をトラブルシューティングしてください。
イーサネット デュプレックスの不一致の可能性
警告:アクセス回線インターフェイスにレイト コリジョンが発生しました。原因として、イーサネット デュプレックスの不一致が考えられます。
ルート制限に到達
デバイスのルート数がルート制限に達しました。
traceroute が送信されない
MPLS traceroute が送信されませんでした。
この章では、Cisco Prime Provisioning 6.3 リリースの Diagnostics アプリケーションでのトラブルシューティング ワークフローで実行される IOS および IOS XR コマンドの詳細を説明します。
IOS コマンド
この項では、Diagnostics で使用される IOS コマンドを示します。TACACS+(またはその他の認証/認可システム)を使用する場合は、これらすべてのコマンドが Diagnostics に対して許可されていることを確認してください。
(注) このリストは、Diagnostics リリースまたはパッチが入手可能になると更新されます。最新のリストについては、mpls-diagnostics-expert@cisco.com まで E メールでお問い合わせください。
1.
attach <slot> show version
2.
execute-on slot <slot> 'show mpls forwarding-table <destinationPrefix> <subnetMask> '
3.
execute-on slot <slot> 'show mpls forwarding-table <destinationPrefix> '
4.
execute-on slot <slot> 'show mpls forwarding-table vrf <vrfName> <destinationPrefix> <subnetMask> '
5.
execute-on slot <slot> 'show mpls forwarding-table vrf <vrfName> <destinationPrefix>'
6.
execute-on slot <slot> 'show mpls forwarding-table vrf <vrfName> '
7.
execute-on slot <slot> 'show mpls forwarding-table'
8.
execute-on slot <slot> show ip cef vrf <vrfName> <networkPrefix>
9.
execute-on slot <slot> show ip cef vrf <vrfName> <networkPrefix> <subnetMask>
10.
execute-on slot <slot> show version
11.
ping(対話型)
12.
ping <targetIp>
13.
ping mpls ipv4 <targetIp> / <targetIpSubnetMask> source <source> sweep <minSweepSize> <maxSweepSize> <sweepInterval> <repeatCount> timeout <timeout> replyMode <replyMode>
14.
ping mpls traffic-eng Tunnel <tunnelNumber>
15.
ping vrf <vrfName> (対話型)
16.
show access-lists <listName>
17.
show atm map
18.
show atm pvc <interface>
19.
show cef drop
20.
show cef drop | include ^ <slot>
21.
show frame-relay lmi
22.
show frame-relay lmi interface <interface>
23.
show frame-relay map
24.
show frame-relay pvc <interface> dlci <dlci>
25.
show interfaces <interface>
26.
show ip bgp summary
27.
show ip bgp vpnv4 <vrfName> rib-failure
28.
show ip bgp vpnv4 all neighbors
29.
show ip bgp vpnv4 all neighbors <destIp>
30.
show ip bgp vpnv4 all | include local router
31.
show ip bgp vpnv4 vrf <vrfName> <networkPrefix>
32.
show ip bgp vpnv4 vrf <vrfName> neighbors <destIp>
33.
show ip bgp vpnv4 vrf <vrfName> <prefix> <subnetMask>
34.
show ip bgp vpnv4 vrf <vrfName> labels | include <networkPrefix> / <subnetMask> | [0-9]+\.[0-9]+\.[0-9]+\.[0-9]+
35.
show ip bgp vpnv4 vrf <vrfName> labels | include <classfulPrefix>
36.
show ip bgp vpnv4 vrf <vrfName> labels | include <networkPrefix> / <subnetMask>
37.
show ip cef <destinationPrefix>
38.
show ip cef summary
39.
show ip cef vrf <vrfName> <networkPrefix> <subnetMask> detail
40.
show ip cef vrf <vrfName> <networkPrefix> detail
41.
show ip cef vrf <vrfName> adjacency <interface> <destip> detail
42.
show ip eigrp <vrfName> interfaces <vrfInterface>
43.
show ip interface <interface>
44.
show ip interface <interface> | include access list is
45.
show ip interface brief <interface>
46.
show ip interface brief | include <ip-address>
47.
show ip ospf <processId> <area> interface <intName>
48.
show ip ospf mpls traffic-eng link
49.
show ip protocols <vrfName>
50.
show ip route <targetIp>
51.
show ip route vrf <vrfName> <targetIp>
52.
show ip traffic
53.
show ip vrf detail <vrfName>
54.
show ip vrf interfaces <vrfName>
55.
show mpls forwarding-table <destinationPrefix>
56.
show mpls forwarding-table <destinationPrefix> <subnetMask>
57.
show mpls forwarding-table <destinationPrefix> detail
58.
show mpls forwarding-table labels <label>
59.
show mpls forwarding-table labels <label> detail
60.
show mpls forwarding-table vrf <vrfName>
61.
show mpls forwarding-table vrf <vrfName> <destinationPrefix>
62.
show mpls forwarding-table
63.
show mpls interfaces <interface>
64.
show mpls interfaces all
65.
show mpls ip binding <destinationPrefix> <destinationMask>
66.
show mpls ip binding local
67.
show mpls ip binding summary
68.
show mpls label range
69.
show mpls ldp bindings <ip> <subnetMask>
70.
show mpls ldp bindings neighbor <neighbor ip> <subnetMask>
71.
show mpls ldp discovery
72.
show mpls ldp neighbor
73.
show mpls ldp neighbor <interface>
74.
show mpls traffic-eng tunnels
75.
show mpls traffic-eng tunnels <status>
76.
show mpls traffic-eng tunnels <tunnelId>
77.
show mpls traffic-eng tunnels destination <destination> <status>
78.
show mpls traffic-eng tunnels destination <destination>
79.
show mpls traffic-eng tunnels role <role>
80.
show mpls traffic-eng tunnels role <role> <status>
81.
show mpls traffic-eng tunnels role <role> destination <destination> <status>
82.
show mpls traffic-eng tunnels role <role> destination <destination> up
83.
show mpls traffic-eng tunnels role head brief
84.
show ppp multilink interface <interface>
85.
show route-map <mapName>
86.
show running-config
87.
show running-config interface <interface>
88.
show running-config interface <interface> | include frame-relay interface-dlci
89.
show running-config interface <interface> | include map-group
90.
show running-config interface <interface> | include no frame-relay inverse-arp
91.
show running-config | begin router bgp
92.
show running-config | include advertise-
93.
show running-config | include ldp password
94.
show running-config | include mpls label protocol
95.
show running-config | include no
96.
show version
97.
show vlans
98.
traceroute mpls ipv4 <ipAddress> / <subnetMask> source <source> destination <destination> ttl 15
99.
traceroute mpls traffic-eng Tunnel <tunnelNumber>
100.
traceroute vrf <vrfName> (対話型)
IOS XR コマンド
この項では、Diagnostics で使用される IOS XR コマンドを示します。TACACS+(またはその他の認証/認可システム)を使用する場合は、これらすべてのコマンドが Diagnostics に対して許可されていることを確認してください。
(注) このリストは、Diagnostics リリースまたはパッチが入手可能になると更新されます。最新のリストについては、mpls-diagnostics-expert@cisco.com まで E メールでお問い合わせください。
1.
ping <targetIp>
2.
ping atm interface <interface> <vpi> / <vci>
3.
ping atm interface <interface> <vpi> / <vci> end-loopback
4.
ping atm interface <interface> <vpi> / <vci> seg-loopback
5.
ping mpls ipv4 <destination> / <subnetMask>
6.
ping mpls ipv4 <destination> / <subnetMask> reply mode router-alert
7.
ping mpls ipv4 <destination> / <subnetMask> source <source>
8.
ping mpls traffic-eng Tunnel <tunnelId>
9.
ping vrf <vrfName>
10.
ping vrf <vrfName> <targetIp> <sourceInterface> <minSweepSize> <maxSweepSize> <sweepInterval>
11.
show access-lists ipv4 <listName>
12.
show bgp ipv4 all summary
13.
show bgp vpnv4 unicast neighbors
14.
show bgp vpnv4 unicast summary
15.
14. show bgp vpnv4 unicast vrf <vrfName> <networkPrefix>
16.
show bgp vpnv4 unicast vrf <vrfName> <prefix> <mask>
17.
show bgp vpnv4 unicast vrf <vrfName> labels
18.
show bgp vrf <vrfName> advertised neighbor <neighboreId> summary | include <ceDeviceIpAddr>
19.
show bgp vrf <vrfName> ipv4 unicast
20.
show bgp vrf <vrfName> neighbors
21.
show bgp vrf <vrfName> vpnv4 unicast neighbors
22.
show cef ipv4 <destinationPrefix>
23.
show cef ipv4 drops
24.
show cef ipv4 drops location <slot>
25.
show cef ipv4 summary
26.
show cef vrf <vrfName> ipv4 <networkPrefix> detail
27.
show cef vrf <vrfName> ipv4 <networkPrefix> <subnetMask> detail
28.
show cef vrf <vrfName> <networkPrefix> <subnetMask> location <location>
29.
show eigrp <vrfName> interfaces <vrfInterface>
30.
show frame-relay lmi
31.
show frame-relay lmi interface <interface>
32.
show install active summary
33.
show install inactive summary
34.
show install location <slot>
35.
show interfaces <interface>
36.
show ip cef vrf <vrfName> adjacency <interface> <destip> detail
37.
show ip ospf <processId> <area> interface <intName>
38.
show ipv4 interface <interface>
39.
show ipv4 interface brief <interface>
40.
show ipv4 interface brief | include <ip-address>
41.
show ipv4 traffic
42.
show ipv4 vrf <vrfName> interface brief
43.
show ipv4 vrf <vrfName> interface <interface>
44.
show ipv4 vrf all interface brief
45.
show mpls forwarding
46.
show mpls forwarding labels <label>
47.
show mpls forwarding prefix <destinationPrefix> / <subnetMask>
48.
show mpls forwarding prefix <destinationPrefix> / <subnetMask> detail
49.
show mpls forwarding vrf <vrf>
50.
show mpls forwarding vrf <vrf> prefix <destinationPrefix> / <subnetMask>
51.
show mpls forwarding vrf <vrfName> prefix <destinationPrefix> / <subnetMask> labels <label> location <location>
52.
show mpls forwarding vrf <vrfName> prefix <destinationPrefix> / <subnetMask> location <location>
53.
show mpls interfaces
54.
show mpls interfaces <interface>
55.
show mpls label range
56.
show mpls label table summary
57.
show mpls ldp bindings <ip> <mask>
58.
show mpls ldp bindings neighbor <neighbor> <ip> <mask>
59.
show mpls ldp discovery
60.
show mpls ldp neighbor
61.
show mpls ldp neighbor <interface>
62.
show mpls traffic-eng tunnels
63.
show mpls traffic-eng tunnels backup < tunnelId>
64.
show mpls traffic-eng tunnels brief role head
65.
show mpls traffic-eng tunnels <status> detail
66.
show mpls traffic-eng tunnels <tunnel-id>
67.
show mpls traffic-eng tunnels <tunnelNumber> detail
68.
show mpls traffic-eng tunnels destination <destination>
69.
show mpls traffic-eng tunnels name <name>
70.
show mpls traffic-eng tunnels destination <destination> <status> detail
71.
show mpls traffic-eng tunnels destination <destination> detail
72.
show mpls traffic-eng tunnels detail
73.
show mpls traffic-eng tunnels role <role> <status> detail
74.
show mpls traffic-eng tunnels role <role> destination <destination> <status> detail
75.
show mpls traffic-eng tunnels role <role> destination <destination> up detail
76.
show mpls traffic-eng tunnels role <role> detail
77.
show ospf
78.
show ospf vrf <vrf>
79.
show ospf border-routers | include ABR
80.
show ospf | include ID
81.
show ospf mpls traffic-eng link
82.
show ospf vrf <vrfName> interface brief
83.
show ospf vrf <vrfName> interface <interfaceName>
84.
show protocols | include OSPF
85.
show rib ipv4 tables
86.
show rib vrf <vrf> ipv4 unicast statistics <protocolName>
87.
show rib vrf <vrf> protocols
88.
show rip vrf <vrf>
89.
show route ipv4 <targetIp>
90.
show route vrf <vrfName> ipv4 <targetIp>
91.
show rpl route-policy <mapName>
92.
show rsvp neighbors
93.
show running-config
94.
show running-config explicit-path name <explicitPathName>
95.
show running-config interface <interface>
96.
show running-config mpls ldp
97.
show running-config mpls ldp label advertise
98.
show running-config mpls traffic-eng
99.
show running-config router bgp
100.
show running-config router bgp <asNumber> vrf <vrfName> neighbor <neighborIpAddr>
101.
show running-config router bgp <asNumber> neighbor-group <neighborGroupName>
102.
show running-config router bgp | include redistribute <protocol>
103.
show running-config router ospf
104.
show running-config router <protocol ID> vrf <vrf>
105.
show running-config rsvp interface <interface-name>
106.
show vlan interface
107.
show version
108.
show vrf <vrfName> ipv4 detail
109.
traceroute mpls ipv4 <destination> / <subnetMask>
110.
traceroute mpls traffic-eng Tunnel <tunnelId>
111.
traceroute vrf <vrf>
112.
ping vrf <vrfName> <targetIpv6Address> <sourceInterface> <minSweepSize> <maxSweepSize> <sweepInterval>
113.
show bgp vpnv6 unicast neighbors
114.
show bgp vpnv6 unicast neighbors <destIp>
115.
show bgp vpnv6 unicast vrf <vrfName> <networkPrefix>
116.
show bgp vpnv6 unicast vrf <vrfName> <networkPrefix>/<subnetMask>
117.
show bgp vpnv6 unicast vrf <vrfName> labels | include <networkPrefix>/<subnetMask> | [0-9A-Fa-f:]+[0-9A-Fa-f]*
118.
show bgp vpnv6 unicast summary | include BGP router identifier
119.
show bgp vrf <vrfName> ipv6 unicast
120.
show bgp vrf <vrfName> ipv6 unicast advertised neighbor <neighborId> summary | include <ceDeviceIpAddr>
121.
show cef ipv6 summary
122.
show cef vrf <vrfName> ipv6 <networkPrefix> detail
123.
show cef vrf <vrfName> ipv6 <networkPrefix>/<subnetMask> detail
124.
show cef vrf <vrfName> ipv6 <networkPrefix> location <location>
125.
show cef vrf <vrfName> ipv6 <networkPrefix>/<subnetMask> location <location>
126.
show ipv6 interface <interface>
127.
show ipv6 interface brief <interface>
128.
show ipv6 vrf all interface brief
129.
show ipv6 vrf <vrfName> interface brief
130.
show ipv6 vrf <vrfName> interface <interface>
131.
show rib ipv6 tables
132.
show route ipv6 <targetIp>
133.
show route vrf <vrfName> ipv6 <targetIp>
134.
show vrf <vrfName> ipv6 detail