本產品的文件集力求使用無偏見用語。針對本文件集的目的,無偏見係定義為未根據年齡、身心障礙、性別、種族身分、民族身分、性別傾向、社會經濟地位及交織性表示歧視的用語。由於本產品軟體使用者介面中硬式編碼的語言、根據 RFP 文件使用的語言,或引用第三方產品的語言,因此本文件中可能會出現例外狀況。深入瞭解思科如何使用包容性用語。
思科已使用電腦和人工技術翻譯本文件,讓全世界的使用者能夠以自己的語言理解支援內容。請注意,即使是最佳機器翻譯,也不如專業譯者翻譯的內容準確。Cisco Systems, Inc. 對這些翻譯的準確度概不負責,並建議一律查看原始英文文件(提供連結)。
本檔案將說明一些資訊,以協助排解Nexus 2232主機介面(HIF)連線埠上的傳輸(TX)暫停問題。它側重於主機到網路(H2N)方向的流量(從伺服器到網路、從南到北的流量)。 它不包括與網路到主機(N2H)流量流相關的方案。
本文檔主要針對Nexus 2232交換矩陣擴展器(FEX)編寫,但該概念適用於B22和2248UPQ FEX。
思科建議您瞭解以下主題
本文中的資訊係根據以下軟體和硬體版本:
本文中的資訊是根據特定實驗室環境內的裝置所建立。文中使用到的所有裝置皆從已清除(預設)的組態來啟動。如果您的網路正在作用,請確保您已瞭解任何指令可能造成的影響。
Nexus 2232具有32個1/10G面向主機(HIF)埠和8個10G面向網路(NIF)埠。
深入瞭解TX暫停問題之前,您需要瞭解FEX介面上的可用緩衝區。可以通過父交換機上的以下命令檢查分配給介面/qos-group的緩衝區:
esc-6001# show queuing interface ethernet 147/1/1
if_slot 79, ifidx 0x1f920000
Ethernet147/1/1 queuing information:
Input buffer allocation:
Qos-group: 0
frh: 8
drop-type: drop
cos: 0 1 2 3 4 5 6
xon xoff buffer-size
---------+---------+-----------
0 126720 151040
<snip>
如所示,對於丟棄類流量(qos-group 0),使用預設服務品質(QoS)時,FEX HIF有151040位元組用於緩衝H2N流量,而XOFF閾值為126720位元組。
Nexus 2232超訂用至8:1。為了避免由於超訂用和緩衝區溢位導致H2N方向的資料包丟棄,Nexus 2232預設啟用HIF流量控制傳送:
esc-6001# show run int ethernet 147/1/1 all | inc flow
priority-flow-control mode auto
flowcontrol receive off
flowcontrol send on
esc-6001# show interface ethernet 147/1/1 flowcontrol
--------------------------------------------------------------------------------
Port Send FlowControl Receive FlowControl RxPause TxPause
admin oper admin oper
--------------------------------------------------------------------------------
Eth147/1/1 on on off off 0 0
當達到126720位元組的XOFF閾值時,Nexus 2232會向HIF上的主機傳送TX暫停。常見原因包括:
1.進入FEX的H2N流量非常繁忙,導致入口緩衝區滿滿並達到XOFF閾值。
2.大多數FEX部署使用埠通道來聚合多個NIF。由於入口緩衝區也出現TX暫停,而由於FEX上的EtherChannel雜湊衝突而導致入口緩衝區已滿。當多個HIF埠由於EtherChannel結果而嘗試從單個NIF輸出時,會發生這種情況。
H2N方向的丟包
為了避免丟包,一旦達到XOFF閾值,就會傳送TX暫停。但是,在以下情況下,可以看到H2N流量丟棄:
1.伺服器不會支援暫停,
2.延遲以暫停導致151KB丟棄閾值命中。

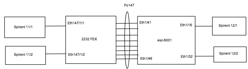
對於實驗室中的此測試,有四個10G螺旋埠用作主機,兩個在FEX上,兩個在父Nexus 6001上。所有埠都位於VLAN 50中。FEX或父級上沒有其他埠處於活動狀態:
esc-6001# show port-channel summary
Flags: D - Down P - Up in port-channel (members)
I - Individual H - Hot-standby (LACP only)
s - Suspended r - Module-removed
S - Switched R - Routed
U - Up (port-channel)
M - Not in use. Min-links not met
--------------------------------------------------------------------------------
Group Port- Type Protocol Member Ports
Channel
--------------------------------------------------------------------------------
147 Po147(SU) Eth NONE Eth1/41(P) Eth1/42(P) Eth1/43(P)
Eth1/44(P) Eth1/45(P) Eth1/46(P)
Eth1/47(P) Eth1/48(P)
esc-6001# show fex 147 detail | exc Down
FEX: 147 Description: FEX0147 state: Online
FEX version: 7.1(1)N1(1) [Switch version: 7.1(1)N1(1)]
FEX Interim version: 7.1(1)N1(1)
Switch Interim version: 7.1(1)N1(1)
Extender Serial: FOT1635R003
Extender Model: N2K-C2232PP-10GE, Part No: 73-12533-05
Card Id: 82, Mac Addr: 20:3a:07:34:5b:02, Num Macs: 64
Module Sw Gen: 21 [Switch Sw Gen: 21]
post level: complete
Pinning-mode: static Max-links: 1
Fabric port for control traffic: Eth1/47
FCoE Admin: false
FCoE Oper: true
FCoE FEX AA Configured: false
Fabric interface state:
Po147 - Interface Up. State: Active
Eth1/41 - Interface Up. State: Active
Eth1/42 - Interface Up. State: Active
Eth1/43 - Interface Up. State: Active
Eth1/44 - Interface Up. State: Active
Eth1/45 - Interface Up. State: Active
Eth1/46 - Interface Up. State: Active
Eth1/47 - Interface Up. State: Active
Eth1/48 - Interface Up. State: Active
Fex Port State Fabric Port
Eth147/1/1 Up Po147
Eth147/1/9 Up Po147
Logs:
04/21/2015 21:58:30.162193: Module register received
04/21/2015 21:58:30.164611: Registration response sent
04/21/2015 21:58:30.196708: create module inserted event.
04/21/2015 21:58:30.197425: Module Online Sequence
04/21/2015 21:58:35.051474: Module Online
當您從Eth147/1/1(到Eth1/16)和Eth147/1/9(do Eth1/32)上的主機傳送100K 1500位元組的線路速率單播突發時。 每個流都是一個流。已在主機(Spirent)上禁用流量控制。
結果:接收器埠報告每個流丟棄了約563個資料包。由於主機上已禁用流控制,因此您可以看到更多的TX暫停和高延遲(約100微秒):
esc-6001# clear counters ; clear qos stat
esc-6001#
esc-6001# show interface ethernet 147/1/1, ethernet 147/1/9 | egrep Ethernet147|pause|unicast
Ethernet147/1/1 is up
100000 unicast packets 0 multicast packets 0 broadcast packets
0 Rx pause
0 unicast packets 578269 multicast packets 0 broadcast packets
578267 Tx pause
Ethernet147/1/9 is up
100000 unicast packets 0 multicast packets 0 broadcast packets
0 Rx pause
0 unicast packets 578275 multicast packets 0 broadcast packets
578273 Tx pause
esc-6001# show interface ethernet 147/1/1, eth147/1/9 flowcontrol
--------------------------------------------------------------------------------
Port Send FlowControl Receive FlowControl RxPause TxPause
admin oper admin oper
--------------------------------------------------------------------------------
Eth147/1/1 on on off off 0 578267
Eth147/1/9 on on off off 0 578273
接收方報告的丟棄實際上丟棄在FEX本身。有內部硬體命令可以顯示丟包,但這要求您完全瞭解FEX內部體系結構,該體系結構不屬於本文檔的範圍。如果您需要檢查這些計數器,請與TAC接洽,瞭解故障排除的此方面。
當您傳送單流100K 1500位元組線速單播突發時,從Eth147/1/1(到Eth1/16)和Eth147/1/9(do Eth1/32)上的主機發起。 每個流都是一個流。已在主機(Spirent)上啟用流量控制。
結果:
接收器埠報告無丟失。最小TX暫停和平均延遲約為19微秒:
esc-6001# clear counters ; clear qos stat
esc-6001# show interface ethernet 147/1/1, ethernet 147/1/9 | egrep Ethernet147|pause|unicast
Ethernet147/1/1 is up
100000 unicast packets 0 multicast packets 0 broadcast packets
0 Rx pause
0 unicast packets 4743 multicast packets 0 broadcast packets
4739 Tx pause
Ethernet147/1/9 is up
100000 unicast packets 0 multicast packets 0 broadcast packets
0 Rx pause
0 unicast packets 4703 multicast packets 0 broadcast packets
4700 Tx pause
esc-6001# show interface ethernet 147/1/1, eth147/1/9 flowcontrol
--------------------------------------------------------------------------------
Port Send FlowControl Receive FlowControl RxPause TxPause
admin oper admin oper
--------------------------------------------------------------------------------
Eth147/1/1 on on off off 0 4739
Eth147/1/9 on on off off 0 4700
Drops:
沒有丟包,因為主機接受從FEX傳送的流量控制。
FEX和父交換機之間的上行鏈路是埠通道。雖然這取決於選取的埠通道中的哪個成員以及它有多忙,但在FEX HIF上可看到TX暫停。在本實驗中,FEX上只有兩個埠處於活動狀態,埠通道中使用的所有8個上行鏈路都處於活動狀態。
但是在本測試中,使用預設雜湊時,來自乙太網147/1/1和乙太網147/1/9上的主機的流量會雜湊到連線到6001上的Eth1/41的NIF0。如果從主機傳送98%的線路速率流量,則會在兩個HIF上傳送TX暫停。
對於此測試,已在主機上禁用流量控制:
esc-6001# show interface ethernet 147/1/1, ethernet 147/1/9 | inc Ethernet14|rate|pause
Ethernet147/1/1 is up
30 seconds input rate 9836009128 bits/sec, 819667 packets/sec
30 seconds output rate 2516922296 bits/sec, 4915863 packets/sec
input rate 9.84 Gbps, 819.67 Kpps; output rate 2.52 Gbps, 4.91 Mpps
0 Rx pause
98376923 Tx pause
Ethernet147/1/9 is up
30 seconds input rate 9836252112 bits/sec, 819687 packets/sec
30 seconds output rate 2516980960 bits/sec, 4915978 packets/sec
input rate 9.84 Gbps, 819.69 Kpps; output rate 2.52 Gbps, 4.91 Mpps
0 Rx pause
98376916 Tx pause
esc-6001# show port-channel traffic interface port-channel 147
ChanId Port Rx-Ucst Tx-Ucst Rx-Mcst Tx-Mcst Rx-Bcst Tx-Bcst
------ --------- ------- ------- ------- ------- ------- -------
147 Eth1/41 99.99% 0.0% 12.50% 12.50% 0.0% 0.0%
147 Eth1/42 0.0% 0.0% 12.50% 12.50% 0.0% 0.0%
147 Eth1/43 0.0% 0.0% 12.50% 12.50% 0.0% 0.0%
147 Eth1/44 0.0% 0.0% 12.50% 12.50% 0.0% 0.0%
147 Eth1/45 0.0% 0.0% 12.50% 12.50% 0.0% 0.0%
147 Eth1/46 0.0% 0.0% 12.50% 12.50% 0.0% 0.0%
147 Eth1/47 0.00% 99.00% 12.50% 12.50% 0.0% 0.0%
147 Eth1/48 0.0% 1.00% 12.50% 12.50% 0.0% 0.0%
esc-6001# attach fex 147
Attaching to FEX 147 ...
To exit type 'exit', to abort type '$.'
fex-147# dbgexec w
woo> rate
+--------++------------+-----------+------------++------------+-----------+------------+-------+-------+---+
| Port || Tx Packets | Tx Rate | Tx Bit || Rx Packets | Rx Rate | Rx Bit |Avg Pkt|Avg Pkt| |
| || | (pkts/s) | Rate || | (pkts/s) | Rate | (Tx) | (Rx) |Err|
+--------++------------+-----------+------------++------------+-----------+------------+-------+-------+---+
| 0-NI8 || 24 | 4 | 11.23Kbps || 22 | 4 | 16.49Kbps | 272 | 448 | |
| 0-NI7 || 15 | 3 | 4.17Kbps || 17 | 3 | 3.81Kbps | 154 | 120 | |
| 0-NI6 || 1 | 0 | 1.76Kbps || 1 | 0 | 1.08Kbps | 1080 | 656 | |
| 0-NI5 || 1 | 0 | 1.76Kbps || 1 | 0 | 1.08Kbps | 1080 | 656 | |
| 0-NI4 || 1 | 0 | 1.76Kbps || 1 | 0 | 1.08Kbps | 1080 | 656 | |
| 0-NI3 || 1 | 0 | 1.76Kbps || 1 | 0 | 1.08Kbps | 1080 | 656 | |
| 0-NI2 || 1 | 0 | 1.76Kbps || 1 | 0 | 1.08Kbps | 1080 | 656 | |
| 0-NI1 || 1 | 0 | 1.76Kbps || 1 | 0 | 1.08Kbps | 1080 | 656 | |
| 0-NI0 || 4108297 | 821659 | 10.05Gbps || 1 | 0 | 1.08Kbps | 1509 | 656 | |
| 0-HI31 || 1 | 0 | 2.28Kbps || 1 | 0 | 2.28Kbps | 1412 | 1412 | |
| 0-HI30 || 1 | 0 | 2.28Kbps || 1 | 0 | 2.28Kbps | 1412 | 1412 | |
| 0-HI29 || 1 | 0 | 2.28Kbps || 1 | 0 | 2.28Kbps | 1412 | 1412 | |
| 0-HI28 || 1 | 0 | 2.28Kbps || 1 | 0 | 2.28Kbps | 1412 | 1412 | |
| 0-HI27 || 1 | 0 | 2.28Kbps || 1 | 0 | 2.28Kbps | 1412 | 1412 | |
| 0-HI26 || 1 | 0 | 2.28Kbps || 1 | 0 | 2.28Kbps | 1412 | 1412 | |
| 0-HI25 || 1 | 0 | 2.28Kbps || 1 | 0 | 2.28Kbps | 1412 | 1412 | |
| 0-HI24 || 1 | 0 | 2.28Kbps || 1 | 0 | 2.28Kbps | 1412 | 1412 | |
| 0-HI23 || 1 | 0 | 2.28Kbps || 1 | 0 | 2.28Kbps | 1412 | 1412 | |
| 0-HI22 || 1 | 0 | 2.28Kbps || 1 | 0 | 2.28Kbps | 1412 | 1412 | |
| 0-HI21 || 1 | 0 | 2.28Kbps || 1 | 0 | 2.28Kbps | 1412 | 1412 | |
| 0-HI20 || 1 | 0 | 2.28Kbps || 1 | 0 | 2.28Kbps | 1412 | 1412 | |
| 0-HI19 || 1 | 0 | 2.28Kbps || 1 | 0 | 2.28Kbps | 1412 | 1412 | |
| 0-HI18 || 1 | 0 | 2.28Kbps || 1 | 0 | 2.28Kbps | 1412 | 1412 | |
| 0-HI17 || 1 | 0 | 2.28Kbps || 1 | 0 | 2.28Kbps | 1412 | 1412 | |
| 0-HI16 || 1 | 0 | 2.28Kbps || 1 | 0 | 2.28Kbps | 1412 | 1412 | |
| 0-HI14 || 1 | 0 | 2.28Kbps || 1 | 0 | 2.28Kbps | 1412 | 1412 | |
| 0-HI13 || 1 | 0 | 2.28Kbps || 1 | 0 | 2.28Kbps | 1412 | 1412 | |
| 0-HI12 || 1 | 0 | 2.28Kbps || 1 | 0 | 2.28Kbps | 1412 | 1412 | |
| 0-HI11 || 1 | 0 | 2.28Kbps || 1 | 0 | 2.28Kbps | 1412 | 1412 | |
| 0-HI10 || 1 | 0 | 2.28Kbps || 1 | 0 | 2.28Kbps | 1412 | 1412 | |
| 0-HI9 || 1 | 0 | 2.28Kbps || 1 | 0 | 2.28Kbps | 1412 | 1412 | |
| 0-HI8 || 24556087 | 4911217 | 3.30Gbps || 4094470 | 818894 | 9.95Gbps | 64 | 1500 | |
| 0-HI6 || 1 | 0 | 2.28Kbps || 1 | 0 | 2.28Kbps | 1412 | 1412 | |
| 0-HI5 || 1 | 0 | 2.28Kbps || 1 | 0 | 2.28Kbps | 1412 | 1412 | |
| 0-HI4 || 1 | 0 | 2.28Kbps || 1 | 0 | 2.28Kbps | 1412 | 1412 | |
| 0-HI3 || 1 | 0 | 2.28Kbps || 1 | 0 | 2.28Kbps | 1412 | 1412 | |
| 0-HI2 || 1 | 0 | 2.28Kbps || 1 | 0 | 2.28Kbps | 1412 | 1412 | |
| 0-HI1 || 1 | 0 | 2.28Kbps || 1 | 0 | 2.28Kbps | 1412 | 1412 | |
| 0-HI0 || 24560241 | 4912048 | 3.30Gbps || 4095156 | 819031 | 9.95Gbps | 64 | 1500 | |
+--------++------------+-----------+------------++------------+-----------+------------+-------+-------+---+
Drops:
由於主機未配置流量控制,因此存在丟包。
在主機上啟用流量控制後,主機將執行暫停和限制後退:
esc-6001# clear counters ; clear qos stat
esc-6001#
esc-6001# show interface ethernet 147/1/1, ethernet 147/1/9 | inc Ethernet14|rate|pause
Ethernet147/1/1 is up
30 seconds input rate 4926871976 bits/sec, 410572 packets/sec
30 seconds output rate 1288637816 bits/sec, 2516870 packets/sec
input rate 4.93 Gbps, 410.57 Kpps; output rate 1.29 Gbps, 2.52 Mpps
0 Rx pause
88129183 Tx pause
Ethernet147/1/9 is up
30 seconds input rate 4924820632 bits/sec, 410401 packets/sec
30 seconds output rate 1287225224 bits/sec, 2514111 packets/sec
input rate 4.92 Gbps, 410.40 Kpps; output rate 1.29 Gbps, 2.51 Mpps
0 Rx pause
88069874 Tx pause
esc-6001# show port-channel traffic interface port-channel 147
ChanId Port Rx-Ucst Tx-Ucst Rx-Mcst Tx-Mcst Rx-Bcst Tx-Bcst
------ --------- ------- ------- ------- ------- ------- -------
147 Eth1/41 99.99% 0.0% 12.50% 12.50% 0.0% 0.0%
147 Eth1/42 0.0% 0.0% 12.50% 12.50% 0.0% 0.0%
147 Eth1/43 0.0% 0.0% 12.50% 12.50% 0.0% 0.0%
147 Eth1/44 0.0% 0.0% 12.50% 12.50% 0.0% 0.0%
147 Eth1/45 0.0% 0.0% 12.50% 12.50% 0.0% 0.0%
147 Eth1/46 0.0% 0.0% 12.50% 12.50% 0.0% 0.0%
147 Eth1/47 0.00% 99.00% 12.50% 12.50% 0.0% 0.0%
147 Eth1/48 0.0% 1.00% 12.50% 12.50% 0.0% 0.0%
esc-6001# attach fex 147
Attaching to FEX 147 ...
To exit type 'exit', to abort type '$.'
fex-147# dbgexec w
woo> rate
+--------++------------+-----------+------------++------------+-----------+------------+-------+-------+---+
| Port || Tx Packets | Tx Rate | Tx Bit || Rx Packets | Rx Rate | Rx Bit |Avg Pkt|Avg Pkt| |
| || | (pkts/s) | Rate || | (pkts/s) | Rate | (Tx) | (Rx) |Err|
+--------++------------+-----------+------------++------------+-----------+------------+-------+-------+---+
| 0-NI8 || 32 | 6 | 19.76Kbps || 19 | 3 | 16.01Kbps | 366 | 506 | |
| 0-NI7 || 13 | 2 | 3.85Kbps || 20 | 4 | 5.14Kbps | 165 | 140 | |
| 0-NI6 || 1 | 0 | 1.76Kbps || 2 | 0 | 2.16Kbps | 1080 | 656 | |
| 0-NI5 || 1 | 0 | 1.76Kbps || 2 | 0 | 2.16Kbps | 1080 | 656 | |
| 0-NI4 || 1 | 0 | 1.76Kbps || 2 | 0 | 2.16Kbps | 1080 | 656 | |
| 0-NI3 || 1 | 0 | 1.76Kbps || 2 | 0 | 2.16Kbps | 1080 | 656 | |
| 0-NI2 || 1 | 0 | 1.76Kbps || 2 | 0 | 2.16Kbps | 1080 | 656 | |
| 0-NI1 || 1 | 0 | 1.76Kbps || 2 | 0 | 2.16Kbps | 1080 | 656 | |
| 0-NI0 || 4105292 | 821058 | 10.04Gbps || 2 | 0 | 2.16Kbps | 1509 | 656 | |
| 0-HI31 || 1 | 0 | 2.28Kbps || 1 | 0 | 2.28Kbps | 1412 | 1412 | |
| 0-HI30 || 1 | 0 | 2.28Kbps || 1 | 0 | 2.28Kbps | 1412 | 1412 | |
| 0-HI29 || 1 | 0 | 2.28Kbps || 1 | 0 | 2.28Kbps | 1412 | 1412 | |
| 0-HI28 || 1 | 0 | 2.28Kbps || 1 | 0 | 2.28Kbps | 1412 | 1412 | |
| 0-HI27 || 1 | 0 | 2.28Kbps || 1 | 0 | 2.28Kbps | 1412 | 1412 | |
| 0-HI26 || 1 | 0 | 2.28Kbps || 1 | 0 | 2.28Kbps | 1412 | 1412 | |
| 0-HI25 || 1 | 0 | 2.28Kbps || 1 | 0 | 2.28Kbps | 1412 | 1412 | |
| 0-HI24 || 1 | 0 | 2.28Kbps || 1 | 0 | 2.28Kbps | 1412 | 1412 | |
| 0-HI23 || 1 | 0 | 2.28Kbps || 1 | 0 | 2.28Kbps | 1412 | 1412 | |
| 0-HI22 || 1 | 0 | 2.28Kbps || 1 | 0 | 2.28Kbps | 1412 | 1412 | |
| 0-HI21 || 1 | 0 | 2.28Kbps || 1 | 0 | 2.28Kbps | 1412 | 1412 | |
| 0-HI20 || 1 | 0 | 2.28Kbps || 1 | 0 | 2.28Kbps | 1412 | 1412 | |
| 0-HI19 || 1 | 0 | 2.28Kbps || 1 | 0 | 2.28Kbps | 1412 | 1412 | |
| 0-HI18 || 1 | 0 | 2.28Kbps || 1 | 0 | 2.28Kbps | 1412 | 1412 | |
| 0-HI17 || 1 | 0 | 2.28Kbps || 1 | 0 | 2.28Kbps | 1412 | 1412 | |
| 0-HI16 || 1 | 0 | 2.28Kbps || 1 | 0 | 2.28Kbps | 1412 | 1412 | |
| 0-HI14 || 1 | 0 | 2.28Kbps || 1 | 0 | 2.28Kbps | 1412 | 1412 | |
| 0-HI13 || 1 | 0 | 2.28Kbps || 1 | 0 | 2.28Kbps | 1412 | 1412 | |
| 0-HI12 || 1 | 0 | 2.28Kbps || 1 | 0 | 2.28Kbps | 1412 | 1412 | |
| 0-HI11 || 1 | 0 | 2.28Kbps || 1 | 0 | 2.28Kbps | 1412 | 1412 | |
| 0-HI10 || 1 | 0 | 2.28Kbps || 1 | 0 | 2.28Kbps | 1412 | 1412 | |
| 0-HI9 || 1 | 0 | 2.28Kbps || 1 | 0 | 2.28Kbps | 1412 | 1412 | |
| 0-HI8 || 12556848 | 2511369 | 1.68Gbps || 2049754 | 409950 | 4.98Gbps | 63 | 1500 | |
| 0-HI6 || 1 | 0 | 2.28Kbps || 1 | 0 | 2.28Kbps | 1412 | 1412 | |
| 0-HI5 || 1 | 0 | 2.28Kbps || 1 | 0 | 2.28Kbps | 1412 | 1412 | |
| 0-HI4 || 1 | 0 | 2.28Kbps || 1 | 0 | 2.28Kbps | 1412 | 1412 | |
| 0-HI3 || 1 | 0 | 2.28Kbps || 1 | 0 | 2.28Kbps | 1412 | 1412 | |
| 0-HI2 || 1 | 0 | 2.28Kbps || 1 | 0 | 2.28Kbps | 1412 | 1412 | |
| 0-HI1 || 1 | 0 | 2.28Kbps || 1 | 0 | 2.28Kbps | 1412 | 1412 | |
| 0-HI0 || 12573036 | 2514607 | 1.68Gbps || 2051092 | 410218 | 4.98Gbps | 64 | 1499 | |
+--------++------------+-----------+------------++------------+-----------+------------+-------+-------+---+
預設情況下,對於IP流量,FEX負載平衡基於源 — 目標MAC/IP。對於類似的問題,請更改雜湊演算法,以便通過交換矩陣埠通道更好地分配流量。如果看到負載不均衡,請使用此方法。此選項不是絕對的解決方案:
esc-6001# show port-channel load-balance
Port Channel Load-Balancing Configuration:
System: source-dest-ip
Port Channel Load-Balancing Addresses Used Per-Protocol:
Non-IP: source-dest-mac
IP: source-dest-ip source-dest-mac
Which hashing algorithm to choose depends on traffic profile. Here are the options available.
esc-6001# conf t
Enter configuration commands, one per line. End with CNTL/Z.
esc-6001(config)# port-channel load-balance ethernet ?
destination-ip Destination IP address
destination-mac Destination MAC address
destination-port Destination TCP/UDP port
source-dest-ip Source & Destination IP address (includes l2)
source-dest-ip-only Source & Destination IP addresses only
source-dest-mac Source & Destination MAC address
source-dest-port Source & Destination TCP/UDP port (includes l2 and l3)
source-dest-port-only Source & Destination TCP/UDP port only
source-ip Source IP address
source-mac Source MAC address
source-port Source TCP/UDP port
1. 2232/2248UPQ/B22 FEX中,TX暫停是避免封包捨棄的正常操作機制。
2. 2232/2248UPQ/B22 FEX與父交換機之間的上行鏈路數量最大化。為了能夠有更多的路徑通往網路,同時還有助於為N2H流量設定最大緩衝區。
3.如果FEX和父交換機之間的上行鏈路使用不均勻,則更改埠通道雜湊會有所幫助。
4.由於FEX上沒有本地交換,因此應避免在FEX上的主機上設定東 — 西流量配置檔案。
5.避免NAS裝置、FEX上的刀片機箱等突發裝置。這些必須發生在父母身上。
6.更新的2348UPQ FEX具有32M共用緩衝區,每個HIF有1MB共用緩衝區,用於提高H2N流量突發吸收能力。此外,使用40G NIF上行鏈路時,雜湊衝突/上行鏈路擁塞的機率會大幅降低。
意見